题目列表(包括答案和解析)

 0  121881  121889  121895  121899  121905  121907  121911  121917  121919  121925  121931  121935  121937  121941  121947  121949  121955  121959  121961  121965  121967  121971  121973  121975  121976  121977  121979  121980  121981  121983  121985  121989  121991  121995  121997  122001  122007  122009  122015  122019  122021  122025  122031  122037  122039  122045  122049  122051  122057  122061  122067  122075  447348 

23.(16分)

 (1)设木板A的初速度为v0,由动量定理得

      I=mAv0

所以,木板A获得的初速度为   v0=3 m/s      (6分)

(2)设小物块B与木板A相对静止时的共同速度为v,根据动量守恒定律得

               mAv0=(mA+mB)v         (3分)

共同速度     =2.4 m/s       (2分)

对小物块B,由动能定理得

         mBgs=mBv2               (3分)

       s==1.2 m                  (2分)

小物块B从开始运动到相对木板A静止的过程中对地发生的位移为1.2 m。

试题详情

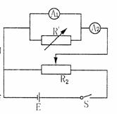
22.(18分)

(1)微波

(2)  A1表的示数I1,A2表的示数I2,R’的读数R1

    (要与上述物理量对应)

试题详情

31. (20分)以下是某校研究性学习小组的同学为探究青蛙的呼吸情况而设计的方案。下图是实验装置,用于测定正常青蛙和皮肤涂满油脂的青蛙在单位时间的耗氧量的改变。请把下述方案补充完整,并回答问题:

实验假设:

青蛙的呼吸包括肺呼吸和皮肤呼吸,正常青蛙在单位时间内(如3小时)的耗氧量应比只用肺呼吸时多。

实验步骤:

①将甲、乙、丙三只青蛙分别放入三套装置内(有足够的氧气)。

                                                       。(4分)

                                                       。(4分)

④将甲、乙、丙三只青蛙取出,全身涂满油脂,再分别放入三套装置内(有足够的氧气),重复以上实验步骤②③。

实验结果:

实验测得玻璃管内红墨水液面的刻度记录如下表:(单位:mm)

 
正常的青蛙
涂油脂的青蛙






实验开始时
22
23
19
16
18
20
实验终了时
81
63
98
52
56
66
液面上升
59
60
79
36
38
46

(1)实验装置里的NaOH溶液在本实验中起什么作用?(4分)

(2)本实验装置必须做好密封,为什么?(4分)

(3)该实验设计了三套装置,是遵循了            原则。(2分)

(4)根据实验测得玻璃管内红墨水液面的刻度记录结果,得出什么结论?(2分)

长沙市一中理科综合能力测试(六)答案

第I卷

第II卷

试题详情

30. I.(8分)Duchenne肌营养不良是由法国神经学家Duchenne在19世纪60年代发现的遗传病,患者多见于男孩,通常在20岁左右死于呼吸系统并发症。右图为某个家族此遗传病的系谱,请回答下列问题:

(1)用遗传图解的形式,解释Ⅱ-3患病的原因(用A和a的表示相应的基因)                               。(4分)

(2)Ⅲ-6现已怀孕,她的丈夫患有多指症(常染色体显性单基因遗传病),其他性状正常,丈夫的母亲正常。他们夫妇很想生育一个健康的孩子,请问这个愿望得以实现的概率是             。(2分)

(3)Duchenne肌营养不良的根本治疗途径即基因治疗,是将编码抗肌萎缩蛋白的正常基因,通过质粒或病毒等导入患者的肌细胞,导入抗肌萎缩蛋白基因的肌细胞能否             ,这是治疗成功与否的关键。(2分)

II.(14分)如下图为某同学进行无土栽培的实验装置图,该同学在实验过程中没有再做任何处理,实验结束后,根据培养过程中培养液中几种矿质元素的浓度变化绘制了曲线图,请分析回答:

(1)在实验过程中能观察到的实现现象主要有                        。(2分)

(2)在实验起始阶段,使培养液中A、B、C、D、E五种矿质元素浓度一致,其主要目的是                                                             。(2分)

(3)从物质的量浓度变化曲线中,分析植株对A-E五种矿质元素的吸收状况:在实验初期植株对         的吸收最多,对               的需求量最小。(4分)

(4)实验进行10天后,矿质元素的浓度不再变化的主要原因是                                                                              。(3分)

(5)若该实验装置因故需保留更长的时间,改进的措施有                                                                                    。(3分)

试题详情

29.(12分)今有分子组成相差1个碳原子和若干个氢原子的两种单烯烃的混合物,若取该单烯烃混合物的质量为42g时,则其物质的量已大于1mol。在温度为120℃时向密闭容器中充入1mol混合烃和足量的氧气,引燃,待反应完全后,再恢复到120℃,容器内的压强比原来有所增大。

(1)试确定原混合烃中两种单烯烃的分子组成。

(2)为了使该混合烃对氧气的密度≥1.05,且在上述条件下完全燃烧产生气体增加的物质的量≤0.3mol。通过计算,讨论两种烃的物质的量之比应满足什么条件。

试题详情

28.(18分)信息1:四烃基乙二醇叫频那醇(-R烃基可相同也可不同),已知醇发生消去反应时,羟基优先跟相邻碳原子上含氢原子较少的碳原子上的氢原子一起消去生成烯。

  信息2:以下类型的卤代烃可以在热的酸性溶液中水解生成醇:

  信息3:已知四烃基乙二醇(频那醇)在H2SO4作用下可经脱水、重排反应生成频那酮:

 

   试应用上述信息、并根据下列有关的转化关系,回答问题:

 

(1)A、C的结构简式为A___________C______________。

(2)写出A→B(即反应Ⅱ)的反应方程式_______________________________。

(3)反应I-V中属于加成反应的是______________________________(填序号)。

(4)在以下方框中填写合适的结构简式(甲、乙互为同分异构体):

试题详情

27.(15分)已知SiO2、SO2和CO2都是酸性氧化物,化学性质具有一定的相似性;Mg和Na的化学性质也具有一定的相似性。

I、用如图所示装置进行Mg和SO2反应的实验。

(1)选择制取SO2的合适试剂(   )

A、10%的H2SO4溶液   B、98%的H2SO4   C、Na2SO3固体    D、CaSO3固体

(2)写出装置B中发生的主要反应的化学方程式_____________________________

(3)装置C中NaOH溶液的作用是____________________________________

II、某研究小组进行了“实验室制Si”的研究,他们以课本为基础,查阅资料得到以下可供参考的信息:①工业上在高温时用C还原SiO2可制得Si;②Mg在点燃条件下即可与SiO2反应;③金属硅化物与稀H2SO4反应生成硫酸盐与SiH4;④Si和SiO2均不与稀H2SO4反应;⑤SiH4在空气中自燃。

他们在研究报告中记载着“……选用合适的物质在适宜的条件下充分反应;再用足量稀硫酸溶解固体产物;然后过滤、洗涤、干燥;最后称量……在用稀硫酸溶解固体产物时,发现有爆鸣声和火花,其产率也只有预期值的63%左右”。

(4)该小组“实验室制Si”的化学方程式是_______________________________________

(5)你估计“在用稀硫酸溶解固体产物时,发现有爆鸣声和火花”的原因是______________。

试题详情

26.(15分)X、Y、Z、W为按原子序数由小到大排列的四种短周期元素。

已知:

①X可分别与Y、W形成X2Y、X2Y2、XW等共价化合物

②Z可分别与Y、W形成Z2Y、Z2Y2、ZW等离子化合物

请回答:

(1)Z2Y的电子式是__________

(2)Z2Y2与X2Y反应的化学方程式是__________________

(3)如图所示装置,两玻璃管中盛满滴有酚酞溶液的ZW

饱和溶液,C(I)、C(II)为多孔石墨电极。

接通S1后,C(I)附近溶液变红,两玻璃管中有气体生成。一

段时间后(两玻璃管中液面未脱离电极),断开S1,接通S2

电流表的指针发生偏转,此时:C(I)的电极名称是_________

(填写“正极”或“负极”);C(II)的电极反应式是________

___________________________

(4)铜屑放入稀硫酸不发生反应,若在稀硫酸中加入X2Y2

铜屑可逐渐溶解,该反应的离子方程式是________________

____________________________________________________

试题详情

25.(20分)如图所示,在x轴上方为一垂直纸面向里的匀强磁场,磁感应强度为B。在x轴下方有一个沿y轴负方向的匀强电场,电场强度为E(电、磁场的范围都足够大),已知沿x轴方向与原点相距为L的地方,垂直于x轴放置一块荧光屏MN。现有一质量为m、带电量为e的电子,从坐标原点沿y轴正方向射入磁场。

(1)如果要使电子垂直打在屏MN上,求电子射入的最大速度为多少?

(2)若电子从坐标原点,沿y轴正方向以某一速度入射后垂直打在荧光屏上的P点,P点距x轴距离,则电子从入射到打在P点所需的时间是多少?

试题详情

24.(18分)如图所示,在动摩擦因素μ=0.2,倾角为37°的绝缘斜面上,有一静止在A点,质量为m=0.2kg,电量q=2.0×10-2C带负电的物块,现加一沿斜面方向的匀强电场,使物块由A点运动到B点,电场力做功为W=2J,已知AB两点间的竖直高度为h=0.6m。(sin37°=0.6, cos37°=0.8,取g=10m/s2)

求:(1)电场强度E

  (2)物块到达B点时的动能。

试题详情


同步练习册答案