题目列表(包括答案和解析)

 0  134137  134145  134151  134155  134161  134163  134167  134173  134175  134181  134187  134191  134193  134197  134203  134205  134211  134215  134217  134221  134223  134227  134229  134231  134232  134233  134235  134236  134237  134239  134241  134245  134247  134251  134253  134257  134263  134265  134271  134275  134277  134281  134287  134293  134295  134301  134305  134307  134313  134317  134323  134331  447348 

4.自然中的水不停地运动、变化着,构成了一个巨大的             

试题详情

3.物质由                    叫做升华,固体升华时要      热.物质由            叫做凝华,气体凝华时要热     

试题详情

2.固体分为            两类,常见的晶体有           ,常见的非晶体有          ·晶体与非晶体的重要区别是          

试题详情

1.物质从            叫做熔化,熔化过程要      热;物质从      

        叫做凝固,凝固过程要       热.

试题详情

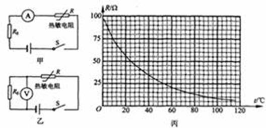
11、 (7分)(新泰市)图甲和图乙是利用热敏电阻来测量温度的原理图.电源电压均为20V且保持不变,定值电阻R0的阻值为30Ω.则:

(1)图甲中电流表的示数为0.3A时,热敏电阻两端的电压和消耗的功率分别是多少?

(2)图乙中电压表的量程为0―15V,热敏电阻R的阻值随温度的变化关系如图丙所示,试求此电路能测量的最高温度.

答案:(1)此时电阻两端的电压:

               

热敏电阻两端的电压:

热敏电阻消耗的功率:

(2)当电压表的示数为时,电路中的电流:  

设此时热敏电阻的阻值为,则

由图乙可知,此时的温度是

故最大能测量的温度是

试题详情

10.(江西)(9分)某电热水瓶的铭牌如下表所示。若热水瓶内装满水,在额定电压下工作(外界大气压强为1个标准大气压)。求:

型号DSP-19B
电源220V 50Hz
功率
加热时 1200W
保温时  30W
容量2L

(1)保温时通过电热水瓶的电流是多少?

(2)加热时电热水瓶的电阻多大?

(3)若瓶内20℃的水加热10min正好烧开,则加热时电热水瓶的热效率是多少?

(4)请你尝试画出电热水瓶的内部电路图。   

答案:(9分)

  (1)由PUIIP1/U=30W/220V=0.14A ……………………………1分

  (2)由PU 2/RRU 2/P2=(220V)2/1200W=40.33Ω ………………1分

  (3)瓶内水的质量mρV=1.0×103kg/m3×2×10-3m3=2kg ………………1分

   瓶内水吸热QC m ( t - t0 )

=4.2×103kg/m3×2kg×(100℃-20℃)

=6.72×105J ………………………………………………2分

   消耗的电能WP2t=1200W×10×60s=7.2×105J……………………1分

   热水瓶效率ηQ/W=6.72×105J/(7.2×105J)=93.3%..........………1分

  (4)

说明:电路图画对得2分,有一处错误即得0分,其他合理画法参照得分。

试题详情

9.(南京六中)(6分)近日,本市一些小学生正在调查老小区的黑楼道情况。有同学就此情况结合我们学习的内容提出以下建议: 在现有过道等公用场所的照明电路上进行适当改装,将“220V  40W”的灯泡、阻值为990Ω的电阻和光敏开关S、延时开关S1连成如图27所示的电路。天黒后,光敏S自动处于闭合状态,开关S1断开,此时灯较暗,但能起到指示作用;当有人在此区域时,闭合延时开关S1,灯泡正常发光,起到照明作用,当人离开后40秒左右自动关闭。

(1)当S、S1都闭合时,电阻R处于     状态(填“短路”、“断路”或“通路”);

(2)当灯起指示作用时,通过电阻R的电流是多少?

(3)请分别计算灯较暗时和灯正常发光时,电路消耗的总功率。(不考虑灯丝电阻变化)

答案:

试题详情

8.(南京六中)(5分)图26中两灯泡L1、L2在盒内的连接方式未知,电源电压为6V。开关闭合后两灯均发光,电流表读数为0.9A;若把L1取下,L2仍发光,电流表读数变化了0.6A,

则(1)L1和L2      联的(选填“串联”或“并联”);

(2)取下L1后,5秒内L2消耗的电能是多少?

(3)L1工作时的电阻多大?

答案:

试题详情

8. (龙岩市)(7分)发光二极管(LED)具有高亮度、低能耗等优点。如图15甲所示是LED的实物图

和元件符号。

甲            乙           丙

把一个额定电压为3V的LED接人电源电压恒为4.5V的电路,如图15乙所示。

(1)闭合开关S,LED发光;断开S,改变电源的正负极后闭合S,LED却不发光,可见,

LED具有      (填“单向”或“双向”)导电性;

(2)移动滑片P,测得电流表与电压表的示数变化关系如图15丙所示。当该LED正常工作时,消耗的电功率多大?此时变阻器接人电路的阻值多大?

答案:(7分)

(1)(1分)单向

(2)               (3分)

      (3分)

试题详情

7. (合肥市三十八中)如图所示是小黄家一台快速电热水壶,铭牌如左下表.为了测量它烧水时的实际功率,小黄和父亲合作进行了如下实验:关掉家里所有用电器,将该电水壶装了700g温度为30℃的水,接入家庭电路中,闭合壶的开关,测得壶中的水从30℃上升到100℃所用的时间是4min.同时观察到家中电能表转过的转数正好为100转(r).[水的比热容: c=4.2×103J/(kg·℃)]

产品型号:KS-12
最大容积:1.0L
额定电压:220V~
额定频率:50Hz
额定功率:1100W
 
请根据相关信息求:

(1)电水壶中水吸收的热量;

(2)电水壶烧水的实际功率;

(3)电水壶加热的效率.

答案:

(1)Q=cm⊿t=4.2×103J/(kg·℃) ×0.7kg×(100℃-30℃)=2.058×105J

(2)W=100/1500×3.6×106J =2.4×105J

   P=W/t=2.4×105J/(4×60)=1000W

(3)η=Q / W×100%=2.058×105J /2.4×105J =85.8%

试题详情


同步练习册答案