题目列表(包括答案和解析)

 0  167186  167194  167200  167204  167210  167212  167216  167222  167224  167230  167236  167240  167242  167246  167252  167254  167260  167264  167266  167270  167272  167276  167278  167280  167281  167282  167284  167285  167286  167288  167290  167294  167296  167300  167302  167306  167312  167314  167320  167324  167326  167330  167336  167342  167344  167350  167354  167356  167362  167366  167372  167380  447348 

12.(5分)如图1-5所示的电路中,电阻的阻值都是1Ω,的阻值都是0.5Ω。当ab端输入电压U=6.0V,cd端接电压表时,其示数是__________V;当ab端输入电压U=5.0V,cd端接电流表时,其示数是__________A。

试题详情

11.(5分)假设地球是规则的球形体。半径为6400km。由于地球的自转作用,一个质量为75kg的人在赤道处的重力比他在两极处的重力要__________些,差值为__________N。

试题详情

10.质量为m的物块静止在粗糙的水平面上,若静止物块受一水平拉力F的作用产生位移为S时,物块的动能为;若静止物块受一水平拉力2F的作用产生位移也为S时,物块的动能为,则(   )

 A.          B.

 C.        D.

第Ⅱ卷(非选择题  共110分)

试题详情

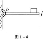
9.如图1-4所示,一端可绕O点自由转动的长木板上方放一个物块。手持木板的另一端。使木板从水平位置沿顺时针方向缓慢旋转,在物体相对于木板滑动前,(   )

 A.物块对木板压力不变

 B.物块机械能不变

 C.物块对木板的作用力对O点的力矩减小

 D.物块受到的静摩擦力增大

试题详情

8.有关光现象的下列说法中正确的是(   )

 A.在平静的湖面上出现岸边树的倒影是光的折射现象

 B.在太阳光照射下,水面上的油膜上出现彩色花纹是光的干涉现象

 C.光导纤维传递信号的基本物理原理是光的折射

 D.在光的双缝干涉实验中,只将入射光由绿光改为黄光,则条纹间距变宽

试题详情

7.用质量不计的弹簧把质量为3m的木板A与质量m的木板B连接组成如图1-3所示的装置。B板置于水平地面上,现用一个竖直向下的力F下压木板A,撤消F后,B板恰好被提离地面。由此可知力F的大小是  (   )

 A.7mg         B.4mg

 C.3mg         D.2mg

试题详情

6.如图1-2所示,细线拴一带负电的小球,球处在竖直向下的匀强电场中,使小球在竖直平面内做圆周运动,则  (   )

 A.小球不可能做匀速圆周运动

 B.当小球运动到最高点时绳的张力一定最小

 C.小球运动到最低点时,球的线速度一定最大

 D.小球运动到最低点时,电势能一定最大

试题详情

5.如图1-1所示的电路中,灯泡A和灯泡B原来都是正常发光的。现在突然灯泡A比原来变暗子些,灯泡B比原来变亮了些,则电路中出现的故障可能是(   )

 A.断路           B.短路

 C.断路           D.同时短路

试题详情

4.下面的说法正确的是(   )

 A.物体运动的方向就是它的动量方向

 B.如果物体的速度发生变化,则物体受到的合外力的冲量一定不为零

 C.如果合外力对物体的冲量不为零,则合外力一定使物体的动能增大

 D.作用在物体上的合外力的冲量不一定能改变物体速度的大小

试题详情

3.要把具有相同动能的质子和α粒子分开,可使它们  (   )

 A.垂直射入同一匀强磁场,轨道半径大的是质子

 B.垂直射入同一匀强磁场,轨道半径大的是α粒子

 C.垂直射入同一匀强电场,偏转角度大的是质子

 D.垂直射入同一匀强电场,偏转角度大的是α粒子

试题详情


同步练习册答案