题目列表(包括答案和解析)

 0  168823  168831  168837  168841  168847  168849  168853  168859  168861  168867  168873  168877  168879  168883  168889  168891  168897  168901  168903  168907  168909  168913  168915  168917  168918  168919  168921  168922  168923  168925  168927  168931  168933  168937  168939  168943  168949  168951  168957  168961  168963  168967  168973  168979  168981  168987  168991  168993  168999  169003  169009  169017  447348 

2.如图为一个应用简单逻辑电路控制的自动楼道灯原理电路,图中S为声控开关(有声音时开关闭合,无声音时开关断开),Rt为光敏电阻,R1R2都是定值电阻,A为某种门电路,L为灯泡。当晚上有人发声时,能够自动打开楼道灯,白天即使有人发声楼道灯也不会亮。则(   )

  A.图中A是一个与门电路    B.图中A是一个或门电路

  C.图中A是一个非门电路    D.晚上无光照时L一定亮

试题详情

1.以下说法符合物理史实的是(   )

  A.法拉第发现了电流周围存在着磁场

  B.牛顿发现了万有引力定律,并测出了引力常量

  C.亚里士多德发现了力是改变物体运动状态的原因

  D.开普勒关于行星运动的描述为万有引力定律的发现奠定了基础

试题详情

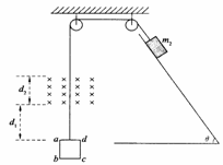
6.如图所示,一边长L = 0.2m,质量m1 = 0.5kg,电阻R = 0.1Ω的正方形导体线框abcd,与一质量为m2 = 2kg的物块通过轻质细线跨过两定滑轮相连。起初ad边距磁场下边界为d1 = 0.8m,磁感应强度B=2.5T,磁场宽度d2 =0.3m,物块放在倾角θ=53°的斜面上,物块与斜面间的动摩擦因数μ=0.5。现将物块由静止释放,经一段时间后发现当ad边从磁场上边缘穿出时,线框恰好做匀速运动。(g取10m/s2,sin53°=0.8,cos53°= 0.6)求:

  (1)线框ad边从磁场上边缘穿出时绳中拉力的功率;

  (2)线框刚刚全部进入磁场时速度的大小;

  (3)整个运动过程中线框产生的焦耳热。

1,3,5
 
 

张甸中学高三物理综合练习(13)

班级______________  姓名______________

试题详情

5.倾斜雪道的长为50 m,顶端高为30 m,下端经过一小段圆弧过渡后与很长的水平雪道相接,如图所示。一滑雪运动员在倾斜雪道的顶端以水平速度v0=10 m/s飞出,在落到倾斜雪道上时,运动员靠改变姿势进行缓冲使自己只保留沿斜面的分速度而不弹起。除缓冲外运动员可视为质点,过渡轨道光滑,其长度可忽略。设滑雪板与雪道的动摩擦因数μ=0.2,求:

(1)运动员落在倾斜雪道上时与飞出点之间的距离;

(2)运动员落到倾斜雪道瞬间沿斜面的速度大小;

(3)运动员在水平雪道上滑行的距离(取g=10 m/s2)。

试题详情

4.选修3-5:

(1)以下说法中,正确的有____________

A.我们周围的一切物体都在辐射电磁波

B.康普顿效应表明光子除了能量之外还具有动量

C.x射线是处于激发态的原子核辐射的

D.原子的核式结构是卢瑟福根据α粒子散射现象提出的

E.核子结合成原子核时要吸收能量

F.放射性元素发生β衰变时,新核的化学性质不变

(2)如图甲所示,质量mB=1kg的平板小车B在光滑水平面上以v1=1m/s的速度向左匀速运动.当t=0时,质量mA=2kg的小铁块A以v2=2 m/s的速度水平向右滑上小车,A与小车间的动摩擦因数为μ=0.2。若A最终没有滑出小车,取水平向右为正方向,g10m/s2求:

①A在小车上停止运动时,小车的速度大小

②在图乙所示的坐标纸中画出1.5 s内小车B运动的速度一时间图象.

试题详情

3.在平直公路上行驶的汽车中,某人从车窗相对于车静止释放一个小球,不计空气阻力,用固定在路边的照相机对汽车进行闪光照相,照相机闪两次光,得到清晰的两张照片,对照片进行分析,知道了如下信息:①两次闪光的时间间隔为0.5s;②第一次闪光时,小球刚释放,第二次闪光时,小球刚好落地;③两次闪光的时间间隔内,汽车前进了5m;④两次闪光时间    间隔内,小球的水平位移为5m,根据以上信息能确定的是(已知g=10m/s2)(   )

A.小球释放点离地的高度    B.第一次闪光时小球的速度大小

C.汽车做匀速直线运动     D.两次闪光的时间间隔内汽车的平均速度大小

试题详情

2.质量为m的小球放在光滑水平面上,在竖直线MN的左方受到水平恒力F1作用(m可视为质点),在MN的右方除受F1外还受到与F1在同一条直线上的水平恒力F2作用,现设小球由A点静止开始运动如图a所示,小球运动的v-t图象如图b所示:由图可知下列说法正确的是(   )

A.小球在MN的右左方加速度大小为    B.F2的大小为

C.小球在MN右方运动的时间为

D.小球在t=0到t=t4这段时间最大位移为v1t2

试题详情

1.如图所示,理想变压器原、副线圈的匝数比为10:1,b是原线圈的中心抽头,电压表和电流表均为理想电表,从某时刻开始在原线圈cd两端加上交变电压,其瞬时值表达式为u1=220sin100πt(V),则(   )

A.当单刀双掷开关与a连接时,电压表的示数为22V

B.当t=s时,cd间的电压瞬时值为110V

C.单刀双掷开关与a连接,在滑动变阻器触头P向上移动的过程中,电压表和电流表的示数均变小

D.当单刀双掷开关由a扳向b时,电压表和电流表的示数均变小

试题详情

7.如图所示,一个质量为m =2.0×10-11kg,电荷量q = +1.0×10-5C的带电微粒(重力忽略不计),从静止开始经U1=100V电压加速后,水平进入两平行金属板间的偏转电场,偏转电场的电压U2=100V。金属板长L=20cm,两板间距d =cm。求:

(1)微粒进入偏转电场时的速度v0大小;

(2)微粒射出偏转电场时的偏转角θ

(3)若该匀强磁场的宽度为D=10cm,为使微粒不会由磁场右边射出,该匀强磁场的磁感应强度B至少多大?

高三物理综合练习(12)

班级______________  姓名______________

试题详情

6.选修3-4:

(1)如图所示为两列简谐横波在同一绳上传播在t=0时刻的波形图,已知甲波向左传,乙波向右传. 请根据图中信息判断以下说法正确的是___________

A.两列波的波长一样大

B.甲波的频率f1比乙波的频率f2

C.由于两波振幅不等,故两列波相遇时不会发生干涉现象

D.两列波同时传到坐标原点

E.x=0.2cm处的质点开始振动时的方向向+y方向

F.两列波相遇时会发生干涉且x=0.5cm处为振动加强的点

(2)半径为R的半圆柱形玻璃,横截面如图所示,O为圆心,已知玻璃的折射率为,当光由玻璃射向空气时,发生全反射的临界角为45°.一束与MN平面成45°的平行光束射到玻璃的半圆柱面上,经玻璃折射后,有部分光能从MN平面上射出.求能从MN射出的光束的宽度为多少?

试题详情


同步练习册答案