0  125181  125189  125195  125199  125205  125207  125211  125217  125219  125225  125231  125235  125237  125241  125247  125249  125255  125259  125261  125265  125267  125271  125273  125275  125276  125277  125279  125280  125281  125283  125285  125289  125291  125295  125297  125301  125307  125309  125315  125319  125321  125325  125331  125337  125339  125345  125349  125351  125357  125361  125367  125375  447090 

37.实验台上有组装好的实验装置,如图21所示,其中弹簧测力计的量程为0-5N。另外还有质量均为100g的钩码六个(图中未画出)。要求利用上述实验装置和钩码设计一个实验证明:用动滑轮提升重物时,如果动滑轮的机械效率不变,则有用功跟总功成正比。请写出主要实验步骤。

试题详情

36.为了探究力能否是玻璃瓶发生形变,小林把玻璃瓶装满水,然后用带有细玻璃管的橡胶塞塞紧瓶口,组装好的实验装置如图20所示。其中,细玻璃管上有刻度,便于观察细玻璃管内水面的变化。

小林用力挤压玻璃瓶壁,发现细玻璃管内水面上升了。于是他得出结论:细玻璃管内水面上升,表明力使玻璃瓶发生了形变。小华却认为:细玻璃管内水面上升,可能是由于手挤压玻璃瓶壁时,瓶内水的温度升高所致,因此不能说明力使玻璃瓶发生了形变。

要求只利用图20所示的装置,通过实验证明力能使玻璃瓶发生形变。请你写出主要实验步骤和相应的实验现象。

试题详情

35.小龙想利用一块电压表和已知的电阻R0测量电阻Rx的阻值。小龙选择了满足实验要求的器材,并连接了部分实验电路,如图19所示。小龙设计的实验电路的要求是:只闭合开关S和S1时,电压表测量的是电阻R0两端的电压U1;只闭合开关S和S2时,电压表测量的是电源两端的电压U2

(1)请你根据小龙的设计要求只添加一根导线完成图19所示实验电路的连接;

(2)请你用U1、U2和R0表示出Rx,Rx=   

试题详情

34.在探究电阻两端的电压跟通过电阻的电流的关系时,小东选用了两个定值电阻R1、R2分别做实验,他根据实验数据画出了图18所示的图像,请你根据图像比较电阻R1与R2的大小,R1    R2。(选填“大于”、“等于”或“小于”)

试题详情

33.小华探究气体压强与流速关系的实验装置如图17甲所示,其中两端开口的U形管中有适量的水,U形管的左端通过橡皮管与玻璃管侧壁管口相连通。小华用电吹风机向玻璃管中吹风,玻璃管内C点的气体压强为p1,U形管内液面高度差如图17乙所示;改变风速后,玻璃管内C点的气体压强为p2,U形管内液面高度差如图17丙所示。请你根据上述实验现象比较p1与p2的大小,则p1    p2。(选填“大于”、“等于”或“小于”)

试题详情

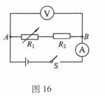
32.为了探究电阻串联的问题,小芳设计了如图16所示的实验电路,其中R1是电阻箱,R2是定值电阻,R1与R2串联的总电阻(即等效电阻)用R来表示。电流表测量的是串联电路中的电流I,电压表测量的是A、B两点间的电压U。小芳通过实验记录的数据如下表所示。请根据表中实验数据,归纳出总电阻R跟电阻R1的关系:    

R1/W
5
10
15
25
35
45
U/V
12
12
12
12
12
12
I/A
0.6
0.48
0.4
0.3
0.24
0.2
R/W
20
25
30
40
50
60

试题详情

31.在探究海波和石蜡熔化规律时,小琴记录的实验数据如下表所示。请根据表中的实验数据解答下列问题。

时间/min
0
1
2
3
4
5
6
7
8
9
10
11
12
海波的温度/℃
40
42
44
46
48
48
48
48
48
48
50
53
56
石蜡的温度/℃
40
41
42
44
46
47
48
49
51
52
54
56
59

(1)在海波和石蜡这两种物质中,属于晶体的是   

(2)该晶体的熔点是    ℃;

(3)当该晶体的温度为42℃时,它处于    态。(选填“固”或“液”)

试题详情

30.小英探究凸透镜成像规律的实验装置如图15所示,其中焦距为12cm的凸透镜固定在光具座上,位于50cm刻度线处,光屏和点燃的蜡烛位于凸透镜两侧。小英将蜡烛移至20cm刻度线处,移动光屏,直到光屏上出现了烛焰清晰的像,则该像是倒立、缩小的    像(选填“实”或“虚”)。小英将蜡烛移至40cm刻度线处时,她通过凸透镜看到了烛焰的虚像,则该像是    、放大的像。(选填“倒立”或“正立”)

试题详情

29.图14所示的电压表的示数是    V。

试题详情

28.小航在实验室测量盐水密度。小航先将盐水倒入量筒,如图13甲所示,测盐水的体积为    cm3。接着小航用天平测出空烧杯的质量为30g,然后他将量筒中的盐水全部倒入烧杯,用天平测出烧杯和盐水的总质量,天平平衡时的情景如图13乙所示,则烧杯和盐水的总质量    g。请你根据以上实验数据计算出盐水的密度为    kg/m3

试题详情


同步练习册答案