0  125242  125250  125256  125260  125266  125268  125272  125278  125280  125286  125292  125296  125298  125302  125308  125310  125316  125320  125322  125326  125328  125332  125334  125336  125337  125338  125340  125341  125342  125344  125346  125350  125352  125356  125358  125362  125368  125370  125376  125380  125382  125386  125392  125398  125400  125406  125410  125412  125418  125422  125428  125436  447090 

29.图19甲是研究电流与电压关系的电路图。开关S闭合后。将滑动变阻器的滑片P从a 端移至b端,电流表和电压表的示数变化关系如图19乙所示.实验时,电源电压3V保持不变,结合图像可知,当滑片P位于b端时,定值电阻R0的电功率是   W。

试题详情

28.用“伏安法测电阻”的实验中,第三小组的同学设计了如图17所示的实验,他们在实验中闭合开关S后,发现电流表示数几乎为零,而电压表的示数等于电源电压。则该电路的故障可能为                ;故障解除后在实验过程中,闭合开关S,电流表和电压表的示数如图18所示,电阻Rx的阻值是     Ω。

试题详情

27.小刚利用伏安法测量额定电压为2.5v的小灯泡正常发光时的电阻。已知电源两端的电压为3V,请帮助小刚将如图16所示的电路连接完整。

 

试题详情

26.京京在实验室中烧水。水开始沸腾时,温度计的示数如图15所示,由此可知此地水的沸点是     ℃。

试题详情

25.如图14所示,根据电磁铁两端的N、S极,在图中标出电流方向.

 

试题详情

24.图13中物体B的长度是________cm。

试题详情

23.如图12所示,正方体合金块A的边长为0.2m,把它挂在以O为支点的轻质杠杆的M点处,在A的正下方放置一个同种材料制成的边长为0.1m的立方体B,物体B放置在水平地面上;OM∶ON=1∶3。一个重为640N的人在杠杆的N点通过定滑轮用力F1使杠杆在水平位置平衡,此时A对B的压强为1.4×104Pa,人对水平地面的压强为1.45×104Pa;若人用力F2=90N仍使杠杆在水平位置平衡,此时物体B对地面的压强为P。已知人单独站在水平地面上,对地面的压强为1.6×104 Pa(g取10N/kg)。则压强P的大小为__________Pa。

试题详情

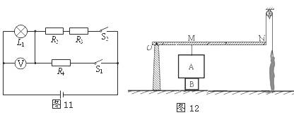
22.如图11所示的电路中,已知灯L1的电阻R1是电阻R2的 (不考虑灯丝电阻随温度的变化)。电源电压保持不变,当开关S1闭合、S2断开时,灯L1正常发光,电阻R4消耗的电功率为P;当开关S2闭合、S1断开时,电阻R3消耗的电功率为P,此时电压表的示数变为原来的一半。则灯L1的额定功率为   

试题详情

21.图10是运动会的奖牌,冠军奖牌是银质镀金,亚军奖牌是银质,第三名奖牌为铜质,

三种奖牌各部分的体积、形状完全相同,几种物质的密度如表中所示。若银牌中银的质量约为105g,则铜牌中铜的质量大约________ g。

 

试题详情

20.质量相等的铜块和铅块吸收相等的热量后,升高温度之比为    

  [已知铜的比热容为0.39×103J/(kg·℃),铅的比热容为0.13×103J/(kg·℃)]

试题详情


同步练习册答案