0  125182  125190  125196  125200  125206  125208  125212  125218  125220  125226  125232  125236  125238  125242  125248  125250  125256  125260  125262  125266  125268  125272  125274  125276  125277  125278  125280  125281  125282  125284  125286  125290  125292  125296  125298  125302  125308  125310  125316  125320  125322  125326  125332  125338  125340  125346  125350  125352  125358  125362  125368  125376  447090 

7.如图2所示为核电站发电流程图。下列说法正确的是

A.核能是不可再生能源

B.蒸汽轮机的效率总是小于1

C.蒸汽轮机将核能转化为机械能

D.发电机将机械能转化为电能

试题详情

6.下列现象及其原因分析,错误的是

A.高压锅容易将食物煮熟­--液体表面气压增大,液体沸点升高

B.台风掀开屋顶的瓦--屋内外空气的流速不同,压强不同

C.软包装饮料吸管一端做成尖形--减小受力面积,增大压强

D.托里拆利实验测出的大气压值比实际值小--玻璃管倾斜

试题详情

5.把重8N、体积为1.0×10-3m3的物体投入水中,当物体静止时,物体的状态和所受浮力是

A.漂浮,F=10N                  B.悬浮,F=8N

C.漂浮,F=8N                   D.沉在水底,F=10N

试题详情

4.如图1所示,当闭合开关S,且将滑动变阻器的滑片P向左移动时,电磁铁

A.b端是N极,磁性减弱            B.a端是S极,磁性增强

C.a端是N极,磁性增强            D.b端是S极,磁性减弱

试题详情

3.白菜在存放过程中需要减慢蒸发,可采取的措施是

A.升温                      B.密封

C.摊开                      D.通风

试题详情

2.现有橡皮、玻璃、条形磁铁、盐水、纯水、铅笔芯六种物质,小明将它们分成两类,如下表所示,则小明是按照物质的哪种物理属性进行分类的

第一类
第二类
橡皮、玻璃、纯水
盐水、铅笔芯、条形磁铁

A.密度    B.磁性    C.导电性     D.比热容

试题详情

1.下列现象中,通过做功改变物体内能的是 

A.两手相互摩擦,手发热

B.用火炉烧水,水的温度升高

C.阳光照射石板,石板温度升高

D.用热水泡脚,脚感觉暖和

试题详情

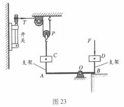
40.图23是小刚设计的一个通过简单机械自动拉开开关的装置示意图。该装置主要由滑轮组、配重C、D以及杠杆AB组成,配重C通过细绳与动滑轮相连,配重C、D分别通过支架固连在杠杆AB两端,支架与杠杆垂直。杠杆的B端放在水平台面上,杠杆可以绕支点O在竖直平面内逆时针转动,开关被拉开前,杠杆在水平位置平衡。已知动滑轮P的质量mP为0.2kg,OA:OB=3:1,配重D的质量mD为1.5kg,作用在D上的竖直向下的压力F为75N,刚好拉开开关所需的拉力T为6N。杠杆、支架和细绳的质量均忽略不计,滑轮与轴的摩擦、杠杆与轴的摩擦均忽略不计,g取10N/kg。

求:配重C的质量mC等于多少千克,开关刚好能被拉开?

试题详情

39.图22所示的电路中,电源两端电压U保持不变。当只闭合开关S1时,电压表的示数为U1,电流表的示数I1为1A,电阻R1消耗的电功率P1为4W,电阻R2消耗的电功率为P2。当开关S1、S2都闭合时,电压表的示数为U2,电流表的示数为I2,电阻R2消耗的电功率为P2′。已知P2:P2′=1:4,U1:U2=2:1。求:

(1)电流表的示数I2为多少安?

(2)电源两端的电压U为多少伏?

(3)当开关S1、S2都闭合时,通电5min,电阻R2产生的热量为多少焦?

试题详情

38.质量为50kg的水,温度从25℃升高到45℃,需要吸收多少焦的热量?

[水的比热容为4.2´103J/(kg ℃)]

试题详情


同步练习册答案