0  125373  125381  125387  125391  125397  125399  125403  125409  125411  125417  125423  125427  125429  125433  125439  125441  125447  125451  125453  125457  125459  125463  125465  125467  125468  125469  125471  125472  125473  125475  125477  125481  125483  125487  125489  125493  125499  125501  125507  125511  125513  125517  125523  125529  125531  125537  125541  125543  125549  125553  125559  125567  447090 

12.MP3随身听是一种深受年轻人喜爱的小电器,若MP3的电源是一节干电池,正常工作时的功率为0.012W,则正常工作的电流为       A,连续播放0.5h,消耗的电能为

    J。它允许使用充电电池,则在电池充电过程中是将      能转化为化学能。

试题详情

11.电热器是利用电流的____________制成的加热设备,电热器的发热体是由电阻率大.

     高的合金丝绕在绝缘材料上制成的.某电热器的电阻为200Ω,工作时通过的电流为1A,则该电热器1min发热___________________J。

试题详情

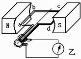
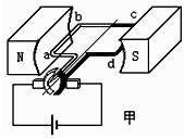
9.如下图中所示的两个模型,甲图是     机的模型,乙图是     机的模型,其中乙是根据                 制成的.

   

图6
 
10.认真观察下图,你能获取的信息有:

(1)                               

(2)                               

(3)                               

试题详情

8.“五一”黄金周期间,小林和几位同学一起去野外探险,随身带上能发出求救信号的手电筒。手电筒要求的供电电压是6V,他们需要将     节干电池    联起来使用。若手电筒小灯泡灯丝的电阻是12Ω,则通过小灯泡的电流是      mA。

试题详情

7.对于家庭电路来说,接入电路的总电阻和电路消耗的总功率的情况是(   )

A.开亮的灯越少,总电阻越小,总功率越大

B.开亮的灯越少,总电阻越大,总功率越小

C.开亮的灯越多,总电阻越小,总功率越小

D.开亮的灯越多,总电阻越大,总功率越大

试题详情

6.在如下图所示的电路中,若发生图中所示的现象,则在AB不可能是连接了(   )

A.闭合的开关     B.电流表         C.1 kΩ的电阻    D.导线

试题详情

5.如下图所示的四个电路图中,电源的电压均为U,每个电阻的阻值都为R,则开关S闭合后哪个图中电流表的示数最大(   )

试题详情

4.如下图水平放置的条形磁铁的一端吸引着一个较重的铁钉,若另一根同样的条形磁铁的S极与原来磁铁的N极接合时,则出现的情况(   )

A.将铁钉吸得更牢                   B.铁钉落下

C.铁钉尖端将吸向右端的铁钉         D.铁钉尖端将吸向左边的铁钉

试题详情

3.下图是装有两节干电池的手电筒的结构示意图,要使手电筒正常工作,两节干电池正确的是(   )

试题详情

2.关于电磁波下列说法不正确的是(  )

A.电磁波具有能量               B.各种颜色的光都是电磁波

C.电磁波在真空中的传播速度是3×108m/s     D.电磁波的频率越高,波长越长

试题详情


同步练习册答案