0  312563  312571  312577  312581  312587  312589  312593  312599  312601  312607  312613  312617  312619  312623  312629  312631  312637  312641  312643  312647  312649  312653  312655  312657  312658  312659  312661  312662  312663  312665  312667  312671  312673  312677  312679  312683  312689  312691  312697  312701  312703  312707  312713  312719  312721  312727  312731  312733  312739  312743  312749  312757  447090 

1.若复数是纯虚数,则实数的值为 (  )

A.       B.          C.     D.

试题详情

43.(14分)有原子序数依次增大的A、B、C、D、E五种短周期元素,它们可两两组成甲、乙、丙、丁四种化合物,各化合物中原子个数比关系如下表:

 




化合物中各元
素原子个数比
A:C=1:1
B:A=1:2
D:E=1:3
B:E=1:4

其中A、B两种原子的核电荷数之差等于它们的原子最外层电子数之和;B原子最外层电子数比其次外层电子数多2个;在周期表中,C是E是邻族元素,化学性质活泼;D和E位于同一周期,且D和E的原子序数之和为30。

  (1)D和E同属哪一周期元素?         ,推断依据是        

  (2)根据题目提供的条件,推断E在周期表中的族序数(用必要的文字说明)  

                            

  (3)向甲的水溶液加入MnO2,反应的化学方程式:        

  (4)已知乙的相对分子质量小于甲。在实验室常用什么方法制得乙?(用化学方程式表示)        

  (5)丙是水溶液呈酸性,与饱和NaHCO3溶液反应会迅速产生大量气体和难溶物,有关离子方程式是        

  (6)向30mL 1mol/LKI溶液中依次注入下列试剂:

①1mL 5mol/L盐酸  ②0.5mol/L  30% 甲溶液  ③1 mL丁。

经充分振荡后,静置,可得一紫色溶液。这种紫色溶液是         

贵州省乌沙中学09-10学年高三上学期期中考试

试题详情

42.(8分)有X、Y、Z三种元素,已知:

① X2-、Y-均与Y的气态氢化物分子具有相同的电子数;

② Z与Y可组成化合物ZY3,ZY3溶液遇KSCN溶液呈红色。

请回答:

⑴ Z的基态原子的电子排布式为                    

⑵ 将ZY3溶液滴入沸水可得到红褐色液体,反应的离子方程式是          

⑶ X单质在空气中燃烧生成一种无色有刺激性气味的气体。

① 已知一定条件下,每1 mol该气体被O2氧化放热98.0 kJ。若2 mol该气体与1 molO2在此条件下发生反应,达到平衡时放出的热量是176.4 kJ,则该气体的转化率为      

② 原无色有刺激性气味的气体与含1.5 molY的一种含氧酸(该酸的某盐常用于实验室制取氧气)的溶液在一定条件下反应,可生成一种强酸和一种氧化物,若有1.5×6.02×10 23个电子转移时,该反应的化学方程式是                         

试题详情

41.(8分)现有浓度均为0.100 mol·L-1的五种电解质溶液:① Na2CO3,② NaHCO3,③ NaAlO2,④ CH3COONa,⑤ NaOH。已知:CO2 + 2AlO2- + 3H2O = 2Al(OH)3↓+ CO32-

⑴ 这五种溶液的pH由小到大的顺序是            (填编号)。

⑵ 将五种溶液稀释相同倍数时,其pH变化最大的是      (填编号)。

⑶ 各取上述五种溶液25.00 mL,分别滴入0.100 mol·L-1 25.00 mL的HCl溶液,所得溶液pH最大的是    (填编号)。

⑷ 将上述① ② ③ ④ 四种溶液两两混合,有一对溶液相互间能发生反应,写出该反应的离子方程式                                 

试题详情

40.(10分)请按要求填空:

  (1)下列实验操作或对实验事实的叙述中存错误的是      (填序号)

A.用50mL酸式滴定管准确量取25.00mL酸性KMnO4溶液,放入锥形瓶中待用

B.在测定硫酸铜晶体的结晶水时,将灼烧硫酸铜晶体的坩埚放在空气中冷却,然后称量

C.中和热的测定所需的玻璃仪器有烧杯、温度计、量筒

D.实验室中进行的下列实验需水浴加热:①苯的硝化反应  ②葡萄糖的银镜反应 ③乙酸乙酯的制备

E.配制1mol·L-1的NaOH溶液时,下列操作造成所配浓度偏低:①溶解后烧杯未多次洗涤②定容时仰视刻度线③容量瓶中原有少许蒸馏水

  F.实验室配制氯气亚铁溶液时,将氯化亚铁先溶解在盐酸中,然后用蒸馏水稀释并加入少量铁粉

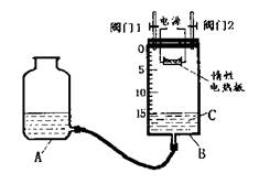
  (2)某同学设计了如图所示测定红磷在氯

气中燃烧产物的分子式的装置,该装

置中B是底面积为100cm2的圆筒状

玻璃容器(密封盖上装有阀门),上

面标有厘米单位的刻度,其它夹持

装置已略去。

操作步骤:

①检查装置的气密性。

②将0.5g红磷平铺在电热板上,盖紧容器。

③打开阀门1、阀门2,从A的瓶口加入液体C,使B中液面至刻度15.0cm。

④向B中充入氯气,待氯气充满后关闭阀门1、阀门2,通电加热红磷。……

请回答下列问题:

    (i)检查装置气密性具体方法是                

(ii)实验步骤③加入的液体C是              (填名称)。

(iii)反应结束并充分冷却后,读取B中液面刻度读数时,应注意:

                                 

                                

若液面在刻度5.6cm处,此时实验条件近似看作标准状况,则生成物PC1x中x的值是          (计算结果保留1位小数)。

试题详情

38.(9分) 水体中二价汞离子可以与多种阴离子结合成不同的存在形态。水溶液中二价汞主要存在形态与的浓度关系如下图所示[注:粒子浓度很小时常用负对数表示,如pH=一lgc(),pCl=一lgc()]。

(1)正常海水(的浓度大于0.1mol/L) 中汞元素的主要存在形态是    

   少量Hg(NO3)2溶于0.001mol/L的盐酸后得到无色透明溶液,其中汞元素的主要存在形态是     

(2)Hg(NO3)2固体易溶于水,但溶于水时常常会出现浑浊,其原因是          (用离子方程式表示)       ,为了防止出现浑浊,可采取的措施是    

(3)处理含汞废水的方法很多。下面是常用的两种方法,汞的回收率很高。

  ①置换法:用废铜屑处理含的废水。反应的离子方程式为     

  ②化学沉淀法:用硫化钠处理含Hg(NO3)2的废水,生成HgS沉淀。已知

   Ksp(HgS)=1.6×10-52(mol/L)2,当废水中c(S2-)=1×10-5mol/L时,c(Hg2+)=      

试题详情

37.(13分)铁及铁的化合物应用广泛,如FeCl3可用作催化剂、印刷电路铜板腐蚀剂和外伤止血剂等。

⑴ 写出FeCl3溶液腐蚀印刷电路铜板的离子方程式                

⑵ 若将⑴中的反应设计成原电池,请画出原电池的装置图,标出正、负极。

⑶ 腐蚀铜板后的混合溶液中,若Cu2+、Fe3+和Fe2+的浓度均为0.01 mol·L-1,请参照下表给出的数据和药品,简述除去CuCl2溶液中Fe3+和Fe2+的实验步骤: ①              ;②                    ;③                

      氢氧化物开始沉淀时的pH    氢氧化物沉淀完全时的pH 

Cu2+         4.7              6.7

Fe2+         7.0              9.0

Fe3+         1.9              3.2

   提供的药品:Cl2  浓H2SO4  NaOH溶液  CuO  Cu

⑷ 某科研人员发现劣质不锈钢在酸中腐蚀缓慢,但在某些溶液中腐蚀现象明显。请从上表提供的药品中选择两种(水可任选)设计最佳实验,验证劣质不锈钢易被腐蚀。

有关反应的化学方程式:                           

劣质不锈钢腐蚀的实验现象                      

试题详情

36.(8分)“碘钟”实验中,3I- + S2O82- = I3- + 2SO42-的反应速率可以用I3-与加入的淀粉溶液显蓝色的时间 t 来度量,t 越小,反应速率越大。某探究性学习小组在20 ℃进行实验,得到的数据如下表:

   实验编号      ①     ②     ③     ④     ⑤

   c(I-)/mol•L-1  0.040  0.080  0.080  0.160  0.120

c(S2O82-)/mol•L-1  0.040  0.040  0.080  0.020  0.040

   t / s       88.0  44.0  22.0  44.0    t1

回答下列问题:

⑴ 该实验的目的是                    

⑵ 显色时间t1 =          

⑶ 温度对该反应的反应速率的影响符合一般规律,若在40 ℃下进行编号③对应浓度的实验,显色时间t2的范围为       (填字母)。

A. < 22.0 s     B. 22.0 s - 44.0 s     C. > 44.0 s   D. 数据不足,无法判断

⑷ 通过分析比较上表数据,得到的结论是                    

试题详情

35. 下述说法中正确的是(   )

A. 非金属元素呈现的最高化合价不超过该元素原子的最外层电子数

B. 常温常压下,只有一种元素的单质呈液态

C. 同一周期元素的原子,半径越小越容易失去电子

D. 同周期非金属氧化物对应的水化物的酸性从左到右依次增强

第Ⅱ卷(非选择题 共80分)

试题详情


同步练习册答案