0  314163  314171  314177  314181  314187  314189  314193  314199  314201  314207  314213  314217  314219  314223  314229  314231  314237  314241  314243  314247  314249  314253  314255  314257  314258  314259  314261  314262  314263  314265  314267  314271  314273  314277  314279  314283  314289  314291  314297  314301  314303  314307  314313  314319  314321  314327  314331  314333  314339  314343  314349  314357  447090 
2005的某国60岁以上的老年人占总人口比达11%,老年人口年均增长3%,已开始进入老龄化阶段。据该国老年人口总数增长趋势图5,回答12-14题。

12.2005年该国人口总数约为                                                      (   )

     A.10亿             B.11亿             C.12亿             D.13亿

13.图中显示,60岁以上老年人口增加数量最大将在                               (   )

     A.2005年-2010年                      B.2011年-2020年

     C.2021年-2030年                      D.2031年-2040年

14.图示信息表明,该国的社会发展首先面对的实际问题是                        (   )

     A.就业压力         B.社会保障压力    C.社会稳定         D.升学压力

 

试题详情

   西北航道是指从大西洋经北极海域,再进入太平洋的航道,以往因受冰封影响,航运有限;但依2007年的观测,海冰融化程度加大,航运之利已有改善。读西北航道(图中虚线)示意图4,回答9-11题。

9.如果该航道进入大规模商业运输的阶段,

对下列国家经济带来不利影响的程度

有可能最大是        (   )

     A.丹麦             B.日本

     C.加拿大           D.巴拿马

10.随着西北航道海冰的融化,阿拉斯加

地区有可能        (   )

     A.战略地位更加重要

     B.极昼的范围扩大

     C.棉花种植得到推广

     D.地域联系会减少

11.目前,甲地区最重要的资源为(   )

     A.淡水             B.煤炭             C.石油             D.铁矿

 

试题详情

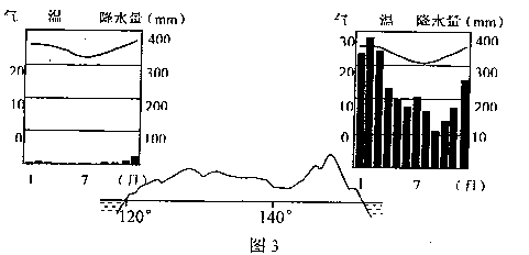
图3为沿某大陆20°纬线附近地形剖面及两侧气候统计图,据图完成6-8题。

6.该大陆东、南两侧的气候                                                        (   )

     A.一月降水最大                         B.四月雨季来临

     C.七月气温最低                         D.十月低压控制

7.造成两侧降水量差异的主要原因有                                              (   )

     ①信风带控制        ②沿岸洋流差异     ③距海洋距离        ④地形

     A.①②             B.③④             C.①③             D.②④

8.该大陆为                                                                        (   )

     A.非洲大陆         B.南美大陆         C.澳大利亚大陆    D.北美大陆

 

试题详情

图2示意以塔里木盆地中某地为(O)点分别向四个不同方向约2000千米的a、b、c、d绘制地形剖面图,其中只显示出一幅地形剖面图。据此读图完成4-5题。

   

4.O-X地形剖面与图中O至a、b、c、d的地形基本相符的是                     (   )

     A.O-a             B.O-b             C.O-c             D.O-d

5.依提供的信息可知,a地的纬度最接近                                          (   )

     A.42°N            B.51°N            C.58°N            D.63°N

 

试题详情

图1为地球经纬网示意图,图中相邻两根经线相差20°,读图回答1-3题。

1.图中四地在一年中,白天最长时间基本为12小时的是                           (   )

     A.①                B.②                C.③                D.④

2.某日当北京时间为12时,图中四地之中为同日4时的是                        (   )

     A.④                B.③                C.②                D.①

3.图中四地中地表景观以荒漠为主的是                                            (   )

     A.①                B.②                C.③                D.④

试题详情

6.经市场调查,某商品在近100天内,其销售量和价格均为时间t的函数,且销售量近似地满足关系g(t)=-t+,(tN,0<t≤100),在前40天里价格为f(t)=t+22(tN,0<t≤40),在后60天里价格为f(t)=-t+52(tN,40<t≤100),求这种商品的日销售额的最大值.

试题详情

5.某商场在促销期间规定:商场内所有商品按标价的80%出售,同时当顾客在该商场内消费满一定金额后,按以下方案获得相应金额的奖券:

消费金额的范围
[200,400)
[400,500)
[500,700)
[700,900)

获得奖券的金额
30
60
100
130

 根据上述促销方法,顾客在该商场购物可以获得双重优惠,例如:购买标价400元的商品,则消费金额为320元,获得的优惠额为400×0.2+30=110元,设购买商品的优惠率=.

 试问:(1)若购买一件标价为1000元的商品,顾客得到的优惠率是多少?

 (2)对于标价在[500,800]内的商品,顾客购买标价为多少元的商品,可获得不小于的优惠率?

试题详情

4.一家人(父亲、母亲、孩子)去某地旅游,有两个旅行社同时发出邀请,且有各自的优惠政策.甲旅行社承诺,如果父亲买一张全票,则其家庭成员均可享受半价,乙旅行社承诺,家庭旅行算团体票,按原价的计算,这两家旅行社的原价是一样的,若家庭中孩子数不同,试分别列出两家旅行社优惠政策实施后的孩子个数为变量的收费表达式,比较选择哪家更优惠?

 

试题详情

2.某纯净水制造厂在净化水的过程中,每增加一次过滤可减少水中杂质20%,要使水中杂质减少到原来的5%以下,则至少需要过滤的次数为( )(参考数据lg2=0.3010,lg3=0.4771)

 A.5      B.10     C.14      D.15

  3.有一批材料可以建成200m的围墙,如果用此材料在一边靠墙的地方围成一块矩形场地,中间用同样的材料隔成三个面积相等的矩形(如下图所示),则围成的矩形最大面积为________m2(围墙厚度不计).

试题详情

1.某城市出租汽车统一价格,凡上车起步价为6元,行程不超过2km者均按此价收费,行程超过2km,按1.8元/km收费,另外,遇到塞车或等候时,汽车虽没有行驶,仍按6分钟折算1km计算,陈先生坐了一趟这种出租车,车费17元,车上仪表显示等候时间为11分30秒,那么陈先生此趟行程介于( )

 A.5-7km    B.9-11km   C.7-9km    D.3-5km

试题详情


同步练习册答案