0  335730  335738  335744  335748  335754  335756  335760  335766  335768  335774  335780  335784  335786  335790  335796  335798  335804  335808  335810  335814  335816  335820  335822  335824  335825  335826  335828  335829  335830  335832  335834  335838  335840  335844  335846  335850  335856  335858  335864  335868  335870  335874  335880  335886  335888  335894  335898  335900  335906  335910  335916  335924  447090 

11.(18分)如图所示,两根固定在水平面上的光滑平行金属导轨MN和PQ,一端接有阻值为R的电阻,处于方向竖直向下的匀强磁场中。在导轨上垂直导轨跨放质量为m的金属直杆,金属杆的电阻为r,金属杆与导轨接触良好,导轨足够长且电阻不计。金属杆在垂直于杆的水平恒力F作用下向右匀速运动时,电阻R上的消耗的电功率为P,从某一时刻开始撤去水平恒力F。求撤去水平力后:

⑴当电阻R上消耗的功率为时,金属杆的加速度大小和方向。

⑵电阻R上产生的焦耳热。

试题详情

10. (16分)如图所示,一个质量为m=2.0×10-11kg,电荷量q=+1.0×10-5C的带电微粒(重力忽略不计),从静止开始经U=100V电压加速后,水平进入两平行金属板间的偏转电场中。金属板长L=20cm,两板间距d=10cm。求:⑴微粒进入偏转电场时的速度v是多大?⑵若微粒射出电场过程的偏转角为θ=30°,并接着进入一个方向垂直与纸面向里的匀强磁场区,则两金属板间的电压U2是多大?⑶若该匀强磁场的宽度为D=10cm,为使微粒不会由磁场右边射出,该匀强磁场的磁感应强度B至少多大?

试题详情

9.(18分)(1) 一质量为M的物体在水平拉力F的作用下,在动摩擦因数为μ的水平面上做匀加速直线运动,经时间t,速度由v1增加到v2。一同学用牛顿运动定律将这一过程表述为:FMg=Mav2=v1+at。这一过程如果用动量定理则可表述为________________________________。

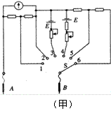
  (2)多用电表是实验室和生产实际中常用的仪器.

   ①如图甲是一个多用电表的内部电路图,在进行电阻测量时,应将S拨到_____或_____两个位置,在进行电压测量时,应将S拨到______或______两个位置.

 

②使用多用电表进行了两次测量,指针所指的位置分别如图中a、b所示。若选择开关处在“×10Ω”的电阻档时指针位于a,则被测电阻的阻值是_________Ω.若选择开关处在“直流电压2.5V”档时指针位于b,则被测电压是_____________V;

③两位同学使用完多用电表后,分别把选择开关置于图丙和图丁位置,你认为图_______的位置比较好.

  (3)①如图所示为某同学所安装的“验证牛顿第二定律”的实验装置,在图示状态下,开始做实验,该同学有装置和操作中的主要错误是_______________________________

__________________________________________________________________________________________________________________________________________________。

②在改正了上述错误之后,保持小车及砝码质量M不变.反复改变沙的质量,并测得一系列数据,结果发现小车受到的合外力(小桶及砂重量)与加速度的比值略大于小车及砝码质量M,经检查发现滑轮非常光滑,打点计时器工作正常,且事先基本上平衡了摩擦力,那么出现这种情况的主要原因是什么?  

   答:________________________________________________________________________

   ③图乙是上述实验打出的一条纸带,已知打点计时器的打点周期是0.02s,结合图乙给出的数据,求出小车运动加速度的大小为________________m/s2,并求出纸带中P点瞬时速度大小为_____________m/s(计算结果均保留2位有效数字)

试题详情

8.传感器是把非电物理量(如位移、速度、压力、角度等)转换成电学物理量(如电压、电流、电量等)一种元件。图所示中的甲、乙、丙、丁是四种常见的电容式传感器,下列说法正确的是(  )

 

   A.甲图中两极间的电压不变,若电量增加,可判断出θ变大

   B.乙图中两极间的电压不变,若电量减少,可判断出h变小

   C.丙图中两极间的电压不变,若有电流流向传感器的正极,则F变大

   D.丁图中两极间的电压不变,若有电流流向传感器的负极,则x变大

物理部分

第Ⅱ卷

本卷共4题,共72分

试题详情

7.某实验小组,利用DIS系统,观察超重和失重现象。他们在学校电梯房内做实验,在电梯天花板上固定一个力传感器,测量挂钩向下,并在钩上悬挂一个重为10N的钩码,在电梯运动过程中,计算机显示屏上显示出如图所示图线,根据图线分析可得出的正确说法是(  )

   A.该图线显示了力传感器对钩码的拉力大小随时间的变化情况

   B.从时刻t1t2,钩码处于失重状态,从时刻t3t4,钩码处于超重状态

   C.电梯可能开始在15楼,先加速向下,接着匀速向下,再减速向下,最后停在1楼

   D.电梯可能开始在1楼,先加速向上,接着匀速向上,再减速向上,最后停在15楼

试题详情

6.双缝干涉实验装置如图所示,绿光通过单缝S后,投射到具有双缝的挡板上,双缝S1S2与单缝的距离相等,光通过双缝后在与双缝平行的屏上形成干涉条纹。屏上O点距双缝S1S2的距离相等,P点是距O点最近的第一条亮条纹。如果将入射的单色光换成红光或蓝光,讨论屏上O点及其上方的干涉条纹的情况是(  )

   A.O点处是红光的亮条纹

   B.O点处不是蓝光的亮条纹

   C.红光的第一条亮条纹在P点的上方

   D.蓝光的第一条亮条纹在P点的上方

试题详情

5.矩形线框在匀强磁场内匀速转动过程中,线框输出的交流电压随时间变化的图像如图所示,下列说法中正确的是(  )

   A.1 s末线框平面垂直于磁场,通过线框的磁通量变化最快

   B.2 s末线框平面垂直于磁场,通过线框的磁通量变化最快

   C.交流电压的有效值为36V,频率为0.25Hz

   D.交流电压的有效值为36V,周期为4 s

试题详情

4.如图所示,A灯与B灯电阻相同,当滑动变阻器R的滑动片P向下滑动时,下列说法中正确的是(  )

   A.A灯变亮,B灯变暗                           

   B.A灯变暗,B灯变亮

   C.电流表的读数变小

   D.电流表的读数变大

试题详情

3.如图所示为一弹簧振子作简谐运动的振动图象,根据图象可以判断(  )

   A.t1时刻和t2时刻振子位移大小相等,方向相同,且(t1-t2)一定等于T/2;

   B.t2时刻和t3时刻速度大小、方向都反;

   C.t2时刻和t4时刻加速度大小相等、方向相反;

   D.t1时刻和t3时刻弹簧的长度相等。

试题详情

2.重核的裂变和轻核的聚变是人类利用原子核能的两条途径。下面关于它们的说法正确的是(  )

   A.裂变和聚变过程都有质量亏损

   B.裂变过程有质量亏损,聚变过程质量有所增加

   C.聚变过程有质量亏损,裂变过程质量有所增加

   D.裂变过程和聚变过程质量都有所增加

试题详情


同步练习册答案