0  423725  423733  423739  423743  423749  423751  423755  423761  423763  423769  423775  423779  423781  423785  423791  423793  423799  423803  423805  423809  423811  423815  423817  423819  423820  423821  423823  423824  423825  423827  423829  423833  423835  423839  423841  423845  423851  423853  423859  423863  423865  423869  423875  423881  423883  423889  423893  423895  423901  423905  423911  423919  447090 

2..检验H2纯度时,用排水法收集一试管气体,移到酒精灯火焰上点燃时,没有听到声音,下列原因中,最不可能的是(   )

A.氢气已经纯净     B.点燃时试管口离火焰太远

C.移动试管过程中漏气  D.气体在试管中储存时间过长

试题详情

1.关于水的组成的说法正确的是(   )

A.水是由氢气和氧气组成的        B.水是由氢元素和氧元素组成的

C.水是由一个氧原子和两个氢原子构成的  D.水是由一个氧元素和两个氢元素组成的

试题详情

3.电解水实验中,得到氢气和氧气的体积比为2∶1,所以水中氢元素和氧元素的质量比就为2∶1。水中氢元素和氧元素的质量比应该为1∶8,而不是2∶1。如例1

[基础演练]

试题详情

2.凡是澄清透明的“液体”,一定是纯净物。在生活中,有这样那样的水,例如有“矿泉水”、“纯净水”、“富氧水”等等。它们都是无色透明的液体,但是它们都是混合物。也就是说,在日常生活中我们所接触到的水中,只有“蒸馏水”我们在学习中可以近似认为是纯净的水,其他的基本上都是混合物。同时请大家一定要清楚“我们判断混合物和纯净物的依据”是:“是由几种物质组成,或是由几种分子构成”;而不是依据“是否澄清透明”。如例3。

试题详情

1.“水是由氢气和氧气组成的”或者“水是由两个氢原子和一个氧原子构成的”。在学习中经常有同学说,“水是由氢气和氧气组成的”,“水是由两个氢原子和一个氧原子构成的”。出现这种情况,主要是同学们对“混合物和纯净物”的概念区分不清。宏观上:纯净物是由元素组成。由于水是纯净物,所以我们只能说“水是由氢元素和氧元素组成的”;微观上:纯净物是由微观粒子构成。水到底是由哪种粒子构成的呢?这得要看水是由哪种粒子直接构成的,而不是看水中含有哪些粒子。我们知道在水中,氢原子和氧原子构成水分子,水分子构成水。所以我们只能说“水是由水分子构成的”,而不能说“水是由氢原子和氧原子构成的”。

试题详情

5.化学反应基本类型的考查。如例5

[典例精析]

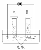
例1:(2004年·天津市)右图表示通电分解水的简易装置。回答下列问题:

(1)与A量筒中的电极相连接的是电池的  极,B量筒中产生的气体是  

(2)如果用VA和VB分别表示A量筒和B量筒中生成气体的体积,则VA∶VB约等于     

(3)如果该实验中产生氧气32g,则生成氢气   g。

(4)该实验能证明的结论是:

               

                

解析:本题是以有关“探究水的组成”的电解水实验为考查点,本题不仅要求学生熟悉电解水实验中电源的正负极产生什么气体、两种气体的体积比、还要学生对水的组成的有关知识要熟悉。由于A量筒中产生的气体多,故与A量筒产生的气体是氢气,而与A量筒连接的是电源的负极;VA:VB≈2∶1;同时水中氢、氧元素的质量比为1∶8,所以32g水中氢元素的质量为32g×1/9=4g,生成氢气的质量为4g;通过电解水实验我们可以得出的结论有:①水是由氢元素和氧元素组成的②在化学反应中分子可分而原子不可再分③水中氢元素和氧元素的质量比为1∶8等等。

答案:(1)负  氧气。(2)2∶1 (3)4g (4)①水是由氢元素和氧元素组成的②在化学反应中分子可分而原子不可再分③水中氢元素和氧元素的质量比为1∶8等等

例2:下列叙述符合科学道理的是(  )

A.“超纯水”是不含其他任何物质的水

B.“纯天然饮料”中不含任何化学物质

C.地球上没有水,就没有人类和所有的动植物

D.为了人类的生存和健康,对大量排放污染物的企业一定要严加治理。

解析:当今世界上,绝对纯净的物质是不存在的,“超纯水”中照样含有除水外的其他物质。一切饮料中一定含有水,水就是化学物质,而且“纯天然饮料”中也绝不是只含水这一种化学物质。所以,A、B是错误的。水是人类及动植物生存的前提,加大对水污染的治理,保护我们的环境,是世界性的任务。

答案:C、D。

例3:(2005年·沈阳)下列物质属于纯净物的是( )

A.净化后的空气   B.部分结冰的蒸馏水

C.加工门窗的铝合金 D.经过沉淀、过滤后得到的矿泉水

解析:本题重点考查纯净物和混合物的知识。纯净物是只有一种物质组成的物质,微观上纯净物中只含有一种分子;混合物是由两种或两种以上物质组成的,微观上混合物中含有两种或两种以上的分子。选项A:净化后的空气只是把空气中的粉尘等除去了,净化后仍然含有氧气、氮气、二氧化碳、稀有气体等气体,所以说净化后的空气仍然是混合物。选项B:冰是水的固态,冰水混合物中由于只含有一种分子--水分子,所以说“结冰的蒸馏水”还是纯净物。选项C:合金是指由两种或两种以上的金属或金属和非金属形成的具有金属特性的物质,合金是混合物所以选项C中的铝合金是混合物。选项D:沉淀是把水中悬浮的较大的固体颗粒通过重力的作用而沉降的过程;过滤是将不溶性固体和液体分离的过程。经过沉淀、过滤后得到的矿泉水只是把水中的不溶性固体除去了,而矿泉水中含有的可溶性矿物质仍然存在在水中,也就是说经过沉淀、过滤后得到的矿泉水还是混合物。 

答案:选B。

例4:(2005年·南通市)观察右图中的有关操作和现象,判断下列叙述正确的是(   )

A. 集气瓶中的气体可能是H2   B. 集气瓶中的气体可能是空气

C. 集气瓶中的气体一定是O2   D. 集气瓶中的气体一定是CO2

解析:这是一例典型的气体检验题。通过插入燃烧的木条,出现燃烧的木条熄灭,瓶口气体能燃烧,并发出淡蓝色的火焰的现象,说明该气体具有不燃烧也不支持燃烧的性质,所以一定不是O2、空气和CO2等气体。但由于并不只有H2具有可燃性且燃烧时发出淡蓝色火焰,所以我们只能判断该气体可能是H2,而不能确定一定是H2。 答案:选A,

例5:(2005年·南宁市)在一密闭容器中有A、B、C、D四种物质,一定条件下使之反应,一段时间后,测得反应前后各物质的质量如下:  

物质
A
B
C
D
反应前质量/g
90
10
8
2
反应后质量/g
ll
59.25
29.75
10

则该密闭容器中发生的化学反应类型为  (   )

A.置换反应   B.分解反应   C.化合反应   D.复分解反应

解析:关于常见的基本化学反应类型有:化合反应、分解反应、置换反应和复分解反应四种基本反应。化合反应的特点是“多生一”;分解反应的特点是“一生多”;置换反应的特点是“反应物和生成物都是一种是单质,另一种是化合物”;复分解反应的特点是“两种化合物互相交换成分生成另外两种化合物”。通过数据分析:A物质的质量减少,B、C、D三种物质的质量增加,所以该反应应该是分解反应。

答案:选B。

[常见误区]

试题详情

4.关于H2、O2的性质及其检验的考查。如例4

试题详情

3.对纯净物和混合物、单质和化合物区分的考查。如例3

试题详情

2.水的组成的有关知识的考查。如例2

试题详情

1.对水的电解实验及通过水的电解实验来探究水的组成的考查。如例1

试题详情


同步练习册答案