题目列表(包括答案和解析)

 0  134289  134297  134303  134307  134313  134315  134319  134325  134327  134333  134339  134343  134345  134349  134355  134357  134363  134367  134369  134373  134375  134379  134381  134383  134384  134385  134387  134388  134389  134391  134393  134397  134399  134403  134405  134409  134415  134417  134423  134427  134429  134433  134439  134445  134447  134453  134457  134459  134465  134469  134475  134483  447348 

4. 如图35是电饭锅的实物图,图36(甲)是它的内部电路图,图36(乙)是电路简图它有“高温烧煮”和“焖饭、保温”两挡,由温控开关自动控制.煮饭时,先要按下温控开关按钮;到达设定温度(饭已煮熟),按钮会自动弹起 (1)对照观察图36(甲)和(乙),温控开关按钮未按下时,“烧煮电路部分”与“保温电路部分”是_串联_关系(选填“串联”或“并联”);按下温控开关按钮.“烧煮电路部分”的电压为_220_V,“保温电路部分”将_不工作(选填“工作”或“不工作”);温控开关按钮弹起后,电路中的电流比原来__(选填“大”或“小”)。 (2)当温控开关按钮按下时,电饭锅电路的总功率为1100W。求:“烧煮电路部分”的电阻R1 (3)温控开关按钮弹起后,电饭锅电路的总功率为44W。求:①电路中的电流;②“保温电路部分”的电阻R2 (4)已知,只有当指示灯和限流器两端的电压与电源电压相差不大时,指示灯才会发光.请通过相关计算或分析,说明为什么温控开关按钮弹起时,红灯熄灭而黄灯亮。

试题详情

3. 随着生活水平的提高,家用电器在日常生活中已不可缺少。小明家所有家用电器正常工作时的总功率为2200W。其中电热水壶的铭牌如图所示,某一天小明在家里用电热水壶烧开水,电热水壶能正常工作。已知电热水壶的阻值不变。求:

(1)小明家所用熔断器的额定电流等于或稍大于多少安?

(2)这个电热水壶正常工作时的电阻为多少欧?

(3)这个电热水壶正常工作600秒所消耗的电能为多少焦?

(4)若电热水壶实际工作电压为110伏,电热水壶的实际功率多大?

 解答:(1)由  I=P/U

       得  I=2200W/220V=10A

电热水壶的铭牌
额定电压
220V
频率
50Hz 
额定功率
880W
容积
2L

      所以熔断丝的额定电流应等于或稍大于10A

     (2)由R=U2/P

       得R=(220V)2/880W=55Ω

     (3)由 W=Pt

      W=880W×600s=5.28×105J

     (4) 由P=U2/R

       得  P=(110V)2/55Ω=220W

   答:略。

试题详情

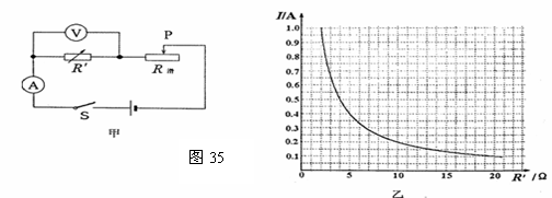
2. 小明用图35甲所示的电路,研究通过导体的电流与导体电阻的关系.电源电压恒为6V.实验过程中,他做了六次实验,每次改变电阻箱R',的阻值后.通过调节滑动变阻器始终保持R'两端的电压不变,记下相应的电流值.根据记录的六组数据,他在方格纸上描出了电流I与电阻箱阻值R'的关系图线,如图35乙.

(1)记录第一组数据时,电阻箱R'的阻值为4Ω,此时电流表示数是多少?

(2)小明在实验过程中.控制电阻箱R'两端的电压是多大?

(3)记录第二组数据时,小明记下电流表的示数为0.4 A,此时电阻箱消耗的功率是多少?滑动变阻器接入电路中的电阻是多大?

(4)记录第四组数据时,电阻箱和滑动变阻器消耗的功率之比是多少?

答案:(1)从图线可知,当R1=4Ω时,I1=0.5A,即电流表的示数为0.5A

(2)在图线上任取一组电流和电阻值,根据公式U=IR都可求得R’两端的电压U’。如:取R’=4Ω时,I=0.5A   U’=IR=4Ω×0.5A=2V (3) 当电流表的示数为0.4 A时,从图线可知:R’=5Ω

  电阻箱消耗的功率:P’=U’I2=2V×0.4A=0.8W

  滑动变阻器连入电路的电阻:R滑=U滑/I2=(6V-2V)/0.4A=10Ω

(4)因为记录每组数据时: U’=2V  U=4V  I’=I

P/P滑=U’I’/U滑I滑=1:2

即:记录第四组数据时,电阻箱与滑动变阻器消耗的功率之比为1:2。

试题详情

1. 有两个电路元件A和B,流过元件的电流与其两端电压的关系如图34(甲)所示.把它们串联在电路中,如图34(乙)所示.闭合开关S,这时电流表的示数为0. 4A,则电源电压和元件B的电功率分别是(   C  )

 A. 2.0V  0.8 W    

B. 2.5V   1.0W  

C. 4.5V  1.0 W   

D. 4.5V   1.8W

试题详情

5。 如图32所示电路,电源两端的电压一定,开关s1闭合,s2断开。如果使电压表和电流表的示数均增大,则下列操作一定可行的是(  C  )

A.滑动变阻器的滑片P 向右移

B.滑动变阻器的滑片P 向左移

C.滑动变阻器的滑片P 不动,闭合开关S2

D.滑动变阻器的滑片P 不动,断开开关S1  

试题详情

4。 图31是汽车、摩托车油量表(实际上就是电流表)原理示意图,R′是定值电阻,R是滑动变阻器,则 (   A  )    A.向油箱里加油时,电流表示数变大  

B.燃油消耗下降时,电流表示数变大  C.燃油全部耗尽时,电流表将被烧坏  

 D.油箱加油过满时,电流表将被烧坏

试题详情

3. 如图30所示,电源电压不变,闭合开关S,当滑动变阻器的滑片P由右向左移动时,三只电表V1、V2、A的示数变化情况(  A  )

A.V1不变,V2减小,A不变   

 B.V1减小,V2增大,A减小

C.V1不变,V2增大,A不变   

 D.V1增大,V2减小,A增大

试题详情

1. 图28所示的是握力计的原理图,其中弹簧上端和滑动变阻器滑片固定在一起,AB间有可收缩的导线,R0为保护电阻,电压表可显示压力的大小。则当握力F增加时电压表的示数将(  A  )    A.变大     B.变小  

   C.不变     D.无法确定

   2.如图29所示电路,闭合开关后,将滑动变阻器滑片P由a端向b端滑动过程中,图中电压表和电流表的示数变化正确的是  (  C  )

   A.电压表示数不变,电流表示数变大

   B.电压表示数变小,电流表示数变大

   C.电压表示数不变,电流表示数变小

   D.电压表示数变大,电流表示数变小

试题详情

4. 从欧姆定律可以导出公式。对电阻的理解.你认为正确的是( D ) A.当电压增大时,电阻也增大 B.当电流增大时,电阻减小 C.当电压为零时,电阻也为零 D.电阻由导体本身性质决定,与电流、电压无关

 

试题详情

3.在探究“电流与电阻关系”的实验中,除了需要电源、开关、导线外,还应有下列哪组器材?(   C  )

A。电流表、电压表、滑动变阻器、一个定值电阻;

B。电流表、滑动变阻器、几个定值电阻;

C。电流表、电压表、滑动变阻器、几个定值电阻;

D。电流表、电压表、几个定值电阻。

试题详情


同步练习册答案