题目列表(包括答案和解析)

 0  165372  165380  165386  165390  165396  165398  165402  165408  165410  165416  165422  165426  165428  165432  165438  165440  165446  165450  165452  165456  165458  165462  165464  165466  165467  165468  165470  165471  165472  165474  165476  165480  165482  165486  165488  165492  165498  165500  165506  165510  165512  165516  165522  165528  165530  165536  165540  165542  165548  165552  165558  165566  447348 

16.(8分)甲、乙两水平弹簧振子,振动图象如图所示,已知甲乙振子质量之比为mm=2∶1,弹簧的劲度系数之比为k:k=1:2,则它们的周期之比TT=_____________;它们的最大加速度之比为aa=_____________。

试题详情

15.将一个力电传感器连接到计算机上就可以测量快速变化的力。图甲中O点为单摆的固定悬点,现将小摆球(可视为质点)拉至A点,此时细线处于张紧状态,释放摆球,则摆球将在竖直平面内的AC之间来回摆动,其中B点为运动中的最低位置,∠AOB=∠COBqq很小。由计算机得到的细线对摆球的拉力大小F随时间t变化的曲线如图乙所示,根据力学规律和题中所给的信息可做出的判断是:

A.单摆的振动周期是0.4π s  B.t=0.2πs摆球正经过最低点

  C.摆球运动过程中机械能减小  D. t=0.2πs摆球正经过最高点

   

第Ⅱ卷   (共50分)

试题详情

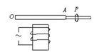
14.如图所示,OA是水平放置的弹性薄钢片,左端固定于O点,右端固定有一个软铁圆柱体,P为套在软铁圆柱体上的重物。调节P的位置可以改变OA上下振动的固有频率,使其在40Hz~120Hz之间变化。在A的正下方固定一个带铁心B的线圈,线圈中通有交变电流,使OA在磁场力作用下做频率为50 Hz的振动。关于OA稳定后的振动情况,下列说法中正确的是

A.无论P位于何处,频率一定是50Hz

B.无论P位于何处,频率一定是100Hz

C.P所处位置的不同,频率可能取40Hz~120Hz间的任何值

D.调节P的位置可以改变OA振动的振幅大小

试题详情

13. 让光线通过一块长方形的玻璃砖,下列判断中正确的是 

 A. 光线通过玻璃砖后发生的侧移量与玻璃的厚度有关

B. 光线通过玻璃砖后发生的侧移量与玻璃的折射率有关

C. 出射光线方向不变是因为没有发生折射

D. 测玻璃砖折射率一定用上下面平行的玻璃砖

试题详情

12.如图所示,曲线表示一列横波的波形,其中实线是t1=1 s时的波形,虚线是t2=2.5 s时的波形,且(t2t1)小于一个周期,由此可以判断:

A.波长一定为40 cm

B.此波一定是向x轴正方向传播的

C.振幅为10 cm

D.周期可能为6 s,也可能为2 s

试题详情

11.如图所示为某一时刻简谐波的图像,波的传播方向沿x轴正方向,下列说法中正确的是

A. 质点A、D的振幅相等

B. 在该时刻质点B、E的速度大小和方向相同

C. 在该时刻质点C、F的加速度为零

D. 在该时刻质点D正向y轴负方向运动

试题详情

10.一块透明的光学材料,AB为其一个端面,建立平面直角坐标系如图甲所示,设该光学材料的折射率沿y轴正方向(即BA方向)均匀减小,有一光线PO从空中以某一入射角射向O点,并进入该材料内部,则该光线在光学材料内部可能的传播路径是图乙中的

试题详情

9. 劈尖干涉是一种薄膜干涉,其装置如图1所示.将一块平板玻璃放置在另一平板玻璃上,

在一端夹入两张纸片,从而在两玻璃表面之间形成一个劈形空气薄膜.当光垂直入射后,从上往下看到的干涉条纹如图2所示。干涉条纹有如下特点:(1)任意一条明条纹或暗条纹所在位置下面的薄膜厚度相等;(2)任意相邻明条纹或暗条纹所对应的薄膜厚度差恒定。现若在图(1)装置中抽去一张纸片,则当光垂直入射到新的劈形空气薄膜后。则条纹   

A.变疏    

B.变密    

C.不变   

D.消失

试题详情

8. 某同学使用激光器作光源,在不透光的挡板上开一条缝宽为0.05 mm的窄缝,进行光的衍射实验,如图甲所示,则他在光屏上看到的条纹是下面乙图中的哪个?

试题详情

7. 下列说法正确的是 

A用三棱镜观察太阳看到彩色光带是利用光的干涉现象

B在光导纤维束内传送图象是利用光的全反射现象

C用标准平面检查光学平面的平整程度是利用光的偏振现象

D.圆屏阴影中心的亮斑(泊松亮斑)是光的直线传播造成的

试题详情


同步练习册答案