题目列表(包括答案和解析)

 0  167196  167204  167210  167214  167220  167222  167226  167232  167234  167240  167246  167250  167252  167256  167262  167264  167270  167274  167276  167280  167282  167286  167288  167290  167291  167292  167294  167295  167296  167298  167300  167304  167306  167310  167312  167316  167322  167324  167330  167334  167336  167340  167346  167352  167354  167360  167364  167366  167372  167376  167382  167390  447348 

4、不考虑重力作用,下列各种随时间变化的匀强电场哪些能使原来静止的带电粒子作单向直线运动:

 

试题详情

3、不考虑重力作用,有关带电粒子在电场或磁场中运动的说法哪些是正确的?

  A、在电场中可能作匀变速直线运动或匀变速曲线运动

  B、在匀强磁场中可能做匀速直线运动或变加速曲线运动

  C、在电场中不能做匀速圆周运动

  D、在匀强磁场中不能做类平抛运动

试题详情

2、  如图所示,A、B两点放有电量为+Q和+2Q的点电荷,A、B、C、D四点在同一直线上,且AC=CD=DB,将一正电荷从C点沿直线移到D点,则

A、  电场力一直做正功;        B、电场力先做正功再做负功;

C、  电场力一直做负功;        D、电场力先做负功在做正功。

D、   

试题详情

[例题选讲]

[例1]如图所示,有一磁感强度的匀强磁场,C、D为垂直于磁场方向的同一平面内的两点,它们之间的距离=0.05m,今有一电子在此磁场中运动,它经过C点的速度v的方向和磁场垂直,且与CD之间的夹角θ=30°。

    (1)电子在C点时所受的磁场力的方向如何?

(2)若此电子在运动后来又经过D点,则它的速度应是多大?

(3)电子从C点到D点所用的时间是多少?(电子的质量,电子的电量)

解析:电子以垂直磁场方向的速度在磁场中作匀速圆周运动,洛伦兹力提供向心力,依题意画运动示意图,由几何关系可求得结论。

    (1)电子在C点所受磁场力的方向如图所示。

(2)电子在洛伦兹力作用下作匀速圆周运动,夹角θ=30°为弦切角,圆弧CD所对的圆心角为60°,即∠DOC=60°,△CDO为等边三角形,由此可知轨道半径R=l。

和R=可知

        

(3)将R=代入周期公式中得

         

设电子从C点到D点所用时间为t,由于电子做匀速圆周运动,所以

由上两式得: 

代入数据得: 

[例2]如图所示,半径为a的圆形区域内有匀强磁场,磁感强度B=0.2T,磁场方向垂直于纸面向里,半径为b的金属圆环与磁场同心放置,磁场与环面垂直,其中a=0.4m,b=0.6m。金属环上分别接有灯L1、L2,两灯的电阻均为R0=2Ω。一金属棒MN与金属环接触良好,棒与环的电阻均不计。

   (1)若棒以的速率在环上向右匀速滑动,求环滑过圆环直径OO’的瞬间,MN中的电动势和流过L1的电流。

   (2)撤去中间的金属棒MN,将右面的半圆环OL2O’以OO’为轴向低面外翻转90°,若此后磁场随时间均匀变化,其变化率为,求L1的功率。

解析:(1)棒滑过圆环直径OO’的瞬时,垂直切割磁感线的有效长度为2a,故在MN中产生的感应电动势为

通过灯L1的电流

(2)撤去金属棒MN,半圆环OL2O’以OO’为轴向上翻转90°,而后磁场发生变化时,由法

拉第电磁感应定律:

则L1的功率

[例3]如图所示,边长为的正方形ABCD中有竖直向上的匀强电场。一个不计重力的带电粒子,质量为,电量为,以初速度从A点沿AD方向射入,正好从CD的中点射出。

   (1)该带电粒子带什么电?

(2)该电场的场强E=?带电粒子离开电场时的方向如何?

(3)若撤去电场,改换成匀强磁场,带电粒子仍从CD中点射出,所加磁场的方向、磁感强度B的大小如何?带电粒子离开磁场时的方向如何?

解析:(1)∵带电粒子所受电场力方向与场强方向相反

   ∴粒子应带负电。

(2)根据带电粒子离开电场时的运动方向,可得

      

   即   

   又       

(3)换成磁场后,要使带电粒子向CD中点偏转,根据左手定则磁场方向必须垂直纸面向里。

此时带电粒子做匀速圆周运动(如图所示)。

设其运动半径为R,根据几何关系,有

        得  

又根据    ∴磁感强度

即圆弧所对的圆心角为

      ∴偏转角为

[例4]如图所示,在地面上方和真空室内有互相垂直的匀强电场和匀强磁场,匀强电场方向指向轴负方向,场强,匀强磁场方向指向轴的正方向,磁感强度B=0.4T,现有一带电微粒的速度由坐标原点沿轴正方向射入真空室后立即做匀速圆周运动,从微粒有O点射入开始计时,求经过时间时微粒所处位置的坐标。()

解析:由带电粒子做匀速圆周运动可知:

   粒子所受的重力和电场力相平衡,且带负电,

        即       ①

   粒子在平面内做匀速圆周运动,根据左手定则,轨迹如图所示。

   ∵粒子运动周期        ②

  把①代入②   

    ∵   可得轨迹所对圆心角 

   又根据 

   可得粒子运动半径 

   由此可得 

       

   即粒子经的位置坐标为(0,0.1,0.03)

[例5]位于竖直平面内矩形平面导线框。水平边长L1=1.0,竖直边长L2=0.5,线框的质量,电阻R=2Ω,其下方有一匀强磁场区域,该区域的上、下边界PP’和QQ’均与平行。两边界间距离为H,H>L2,磁场的磁感强度B=1.0T,

方向与线框平面垂直。如图所示,令线框的边从离磁场区域上边界PP’的距离为处自由下落。已知线框进入磁场以后,边到达边界PP’之前的某一时刻线框的速度已到达这一段的最大值。问从线框开始下落到边刚刚到达磁场区域下边界QQ’过程中,磁场作用在线框的安培力做的总功为多少?(,不计空气阻力)

解析:依题意,线框的边到达边界PP’之前某一时刻线框速度达到这一阶段速度最大值,以表示这一最大速度,则有:在最大速度时,

dc边产生的电动势:

    线框中电流

         则

   速度达最大值条件:    即

   ∴

    边继续向下运动过程中,直至线框边到达上边界PP’,线框保持速度不变,故从线框自由下落至边进入磁场过程中,由动能定理:

      

    得安培力做的功

      

    (想一想:为什么可不考虑边再下落达到下边界QQ’呢?)

[解后反思]

    本板块内容是高考的重点之一。整个知识点与力学中的牛顿运动定律、受力分析、运动

学公式、动能定理、功能关系和动量守恒定律是密切相关的。

例如:是动能定理的一种表达形式。

例如:一个静止的原子核在匀强磁场中发生α衰变,衰变后两粒子的运动方向恰好垂直磁场方向,将在磁场中“划出”两个圆轨迹,这里既用到动量守恒定律,又用到匀速圆周运动的知识。

还有两导线由于相互间的安培力作用,也遵循了动量守恒定律。

如图1所示水平放置、间距为d的两无电阻光滑导轨,有匀强磁场B竖直向下穿过导轨平面。有质量均为,电阻均为R的两金属棒垂直导轨静置着。现给一个瞬时冲量I,则回路有感应电流产生,间有安培力相互作用,其系统动量可守恒。

当然若改成图2。棒所处位置导轨收窄为,虽然回路仍有感应电流产生,但系统动量将不守恒。想一想为什么?

不过图2仍可达到平衡状态。试分析以到达宽轨尽头之前已出现平衡的条件是什么。

可见,力学知识在这一板块的地位是多么重要啊!我们把这一板块称为“电学中的力学”也不为过。

[练习题]

1、  在电场中有A、B两点,关于这两点的场强和电势间的关系,下列说法中正确的是:

A、若场强相等,则电势一定相等;     B、若电势相等,则场强一定相等;

C、电势高处场强一定大;         D、场强大处,电势反而可能小。

试题详情

(三)磁流体发电机

[例题1](04年天津理综)磁流体发电是一种新型发电方式,如图是其工作原理示意图。左图中的长方体是发电导管,其中空部分的长、高、宽分别为,前后两个侧面是绝缘体,上下两个侧面是电阻可略的导体电极,这两个电极与负载电阻相连。整个发电导管处于右图中磁场线圈产生的匀强磁场里,磁感应强度为B,方向如图所示。发电导管内有电阻率为的高温、高速电离气体沿导管向右流动,并通过专用管道导出。由于运动的电离气体受到磁场作用,产生了电动势。发电导管内电离气体流速随磁场有无而不同。设发电导管内电离气体流速处处相同,且不存在磁场时电离气体流速为,电离气体所受摩擦阻力总与流速成正比,发电导管两端的电离气体压强差维持恒定,求:(1)不存在磁场时电离气体所受的摩擦阻力F多大;(2)磁流体发电机的电动势E的大小;(3)磁流体发电机发电导管的输入功率P

[例题2]磁流体发电机示意图如图所示,a、b两金属板相距为d,板间有磁感应强度为B的匀强磁场,一束截面积为S,速度为的等离子体自左向右穿过两板后速度大小仍为,截面积仍为S,只是等离子体压强减小了。设两板之间单位体积内等离子体的数目为n,每个离子的电量为q,板间部分的等离子体等效内阻为r,外电路电阻为R。求:

(1)等离子体进出磁场前后的压强差△P;

(2)若等离子体在板间受到摩擦阻力f,压强差△P′又为多少;

  (3)若R阻值可以改变,试讨论R中电流的变化情况,求出其最大值Im,并在图中坐标上定性画出I随R变化的图线。

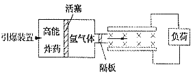
[例题3]炸药发电机是一种将高能炸药爆炸时产生的能量转化成电能,提供脉冲电压的装置。其主要有两种类型,即磁场浓缩型(MC型)和磁流体动力型(MHD型)。MHD型的发电原理如图,炸药爆炸时冲击活塞,压缩容器中的高压氩气体,产生气压达3万个大气压的高密度等离子体,此时隔板被冲开,等离子体高速喷入平行金属板间(已知板长为L,间距为d ),由于板间存在磁场,而使正负离子落到极板上产生电压。

   (1)设隔板被冲开时容器内的压强为P,从喷口喷出的等离子流单位体积内的正离子数为n,电子质量不计,每个正离子的质量为m,喷口的横截面积为S,求离子冲入极板间的速度

   (2)若极板间的磁感应强度为B0,此发电机产生的最高脉冲电压为多大?

[例题4]由于受地球信风带和盛西风带的影响,在海洋中形成一种河流称为海流。海流中蕴藏着巨大的动力资源。据统计,世界大洋中所有海洋的发电能力达109kW。早在19世纪法拉第就曾设想,利用磁场使海流发电,因为海水中含有大量的带电离子,这些离子随海流作定向运动,如果有足够强的磁场能使这些带电离子向相反方向偏转,便有可能发出电来。目前,日本的一些科学家将计划利用海流建造一座容量为1500kW的磁流体发电机。

如图所示为一磁流体发电机的原理示意图,上、下两块金属板M、N水平放置浸没在海水里,金属板面积均为S=1×103m2,板间相距d=100m,海水的电阻率=0.25Ω·m。在金属板之间加一匀强磁场,磁感应强度 B=0.1T,方向由南向北,海水从东向西以速度v=5m/s流过两金属板之间,将在两板之间形成电势差。

(1)达到稳定状态时,哪块金属板的电势较高?

(2)由金属板和海水流动所构成的电源的电动势E及其内电阻r各为多少?

(3)若用此发电装置给一电阻为20Ω的航标灯供电,则在8h内航标灯所消耗的电能为多少?

试题详情

(二)电磁流量计

[例题1](01全国理综)电磁流量计广泛应用于测量可导电流体(如污水)在管中的流量(在单位时间内通过管内横截面的流体的体积).为了简化,假设流量计是如图所示的横截面为长方形的一段管道,其中空部分的长、宽、高分别为图中的abc.流量计的两端与输送流体的管道相连接(图中虚线).图中流量计的上下两面是金属材料,前后两面是绝缘材料.现于流量计所在处加磁感强度为B的匀强磁场,磁场方向垂直于前后两面.当导电流体稳定地流经流量计时,在管外将流量计上、下两表面分别与一串接了电阻R的电流表的两端连接,I表示测得的电流值.已知流体的电阻率为,不计电流表的内阻,则可求得流量为

[例题2]如图是磁流量计的示意图,在非磁性材料做成的圆管道外加一匀强磁场区,当管中的导电液体流过此磁场区域时,小灯泡就会发光.如果导电液体流过磁场区域能使额定电压为U=3.0V的小灯泡正常发光,已知磁场的磁感强度为B=0.20T,测得圆管的直径为d=0.10m,导电液体的电阻忽略不计,又假设导电液体充满圆管流过,则管中的液体流量(液体流量为单位时间内流过液体的体积)的表达式Q=        ,其数值为      m3/s

模型区别:在原子反应堆中抽动液态金属与在医疗器械中抽动血液等导电液体时,由于不允许传动的机械部分与这些液体相接触,常使用一种电磁泵,如图所示这种电磁泵的结构,将导管放在磁场中,当电流穿过导电液体时,这种液体即被驱动,问

(1)这种电磁泵的原理是怎样的?

(2)若导管内截面积为w×h,磁场的宽度为L,磁感应强度为B(看成匀强磁场),液体穿过磁场区域的电流强度为I,如图所示,求驱动力造成的压强差为多少?

试题详情

(一)霍尔模型

[例题1](2000年高考理综卷)如图所示,厚度为h、宽为d的导体板放在垂直于它的磁感应强度为B的均匀磁场中,当电流通过导体板时,在导体板的上侧面A和下侧面A′之间会产生电势差,这种现象称为霍尔效应。实验表明,当磁场不太强时电势差U,电流IB的关系为U=kIB/d, 式中的比例系数k称为霍尔系数。

霍尔效应可解释如下:外部磁场的洛伦兹力使运动的电子聚集在导体板的一侧,在导体板的另一侧出现多余的正电荷,从而形成横向电场,横向电场对电子施加与洛伦兹力方向相反的静电力,当静电力与洛伦兹力达到平衡时,导体板上下两侧之间就会形成稳定的电势差。

设电流I是由电子定向流动形成的,电子的平均定向速度为v,电量为e,回答下列问题:

(1)达到稳定状态时,导体板上侧面A的电势    下侧面A的电势(填高于、低于或等于)。

(2)电子所受的洛伦兹力的大小为      。 

(3)当导体板上下两侧之间的电势差为U时,电子所受的静电力的大小为   

(4)由静电力和洛伦兹力平衡的条件,证明霍尔系数K=1/ne,其中n代表导体板单位体积中电子的个数。

[例题2](半导体是导电性介于导体和绝缘体之间的材料.参与半导体导电的粒子--载流子有两种:自由电子和空穴,自由电子导电是大家所熟悉的,不过半导体中的自由电子浓度比金属中小得多.“空穴”可以看成是带正电粒子,空穴的定向移动也形成电流,那就是空穴导电,这样我们就可以以参与导电的载流子不同而将半导体分为两类:P型半导体和N型半导体,以空穴导电为主的半导体叫P型半导体,以自由电子导电为主的半导体叫N型半导体.如图所示,是为了检验半导体材料的类型和对材料性能进行测试的装置示意图,图中一块半导体样品板放在垂直于板平面水平向里的匀强磁场中,当有大小为I的恒定电流垂直于磁场方向通过样品板时,在板的上、下两个侧面之间会产生个恒定的电势差

(1)如果测得,则这块样品板的载流子是正电荷还是负电荷?说明理由.

(2)设磁场的磁感应强度为B,样品板的厚度为d,宽度为b,每个载流子所带电量的绝对值为e.证明,样品板在单位体积内参与导电的载流子数目为

[例题3]一种半导体材料称为“霍尔材料”,用它制成的元件称为“霍尔元件”,这种材料有可定向移动的电荷,称为“载流子”,每个载流子的电荷量大小为1元电荷,即,霍尔元件在自动检测、控制领域得到广泛应用,如录像机中用来测量录像磁鼓的转速、电梯中用来检测电梯门是否关闭以自动控制升降电动机的电源的通断等.

 在一次实验中,一块霍尔材料制成的薄片宽、长、厚,水平放置在竖直向上的磁感强度B=2.0T的匀强磁场中,bc方向通有的电流,如图所示,由于磁场的作用,稳定后,在沿宽度方向上产生的横向电压.

 (1)假定载流子是电子,ab两端中哪端电势较高?

 (2)薄板中形成电流I的载流子定向运动的速率多大?

(3)这块霍尔材料中单位体积内的载流子个数为多少?

[例题4]1879年美国物理学家霍尔在研究载流导体在磁场中受力性质时,发现了一种前所未知的电磁效应:若将通电导体置于磁场中,磁感应强度B垂直于电流I方向,如图所示,则在导体中垂直于电流和磁场的方向会产生一个横向电势差UH,称其为霍尔电势差,根据这一效应,在测出霍尔电势差UH、导体宽度d、厚度b、电流I及该导体的霍尔系数H(H=1/nq,其中n为单位体积内载流子即定向移动的电荷的数目,q为载流子的电量),可精确地计算出所加磁场的磁感应强度表达式是什么?

[例题5]据报道,我国最近实施的“双星”计划所发射的卫星中放置一种磁强计,用于测定地磁场的磁感应强度等研究项目。磁强计的原理如图所示,电路中有一段金属导体,它的横截面是宽为a、高为b的长方形,放在沿y轴正方向的匀强磁场中,导体中通有沿x轴正方向、电流强度为I的电流。已知金属导体单位体积中的自由电子数为n,电子电量为e。金属导电过程中,自由电子所做的定向移动可视为匀速运动。测出金属导体前后两个侧面间的电势差为U。

(1)金属导体前后两个侧面哪个电势较高?

(2)求磁场磁感应强度B的大小。

试题详情

[例题1](03江苏)汤姆生用来测定电子的比荷(电子的电荷量与质量之比)的实验装置如图所示.真空管内的阴极K发出的电子(不计初速、重力和电子间的相互作用)经加速电压加速后,穿过A′中心的小孔沿中心轴O1O的方向进入到两块水平正对放置的平行极板P和P′间的区域.当极板间不加偏转电压时,电子束打在荧光屏的中心O点处,形成了一个亮点:加上偏转电压U后,亮点偏离到O′点,O′与O点的竖直间距为d,水平间距可忽略不计.此时,在P和P′间的区域,再加上一个方向垂直于纸面向里的匀强磁场,调节磁场的强弱,当磁感应强度的大小为B时,亮点重新回到O点.已知极板水平方向的长度为L1,极板间距为b,极板右端到荧光屏的距离为L2(如图所示)。

(1)求打在荧光屏O点的电子速度的大小.(2)推导出电子的比荷的表达式.

 

[例题2]如图所示是测定光电效应产生的光电子荷质比的简要实验原理图。两块平行板相距为d,其中N为金属板,受紫外线照射后将发射出沿不同方向运动的光电子形成电流,从而引起电流计指针偏转。若调节R逐渐增大板间电压,可以发现电流逐渐减小,当电压表示数为U时,电流恰好为零,切断开关,在MN间加上垂直与纸面的匀强磁场,逐渐增大磁感应强度,也能使电流为零。当磁感应强度为B时,电流恰好为零。求光电子的荷质比e/m。

试题详情

[例题1]串列加速器是用来产生高能离子的装置。图中虚线框内为其主体的原理示意图,其中加速管中的中部b处有很高的正电势U,a、c两端均有电极接地(电势为零)。现将速度很低的负一价碳离子从a端输入,当离子到达b处时,可被设在b处的特殊装置将其电子剥离,成为正n价正离子,而不改变其速度大小,这些正n价碳离子从c端飞出后进入一与其速度方向垂直的、磁感强度为B的匀强磁场中,在磁场中做半径为R的圆周运动。已知碳离子的质量,基元电荷,求R.

[例题2](04天津)正电子发射计算机断层(PET)是分子水平上的人体功能显像的国际领先技术,它为临床诊断和治疗提供全新的手段。

(1)PET在心脏疾病诊疗中,需要使用放射正电子的同位素氮13示踪剂。氮13是由小型回旋加速器输出的高速质子轰击氧16获得的,反应中同时还产生另一个粒子,试写出该核反应方程。

(2)PET所用回旋加速器示意如图,其中置于高真空中的金属D形盒的半径为R,两盒间距为d,在左侧D形盒圆心处放有粒子源S,匀强磁场的磁感应强度为B,方向如图所示。质子质量为m,电荷量为q。设质子从粒子源S进入加速电场时的初速度不计,质子在加速器中运动的总时间为t(其中已略去了质子在加速电场中的运动时间),质子在电场中的加速次数与回旋半周的次数相同,加速质子时的电压大小可视为不变。求此加速器所需的高频电源频率f和加速电压U。

(3)试推证当R>>d时,质子在电场中加速的总时间相对于在D形盒中回旋的时间可忽略不计(质子在电场中运动时,不考虑磁场的影响)。

[例题3]电子感应加速器是利用变化磁场产生的电场来加速电子的,如图所示.在圆形磁铁的两极之间有一环形真空室,用交变电流充磁的电磁铁在两极间产生交变磁场,从而在环形室内产生很强的电场,使电子加速.被加速的电子同时在洛伦兹力的作用下沿圆形轨道运动,设法把高能电子引入靶室,能使其进一步加速.在一个半径为r=0.84m的电子感应加速器中,电子在被加速的4.2×10-3s时间内获得的能量为120MeV,这期间电子轨道内的高频交变磁场是线性变化的,磁通量从零增到1.8Wb,求:

  (1)电子在环形真空室中共绕行了多少周?

(2)有人说,根据麦克斯韦电磁场理论及法拉第电磁感应定律,电子感应加速器要完成电子的加速过程,电子轨道内的高频交变磁场也可以是线性减弱的,效果将完全一样,你同意吗?请简述理由.

[例题4](93上海)如图所示为一种获得高能粒子的装置。环形区域内存在垂直纸面向外、大小可调节的均匀磁场。质量为m、电量为+q的粒子在环中做半径为R的圆周运动。A、B为两块中心开有小孔的极板,原来电势都为零,每当粒子飞经A板时,A板电势升高为+U,B板电势仍为零,粒子在两板间的电场中得到加速。每当粒子离开时,A板电势又降为零。粒子在电场一次次加速下动能不断增大,而绕行半径不变。

⑴设t=0时,粒子静止在A板小孔处,在电场作用下加速,并开始绕行第一圈,求粒子绕行n圈回到A板时获得的总动能En

⑵为使粒子始终保持在半径为R的圆轨道上运动,磁场必须周期性递增,求粒子绕行第n圈时磁感应强度Bn

⑶求粒子绕行n圈所需的总时间tn(设极板间距远小R)

⑷在图中画出A板电势u与时间t的关系(从t=0起画到粒子第四次离开B极板)

⑸在粒子绕行的整个过程中,A板电势是否可始终保持+U?为什么?

试题详情

[例题1](2001年高考理综卷)如图是测量带电粒子质量的仪器工作原理示意图。设法使某有机化合物的气态分子导入图中所示的容器A中,使它受到电子束轰击,失去一个电子变成正一价的分子离子。分子离子从狭缝s1以很小的速度进入电压为U的加速电场区(初速不计),加速后,再通过狭缝s2s3射入磁感应强度为B的匀强磁场,方向垂直于磁场区的界面PQ。最后,分子离子打到感光片上,形成垂直于纸面而且平行于狭缝s3的细线。若测得细线到狭缝s3的距离为d导出分子离子的质量m的表达式。

 

[例题2]如图为质谱仪原理示意图,电荷量为q、质量为m的带正电的粒子从静止开始经过电势差为U的加速电场后进入粒子速度选择器。选择器中存在相互垂直的匀强电场和匀强磁场,匀强电场的场强为E、方向水平向右。已知带电粒子能够沿直线穿过速度选择器,从G点垂直MN进入偏转磁场,该偏转磁场是一个以直线MN为边界、方向垂直纸面向外的匀强磁场。带电粒子经偏转磁场后,最终到达照相底片的H点。可测量出GH间的距离为l。带电粒子的重力可忽略不计。求:(1)粒子从加速电场射出时速度v的大小。(2)粒子速度选择器中匀强磁场的磁感应强度B1的大小和方向。(3)偏转磁场的磁感应强度B2的大小。

[例题3]质谱法是测定有机化合物分子结构的重要方法,其特点之一是:用极少量(10-9g)的化合物即可记录到它的质谱,从而得知有关分子结构的信息以及化合物的准确分子量和分子式。质谱仪的大致结构如图甲所示。图中G的作用是使样品气体分子离子化或碎裂成离子,若离子均带一个单位电荷,质量为m,初速度为零,离子在匀强磁场中运动轨迹的半径为R,试根据上述内容回答下列问题:

   (1)在图中相应部位用“·”或“×”标明磁场的方向;

(2)若在磁感应强度为B特斯拉时,记录仪记录到一个明显信号,求与该信号对应的离子质荷比(m/e)。电源高压为U。

(3)某科技小组设想使质谱仪进一步小型化,你认为其研究方向正确的是            

A.加大进气量        B.增大电子枪的发射功率

C.开发新型超强可变磁场材料D.使用大规模集成电路,改造电信号放大器

[例题4]如图所示是某种质谱仪的原理示意图,它由加速电场、静电分析器和磁分析器等组成,若静电分析器通道的半径为R,均匀辐向电场的场强为E,磁分析器中有垂直纸面向外的匀强磁场,磁感应强度为B,忽略重力的影响,试问:

(1)为了使位于A处电量为q、质量为m的离子,从静止开始经加速电场加速后沿图中虚线通过静电分析器,加速电场的电压U应为多大?

(2)离子由P点进入磁分析器后,最终打在感光胶片上的Q点,该点距入射点P有多远?若有一群离子从静止开始通过该质谱仪后落在同一点Q,则该群离子具有什么共同特征?

[例题5]一种称为 " 质量分析器 " 的装置如图所示 ,A表示发射带电粒子的离子源 ,发射的粒子在加速管B中加速,获得一定速率后于C 处进人圆形细弯管 (四分之一圈弧), 在磁场力作用下发生偏转 , 然后进入漂移管道D, 若粒子质量不同或电荷量不同或速率不同 , 在一定磁场中的偏转程度也不同。如果给定偏转管道中心轴线的半径、磁场的磁感应强度、粒子的电荷量和速率,则只有一定质量的粒子能从漂移管道D中引出。已知带有正电荷q=1.6×10-19C 的磷离子, 质量为m =51.1×10-27Kg, 初速率可认为是零, 经加速管B 加速后速率为 U =7.9×105m/s,求(保留一位有效数字)

     (1) 加速管B两端的加速电压应为多大?

(2) 若圆形弯管中心轴线的半径 R=0.28m, 为了使磷离子能从漂移管道引出 , 则在图中虚线正方形区域内应加磁感应强为多大的匀强磁场?

试题详情


同步练习册答案