题目列表(包括答案和解析)

 0  169626  169634  169640  169644  169650  169652  169656  169662  169664  169670  169676  169680  169682  169686  169692  169694  169700  169704  169706  169710  169712  169716  169718  169720  169721  169722  169724  169725  169726  169728  169730  169734  169736  169740  169742  169746  169752  169754  169760  169764  169766  169770  169776  169782  169784  169790  169794  169796  169802  169806  169812  169820  447348 

6.  C     7.   D     8.  C    9.  A    10.  A

试题详情

1.  B     2.  A     3.  B    4.  A    5.  D

试题详情

2.(石景山区)质量为8×107kg的列车,从某处开始进站并关闭动力,只在恒定阻力作用下减速滑行.已知它开始滑行时的初速度为20m/s,当它滑行了300m时,速度减小到10m/s,接着又滑行了一段距离后刚好到达站台停下,那么:

(1)关闭动力时列车的初动能为多大?

(2)列车受到的恒定阻力为多大?

(3)列车进站滑行的总时间为多大?

(西城区)3.如图为一滑梯的示意图,滑梯的长度ABL= 5.0m,倾角θ=37°。 BC段为与滑梯平滑连接的水平地面。一个小孩从滑梯顶端由静止开始滑下,离开B点后在地面上滑行了s = 2.25m后停下。小孩与滑梯间的动摩擦因数为μ = 0.3。不计空气阻力。取g = 10m/s2。已知sin37°= 0.6,cos37°= 0.8。求:

(1)小孩沿滑梯下滑时的加速度a的大小;  

(2)小孩滑到滑梯底端B时的速度v的大小;   

(3)小孩与地面间的动摩擦因数μ′。  

北京市各区2009年高三上学期期末试题分类精编

力和运动

试题详情

1.(东城区)如图所示,质量为0.78kg的金属块放在水平桌面上,在与水平方向成37°角斜向上、大小为3.0N的拉力F作用下,以2.0m/s的速度向右做匀速直线运动.(sin37°=0.60,cos37°=0.80,g取10m/s2)求:

(1)金属块与桌面间的动摩擦因数;

(2)如果从某时刻起撤去拉力,撤去拉力后金属块在桌面上滑行的最大距离。

试题详情

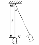
1.(宣武区)某同学在家里做用单摆测定重力加速度的实验,但没有合适的摆球,他找到了一块外形不规则的长条状的大理石块代替了摆球,他设计的实验步骤是:

A.将石块用细尼龙线系好,结点为N,将尼龙线的上端固定于O点;

B.用刻度尺测量ON间尼龙线的长度l作为摆长;

C.将石块拉开一个大约α =5°的角度,然后由静止释放;

D.从摆球摆到最高点时开始计时,测出30次全振动的总时间t,由T=t/30得出周期;

E?改变ON间尼龙线的长度再做几次实验,记下相应的lT

F?求出多次实验中测得的lT的平均值作为计算时使用的数

  据,带入公式g=(2π/T)2l求出重力加速度g。  请填空:

①   你认为该同学以上实验步骤中存在错误或不当的步骤是___________。(只填写相应的步骤代号即可)

②该同学用ON的长作l为摆长,这样做引起的系统误差将使重力

  加速度的测量值比真实值偏大还是偏小?答:__________。

③若用上述方法在两次实验中分别测得摆线长度为l1、l2若其对

  应的周期分别为T1T2,则可以比较精确地推算出重力加速度的表达式为______________。

(东城区)2.某同学用如图所示的装置测定重力加速度。

①打出的纸带如图所示,实验时纸带的______端通过夹子和重物相连接。(选填“甲”或“乙”)

②纸带上1至9各点为计时点,由纸带所示数据可算出实验时的重力加速度为______  m/s2

③当地的重力加速度数值为9.8 m/s2,请列出测量值与当地重力加速度的值有差异的一个原因                 

试题详情

1.(丰台区)如图所示,轻质光滑滑轮两侧用轻绳连着两个物体AB,物体B放在水平地面上,A、B均静止。已知AB的质量分别为mAmB,绳与水平方向的夹角为θ(θ<90º),重力加速度为g,则物体B受到的摩擦力为        ;物体B对地面的压力为       

 

试题详情

(东城区)1. 静止在光滑水平面上的物体,受到水平拉力F的作用,拉力F随时间t变化的图象如图所示,则(   )

 A.0-4s内物体的位移为零

 B.0-4s内拉力对物体做功为零

 C. 4s 末物体的速度为零

 D.0-4s内拉力对物体冲量为零

(西城区)2.如图,从地面上方某点,将一小球以5m/s的初速度沿水平方向抛出。小球经过1s落地。不计空气阻力,g =10m/s2。则可求出

(   )   

A.小球抛出时离地面的高度是5 m

B.小球从抛出点到落地点的水平位移大小是5m

C.小球落地时的速度大小是15m/s

D.小球落地时的速度方向与水平地面成300

3.(东城区)物体做曲线运动时,其加速度(   )

   A.一定不等于零    B.一定不变   C.一定改变     D.可能不变

试题详情

19.(东城区)如图所示,一同学沿一直线行走,现用频闪照相记录了他行走中9个位置的图片,观察图片,能大致反映该同学运动的速度-时间图象的是(   )

 

试题详情

18.(丰台区)一物块以某一初速度沿粗糙的斜面向上沿直线滑行,到达最高点后自行向下滑动,不计空气阻力,设物块与斜面间的动摩擦因数处处相同,下列哪个图象能正确地表示物块在这一过程中的速率与时间的关系?              (   )

                                             

试题详情

16.(西城区)在高速公路的拐弯处,通常路面都是外高内低。如图所示,在某路段汽车向左拐弯,司机左侧的路面比右侧的路面低一些。汽车的运动可看作是做半径为R的圆周运动。设内外路面高度差为h,路基的水平宽度为d,路面的宽度为L。已知重力加速度为g。要使车轮与路面之间的横向摩擦力(即垂直于前进方向)等于零,则汽车转弯时的车速应等于                              (     )

A.   B.      

C.   D.

(石景山区)17.一个以初速度沿直线运动的物体,t秒末速度为,如图,关于t秒内物体运动的平均速度和加速度的说法中,正确的是:(   )

A.

B.

C.恒定

D.随时间逐渐减小

试题详情


同步练习册答案