题目列表(包括答案和解析)

 0  169619  169627  169633  169637  169643  169645  169649  169655  169657  169663  169669  169673  169675  169679  169685  169687  169693  169697  169699  169703  169705  169709  169711  169713  169714  169715  169717  169718  169719  169721  169723  169727  169729  169733  169735  169739  169745  169747  169753  169757  169759  169763  169769  169775  169777  169783  169787  169789  169795  169799  169805  169813  447348 

3.(东城区)如图所示,在距水平地面高h=0.80m的水平桌面一端的边缘放置一个质量m=0.80kg的木块B,桌面的另一端有一块质量M=1.0kg的木块A以初速度v0=4.0m/s开始向着木块B滑动,经过时间t=0.80s与B发生碰撞,碰后两木块都落到地面上。木块B离开桌面后落到地面上的D点。设两木块均可以看作质点,它们的碰撞时间极短,且已知D点距桌面边缘的水平距离s=0.60m,木块A与桌面间的动摩擦因数μ=0.25,重力加速度取g=10m/s2。求:

(1)两木块碰撞前瞬间,木块A的速度大小;

(2)木块B离开桌面时的速度大小;

(3)木块A落到地面上的位置与D点之间的距离。

试题详情

2.(崇文区)如图所示,两物块AB并排静置于高h=0.80m的光滑水平桌面上,物块的质量均为M=0.60kg。一颗质量m=0.10kg的子弹Cv0=100m/s的水平速度从左面射入A,子弹射穿A后接着射入B并留在B中,此时AB都没有离开桌面。已知物块A的长度为0.27m,A离开桌面后,落地点到桌边的水平距离s=2.0m。设子弹在物块AB 中穿行时受到的阻力保持不变,g取10m/s2

(1)物块A和物块B离开桌面时速度的大小分别是多少;

(2)求子弹在物块B中穿行的距离;

(3)为了使子弹在物块B中穿行时物块B未离开桌面,

求物块B到桌边的最小距离。

试题详情

1.(崇文区)如图所示,质量为m=2.0kg的小滑块,由静止开始从倾角的固定的光滑斜面的顶端A滑至底端B,A点距离水平地面的高度h=5.0m,重力加速度g取10m/s2,求:

(1)滑块由A滑到B经历的时间;

(2)滑块由A滑到B的过程中重力的最大功率。

试题详情

(崇文区)1.在验证机械能守恒定律的实验中,要验证的是重物重力势能的减少量等于它动能的增加量。以下步骤仅是实验操作的一部分,将必要的步骤挑选出来,并且按正确的顺序排列:____          __(填代号)。

A.把打点计时器固定在铁架台上,并用导线把它和交流电源连    接起来

B.用天平称出重锤的质量

C.把纸带的一端固定在重锤上,另一端穿过打点计时器的限位孔,把重锤提升到一定的高度

D.用秒表测出重锤下落的时间

E.释放纸带

F.重复几次,得到3-5条符合要求的纸带

G.接通电源

2.(西城区)在利用自由落体运动验证机械能守恒定律的实验中,电源的频率为50Hz,依次打出的点为0,1,2,3,4,…,n则:

 

① 在图中所示的两条纸带中应选取的纸带是       ,原因是         

           

② 如用从起点0到第3点之间来验证,必须直接测量的物理量为       ,必须计算出的物理量为        ,验证的表达式为             

③ 下列实验步骤操作合理的顺序排列是___________   _(填写步骤前面的字母)

A.将打点计时器竖直安装在铁架台上,

B.接通电源,再松开纸带,让重物自由下落,

C.取下纸带,更换新纸带(或将纸带翻个面)重新做实验,

D.将重物固定在纸带的一端,让纸带穿过打点计时器,用手提纸带,

E.选择一条纸带,用刻度尺测出物体下落的高度h1h2h3,…hn,计算出对应的瞬时速度v1v2v3,…,vn

F.分别算出mghn,在实验误差范围内看是否相等.

④ 本实验中,计算出从0点到某点重力势能的减少量与动能的增加量相比较,是偏小还是偏大?请写出减少偏差的实验改进措施.

试题详情

(东城区)1. 静止在光滑水平面上的物体,受到水平拉力F的作用,拉力F随时间t变化的图象如图所示,则(   )

 A.0-4s内物体的位移为零

 B.0-4s内拉力对物体做功为零

 C. 4s 末物体的速度为零

 D.0-4s内拉力对物体冲量为零

2.(丰台区)在奥运比赛项目中,高台跳水是我国运动员的强项.质量为m的跳水运动员进入水中后受到水的阻力而竖直向下做减速运动,设水对他的阻力大小恒为F,那么在他减速下降深度为h的过程中,下列说法正确的是(g为当地的重力加速度)  (   )

A.他的动能减少了Fh

B.他的重力势能减少了mgh

C.他的机械能减少了(Fmg)h

D.他的机械能减少了Fh

试题详情

7.(石景山区)一位高三学生以恒定的速率从学校教学楼的一层上到四层,该同学上楼过程中克服自身重力做的功最接近:                          (   )

A.60 J     B.6.0×102 J     C.6.0×103 J     D.6.0×104 J

(西城区)8.如图所示,一单摆摆长为L,摆球质量为m,悬挂于O点。现将小球拉至P点,然后释放,使小球做简谐运动,小球偏离竖直方向的最大角度为θ。已知重力加速度为g在小球由P点运动到最低点P的过程中        

A.小球所受拉力的冲量为0

B.小球所受重力的冲量为

C.小球所受合力的冲量为

D.小球所受合力的冲量为

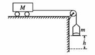
(宣武区)9.如图所示,把小车放在光滑的水平桌面上,用轻绳跨过定滑轮使之与盛有沙子的小桶相连,已知小车的质量为M,小桶与沙子的总质量为m,把小车从静止状态释放后,在小桶下落竖直高度为h的过程中,若不计滑轮及空气的阻力,下列说法中正确的是()

①绳拉车的力始终为mg

②当M远远大于m时,才可以认为绳拉车的力为mg

③小车获得的动能为mgh

④小车获得的动能为 Mmgh/(M+m)

A.①③      B.②④  C.①④    D.②③

试题详情

4.(东城区)下列说法正确的是(  )              

A.质点做自由落体运动,每秒内重力所做的功都相同

B.质点做平抛运动,每秒内动量的增量都相同

C.质点做匀速圆周运动,每秒内合外力的冲量都相同

D.质点做简谐运动,每四分之一周期内回复力做的功都相同

(海淀区)5.如图12所示,一质量为m的金属杆ab,以一定的初速度v0从一光滑平行金属轨道的底端向上滑行,轨道平面与水平面成θ角,两导轨上端用一电阻相连,磁场方向垂直轨道平面向上,轨道与金属杆ab的电阻不计并接触良好。金属杆向上滑行到某一高度h后又返回到底端,在此过程中    (  )

A.整个过程中合外力的冲量大小为2mv0

B.下滑过程中合外力所做的功等于电阻R上产生的焦耳热

C.下滑过程中电阻R上产生的焦耳热小于

D.整个过程中重力的冲量大小为零

(海淀区)6. 如图15所示,BD是竖直平面上圆的一条竖直直径,AC是该圆的任意一条直径,已知ACBD不重合,且该圆处于匀强电场中,场强大小为E,方向在圆周平面内。将一带负电的粒子QO点以相同的动能射出,射出方向不同时,粒子会经过圆周上不同的点,在这些所有的点中,到达A点时粒子的动量总是最小。如果不考虑重力作用的影响,则关于电场强度的下列说法中正确的是  (   )

A.一定由C点指向A点     B.一定由A点指向C

C.可能由B点指向D点?    D.可能由D点指向B

试题详情

2.(崇文区)一辆汽车在平直公路上以恒定功率加速行驶,行驶过程中受到的阻力不为零,下列说法正确的是(   )

A.速度增量与加速时间成正比

B.动能增量与加速时间成正比

C.能达到的最大速度与阻力成反比

D.加速度与牵引力成正比

(崇文区)3.质量相等的两木块AB用一轻弹簧栓接,静置于水平地面上,如图(a)所示。现用一竖直向上的力F拉动木块A,使木块A向上做匀加速直线运动,如图(b)所示。从木块A开始做匀加速直线运动到木块B将要离开地面时的这一过程,下列说法正确的是(设此过程弹簧始终处于弹性限度内 )(   )

A.力F一直增大

B.弹簧的弹性势能一直减小

C.木块A的动能和重力势能之和先增大后减小

D.两木块A、B和轻弹簧组成的系统的机械能先增大后减小

试题详情

1.(崇文区)如图所示,一个质量为0.18kg的垒球,以25m/s的水平速度飞向球棒,被球棒打击后反向水平飞回,速度大小变为45m/s,设球棒与垒球的作用时间为0.01s。下列说法正确的是(   )

①球棒对垒球的平均作用力大小为1260N

②球棒对垒球的平均作用力大小为360N

③球棒对垒球做的功为126J

④球棒对垒球做的功为36J

A.①③  

B.①④   

C.②③  

D.②④

试题详情

3.

解:(1)由楞次定律(或右手定则),线框中感应电流的方向为逆时针(或abcda)…………(2分)

(2)设t=2.0s时的速度为v,据题意有:BLv=IR 解得m/s=0.4m/s………(3分)

(3)设t=5.0s时的速度为v′,整个过程中线框中产生的焦耳热为Q,则有:

BLv′=I′R………………………………(1分),  …………………………(2分)

由上述两式解得:J=1.67J……………………(1分)

4?

(1)(共4分)线框在磁场区域做匀速运动时,其受力如图所示:

  ∴  F=mgsinθ

 又安培力:     F=BIl       (1分)

 感应电流:     I=E/R

 感应电动势:     E=Blv      (1分)

 解得匀速运动的速度: v=mgRsinθ/B2l2(2分)

(2)(共2分)在进入磁场前,线框的加速度a=gsinθ    (1分)

  所以线框进入磁场前下滑的距离s= =(1分)

(3)(共2分)过程中线框沿斜面通过了2 l的距离,所以:Q=mg·2lsinθ

试题详情


同步练习册答案