0  123434  123442  123448  123452  123458  123460  123464  123470  123472  123478  123484  123488  123490  123494  123500  123502  123508  123512  123514  123518  123520  123524  123526  123528  123529  123530  123532  123533  123534  123536  123538  123542  123544  123548  123550  123554  123560  123562  123568  123572  123574  123578  123584  123590  123592  123598  123602  123604  123610  123614  123620  123628  447090 

10、关于额定功率与实际功率,下列说法正确的是(   )

  A.额定功率大的用电器工作时电流做功快;

  B.实际功率大的用电器工作时电流做功快;

  C.额定功率大的用电器工作时消耗电能多;

  D.实际功率大的用电器工作时消耗电能多。

试题详情

9.如图6所示的电路中(电源电压不变),闭合电键S后,当滑动变阻器的滑片自左向右移动时,下列判断中正确的是(  )

  A.电流表的示数不变,电压表的示数不变  B.电流表的示数变大,电压表的示数变小

  C.电流表的示数变大,电压表的示数变大  D.电流表的示数变小,电压表的示数不变

试题详情

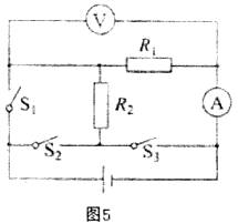
8.图5所示的电路中,电源电压恒定、断开S1、S3,闭合S2,两电表均有示数;再断开S2,闭合S1、S3,此时两电表的示数与前者相比(   )

  A.两表示数均变大          B.两表示数均变小

  C.电流表示数变大,电压表示数变小   D.电流表示数变小,电压表示数变大

试题详情

7.图4所示的电路中,电源电压恒定、闭合开关S后,电路正常工作,多了一会儿,两电表的示数突然都变为零,则该电路中出现的故障可能是(   )

  A.电阻R断路   B.电阻R短路   C.灯L断路   D.灯L短路

试题详情

6、居民楼的楼道里,夜间只是偶尔有人经过,楼道灯总是亮着造成很大浪费。科研人员利用“光敏”材料制成“光控开关”,它的作用是天黑时自动闭合,天亮时自动断开;利用“声敏”材料制成“声控开关”,它的作用是当有人走动发出声音时自动闭合,无人走动时自动断开。图3所示电路中,属于楼道灯电路的是(  )

试题详情

5、当将滑动变阻器的滑片P向右移动时,下图2中的哪一种连接方法可使变阻器连入电路部分的电阻增大?

试题详情

4、汽油机的一个工作循环是由四个冲程组成的,图1中表示做功冲程的是(  )

试题详情

3、沿海地区,昼夜温差较小,而内陆沙漠地区的昼夜温差较大,这主要是因为(  )

  A.海水的密度小,砂石的密度大   B.海水的比热大,砂石的比热小

  C.海水的内能多,砂石的内能少   D.海水吸收的热量少,砂石吸收的热量多

试题详情

2、关于物体的内能和温度,下列说法中正确的是(   )

  A、如果体积变化不大,同一物体温度越高内能越大;

  B、内能多的物体,其温度一定高:

  C、0℃的物体不具有内能。

  D、烧红了的铁钉的内能一定比一桶沸水的内能要大;

试题详情

说明:每小题只有一个正确答案,请将正确答案的序号填在括号内。

1、冬天,在暖和的教室的玻璃窗上会“出汗”或结“冰花”。下列有关说法错误的是(  )

  A.玻璃窗上的“汗”是水蒸气液化生成的

  B.玻璃窗上的“冰花”是水蒸气凝华生成的

  C.“冰花”结在玻璃窗的内表面

  D.“汗”出在玻璃窗的外表面

试题详情


同步练习册答案