0  123432  123440  123446  123450  123456  123458  123462  123468  123470  123476  123482  123486  123488  123492  123498  123500  123506  123510  123512  123516  123518  123522  123524  123526  123527  123528  123530  123531  123532  123534  123536  123540  123542  123546  123548  123552  123558  123560  123566  123570  123572  123576  123582  123588  123590  123596  123600  123602  123608  123612  123618  123626  447090 

15、甲、乙两个灯泡分别标有“220V,40W”、“220V,60W”字样,并联在220V电源上,通过灯丝电流强度大的是_________灯泡,灯丝电阻较大的是_________灯泡.如果两灯泡钨丝长短一样,则钨丝较粗的是_______,使用相同时间,甲、乙两灯消耗的电能之比是_______.

试题详情

14、电动机具有结构简单,操作方便、效率高、无污染等优点,电动机的原理是_____________;许多家电中都有电动机,例如__________________等,电动机工作时主要将_________能转化为_________能。

试题详情

13、家庭电路中的触电事故,都是人体直接或间接跟__________线接触造成的.为了用电安全,家用电冰箱的外壳一定要_________.

试题详情

12.如图7所示,当闭合开关S,且将滑动变阻器滑片P向左移动时,图中的电磁铁(  )

  A.a端是N极,磁性增强   B.b端是N极,磁性增强

  C.a端是S极,磁性减弱   D.b端是S极,磁性减弱

图7

试题详情

11、现有两个小灯泡,上面分别标有“6V,1.2w”和“12V,6W”字样,如果把这两个灯泡串联起来,为了使其中一个灯泡持续正常发光,那么加在串联电路两端的电压是(  )

  A.9.4V   B.10.8V   C.18V   D.27V

试题详情

10、关于额定功率与实际功率,下列说法正确的是(   )

  A.额定功率大的用电器工作时电流做功快;

  B.实际功率大的用电器工作时电流做功快;

  C.额定功率大的用电器工作时消耗电能多;

  D.实际功率大的用电器工作时消耗电能多。

试题详情

9.如图6所示的电路中(电源电压不变),闭合电键S后,当滑动变阻器的滑片自左向右移动时,下列判断中正确的是(  )

  A.电流表的示数不变,电压表的示数不变  B.电流表的示数变大,电压表的示数变小

  C.电流表的示数变大,电压表的示数变大  D.电流表的示数变小,电压表的示数不变

试题详情

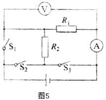
8.图5所示的电路中,电源电压恒定、断开S1、S3,闭合S2,两电表均有示数;再断开S2,闭合S1、S3,此时两电表的示数与前者相比(   )

  A.两表示数均变大          B.两表示数均变小

  C.电流表示数变大,电压表示数变小   D.电流表示数变小,电压表示数变大

试题详情

7.图4所示的电路中,电源电压恒定、闭合开关S后,电路正常工作,多了一会儿,两电表的示数突然都变为零,则该电路中出现的故障可能是(   )

  A.电阻R断路   B.电阻R短路   C.灯L断路   D.灯L短路

试题详情

6、居民楼的楼道里,夜间只是偶尔有人经过,楼道灯总是亮着造成很大浪费。科研人员利用“光敏”材料制成“光控开关”,它的作用是天黑时自动闭合,天亮时自动断开;利用“声敏”材料制成“声控开关”,它的作用是当有人走动发出声音时自动闭合,无人走动时自动断开。图3所示电路中,属于楼道灯电路的是(  )

试题详情


同步练习册答案