0  125468  125476  125482  125486  125492  125494  125498  125504  125506  125512  125518  125522  125524  125528  125534  125536  125542  125546  125548  125552  125554  125558  125560  125562  125563  125564  125566  125567  125568  125570  125572  125576  125578  125582  125584  125588  125594  125596  125602  125606  125608  125612  125618  125624  125626  125632  125636  125638  125644  125648  125654  125662  447090 

27.(6分)质量相等、初温相同的水和某种液体,在相同的时间内,相同的条件下同时给它们加热。每隔1min记录一次温度,得到温度随时间变化的图像如图所示,求:

(1)这种液体的比热容

(2)要使20kg这种液体加热10分钟,需要吸收多少热量?

试题详情

26.(8分)小星家的太阳能热水器,水箱容积是200L。小星进行了一次观察活动:某天早上,他用温度计测得自来水的温度为20℃,然后给热水器水箱送满水,中午时“温度传感器”显示水箱中的水温为45℃.请你求解下列问题:

(1)水箱中水的质量;水吸收的热量[c=4.2×103J/(kg·℃)](4分)

(2)如果水吸收的这些热量,由燃烧煤气来提供,而煤气灶的效率为40%,求至少需要燃烧多少煤气(煤气的热值为q=4.2×107J/kg)(4分)

试题详情

25.(14分)(1)在如图甲所示的实验中,当瓶塞从瓶口跳起时,瓶中会出现    ,出现这一现象的原因是           ,这一现象说明        

(2)如图乙所示,分别往热水和冷水中滴入几滴红墨水,看到的现象属于      现象,此现象说明,温度越高,     就越快。

(3)如图丙所示,用细线把干净的玻璃板吊在弹簧测力计的下面,记下测力计的读数,然后使玻璃板水平接触水面,稍稍向上的拉玻璃板,在玻璃板离开水面之前,弹簧测力计示数    (填“变大”、“变小”、“不变”),这个现象说明         。

试题详情

24.(6分)为研究物质的某种特性,小明选取水、煤油两种物质做实验,下表记录了实验测量的数据以及老师帮助小明求得的有关数据。

 
物质
质量
m/kg
初温
t0/℃
末温
t/℃
升高温度
t-t0/℃
吸收热量
Q/J

0.05
10
15
5
1050
0.05
10
20
10
2100
0.10
10
20
10
4200
煤油
0.05
12
17
5
525
0.05
12
20
10
1050
0.10
12
20
10
2100

请你根据表格中的内容进行分析:

可初步得出的结论是

                                      

                                    

③________________________________________________________________________

试题详情

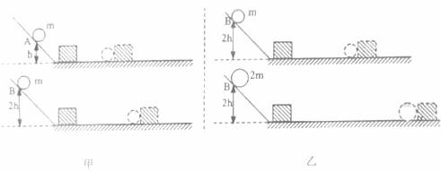
23.(6分)小明为了探究动能的大小与哪些因素有关,他设计了如图甲、乙所示的实验,

(1)让质量相同的两个小球沿同一光滑斜面分别从A处和B处开始向下运动,然后与放在水平面上的纸盒相碰,纸盒在水平面上移动一段距离后静止,如图甲所示。

(2)让不同质量的两个小球沿同一光滑斜面分别从B处开始向下运动,然后与放在水平面上的纸盒相碰,纸盒在水平面上移动一段距离后静止,如图乙所示。

上述甲、乙两组实验中:

(1)要探究动能与物体运动速度的关系应选用  图,选择的理由是:          。

(2)乙图中让不同质量的两个小球从同一高度滚下的目的是         。

(3)甲、乙两组实验可以得出的结论是                   

试题详情

22.从自来水管的水龙头中流出来的水。在水流不散开的情况下,越向下流。水流越粗还是越细? 请解释这一现象.

试题详情

21.用笔画线表示导线,按照图(甲)所示的电路图,将图(乙)中各元件连接起来。(导线不允许交叉)

 

试题详情

20.去年暑假小科同学去外地旅游时发现两个现象:

(1)在公交车上,她发现在后门的两侧扶手上,各装有一个按钮(如图甲所示,相当于一个开关),想要下车的乘客只要按下任何一个按钮,装在驾驶台上的电铃都会发声,提醒司机有乘客需要下车;

(2)火车的车厢后面有两间厕所,只有当两间厕所的门都关上时(每扇门的插销相当于一个开关),车厢中的指示牌内的指示灯才会发光,指示牌就会显示“厕所有人”字样,如图乙所示,提醒旅客两间厕所内都有人。

这里面的电路是怎样设计的?请你帮小科把答题卷图中的各元件符号连接成符合要求的电路图。

 

试题详情

19.电路如图所示,闭合开关后,电路将__________,要使电路中两灯串联,只要拆除导线_____________

试题详情

18.如图所示是小亮同学用相同的酒精灯给质量相等的甲、乙两种物质加热时,根据测量结果描绘出的温度--时间图像。由图可知,甲物质的比热容     (填“>”、“<”或“=”)乙物质的比热容,其中    物质是晶体。

试题详情


同步练习册答案