0  194363  194371  194377  194381  194387  194389  194393  194399  194401  194407  194413  194417  194419  194423  194429  194431  194437  194441  194443  194447  194449  194453  194455  194457  194458  194459  194461  194462  194463  194465  194467  194471  194473  194477  194479  194483  194489  194491  194497  194501  194503  194507  194513  194519  194521  194527  194531  194533  194539  194543  194549  194557  447090 

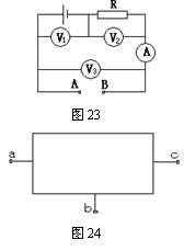
27.图23所示电路,电源电压恒定,A、B两端接电阻。图24为一个暗盒,盒中装有由两个电阻和导线组成的电路,盒外a、b、c是该电路的三个接线柱。某同学把接线柱a、b;a、c;b、c分别连接到图24电路的A、B两端进行实验,测得各电表的示数如表1所示。

(1)表1中有一些空格漏填,请你根据题意完成表1空格的填写。

(2)某同学为了验证实验数据,依照表1的实验序号重新实验。在某次实验过程中,发

现两个电压表示数相等,电流表A示数为0.2A。请你完成表2的填写,并分析产生这

现象原因可能是      

(3)根据表1中的实验数据分析,图25暗盒中的两个电阻R1=    Ω,R2=    Ω,请画出暗盒内两个电阻和a、b、c的连接图,并标明R1、R2

 

表1:实验数据表
 

实验序号
A、B两端分别连接接线柱
A表示数/A
V1表示数/V
V2表示数/V
V3表示数/V
1
a、b
0.2
6
 
4
2
a、c
 
6
1.5
4.5
3
b、c
0.3
6
3
3

表2:某次实验测得数据
 

对应表一中的实验序号
A表示数/A
V1表示数/V
V2表示数/V
V3表示数/V
 
0.2
6
 
 

试题详情

26.一只额定电压是6V的小灯泡,其正常工作时通过的电流约为0.3A。小明想测定这个小灯泡的额定功率,实验室有如下器材:电源(电压为12V)、电流表、电压表、开关各一只,三只规格分别为“20Ω 1A”、“50Ω  0.5A”和“100Ω 0.2A”的滑动变阻器,导线若干。

(1)小明设计了图19所示电路图,你认为应选用规格为        的滑动变阻器。

(2)图20中已连接了部分电路。请你根据电路图,将电路连接完整。

(3)小明正确选择了滑动变阻器,将图21的电路补充连接后,闭合开关,发现灯泡发光较暗,电流表有示数,任意移动滑动变阻器的滑片,电压表示数不变(示数不为零)且小于6V。具体原因是           

(4)小明排除故障后,继续实验,当电压表的示数为6V时,电流表的示数如图21所示,通过小灯泡的电流为_________A,小灯泡的额定功率是_________W。

(5)做完实验后,小明将测灯泡实际功率实验与以前做过的测某一固定电阻阻值的实验进行比较,发现这两个实验有许多相似的地方,也有不同之处。请你写出一个不同之处:

_______________________________________。

(6)小明根据测量灯泡实际功率的多组实验数据,作出了I-U图象,如图22所示。结果

发现图线不是直线,这表明灯泡的电流与电压不成正比,这是为          

试题详情

25.图18是同学们安装过的直流电动机模型。

(1)在某次安装直流电动机模型活动中,小孙、小金、小星各

自把安装好的电动机接入电路,闭合开关线圈均不转。若小

孙用手轻轻一推转子,线圈就转动起来,则她的线圈不转的

原因是         ;若小金用手轻轻把电刷(铜片)弯

曲一下,线圈就转动起来,则她的线圈不转的原因是          ;若小星在原磁体上加一块磁体,线圈就转动起来,则她的线圈不转的原因是        

(2)线圈正常转动后,若把电源的两极对调一下,观察到线圈转动的_________发生变化;若改变线圈中的电流大小,观察到线圈转动的___________发生变化。

(3)许多家用电器用到电动机,请你列举一种装有电动机的家用电器的名称是    

试题详情

24.俯卧撑是同学们经常做的健身活动,试设计一个测量俯卧撑做功功率的方案。

(1)需要的测量器材有       

               

(2)测量的原理是        

(3)在虚线框内画出记录数据的表格。

试题详情

23.给你一个低压电池组、一只灯泡、一只开关、一只电铃和若干细导线,请你设计一个家庭门窗报警的装置。要求:合上开关后,屋内灯亮而铃不响;当有人拉开窗户时,连接在窗户上的细导线被拉断,电铃便会响起来,从而报警。请按设计的要求将图17中元件连成电路。

试题详情

22.如图16所示,螺线管通电后,能使小磁针在图示位置稳定,请标出螺线管的磁极并画出螺线管的绕法。

 

试题详情

21.居民楼的楼道里,夜间楼道灯一直亮着会造成浪费。科研人员用“光敏”材料制成“光控开关”,它能在天黑时自动闭合,天亮时自动断开;利用“声敏”材料制成“声控开关”,它能在有人走动发出声音时闭合,无人走动时自动断开。请将图15中的“光控开关”、“声控开关”、灯泡用笔画线代替导线正确连入电路,要求只有在夜间有声音时灯才亮的自动控制电路,同时安装一个不受开关控制的三孔插座。

试题详情

20.如图14,开瓶盖的起子可以看作是一个杠杆,请画出起子开瓶时在C点所用的最小动力并标出其力臂。

 

试题详情

19.我国的登月工程分三个阶段进行,其中发射首颗月球探测卫星“嫦娥

一号”是这一工程的第一个阶段,于2007年10月24日由“长征三号甲”运载火箭发射升空。火箭载着“嫦娥一号”卫星在加速上升过程中机械能     (变大/变小/不变),这个能量是由     能转化而来的,运载火箭用液态氢为燃料,是

因为       。由于地球自西向东不停地自转,为节省燃料,火

箭升空后应向     (偏东/偏西)方向飞行。11月5日,“嫦娥一

号”卫星沿地月转移轨道到达月球,在距月球表面200km的P点进

行第一次“刹车制动”后被月球捕获而进入椭圆轨道Ⅰ绕月飞行,如

图13所示,之后,卫星在P点又经过两次“刹车制动”, 最终在距

月球表面200km的圆形轨道Ⅲ上绕月球做匀速圆周运动。若在轨道Ⅰ、

轨道II、轨道Ⅲ卫星经过P点的速度分别为V1、V2、V3,则三个

速度    (V1/V2/V3/一样)大。

试题详情

18.如图12所示,电源电压12V保持不变,小灯泡标有“3V 1.5W”字

样,电流表的量程是0~0.6A,滑动变阻器的规格是“50Ω 1A”,为

了保证电路各元件都能安全使用,则滑动变阻器连入电路的阻值至少

     Ω,整个电路允许消耗的最大功率是     w。

试题详情


同步练习册答案