0  246219  246227  246233  246237  246243  246245  246249  246255  246257  246263  246269  246273  246275  246279  246285  246287  246293  246297  246299  246303  246305  246309  246311  246313  246314  246315  246317  246318  246319  246321  246323  246327  246329  246333  246335  246339  246345  246347  246353  246357  246359  246363  246369  246375  246377  246383  246387  246389  246395  246399  246405  246413  447090 

26.读甲、乙两幅区域图,完成下列问题。(13分)

(1)比较甲、乙两图所示区域内的相关内容,完成下列表格。(8分)

 

 

 
自然带类型
 
 
 
主要气象灾害
暴雨洪涝、干旱
寒潮
主要气象灾害形成原因
 
 
主要农业地域类型
 
 

 (2)比较A城市与芝加哥两城市兴起和发展的交通区位条件的异同点。(5分)

城市
A
芝加哥
 
相同点
 
 
 
 
 
不同点
 
 
 
 
 
 

试题详情

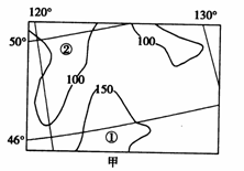
当地面或物体表面温度在0℃以下时,空气中的水汽会在其表面凝结成白色结晶,称为霜。一般把入秋后最早出现的一次霜叫初霜,而入春后最末出现的一次霜叫终霜。一年中,终霜后至初霜前的这段时间叫无霜期。下面是两地无霜期等值线图(单位:日)。读图回答24-25题。

24.乙地比甲地无霜期长的原因是乙地

A.纬度比甲地低   B.地势起伏比甲地大  C.海拔比甲地低  D.气候海洋性比甲地强

25.甲图中①、②两地无霜期差值T范围是

A.100<T<150      B.50<T<150 

C.150<T<200     D.50<T<100

试题详情

下图是“沿106.5°E经线的地形剖面及相关气候资料图”,据图回答22-23题。

22.图中③地形区的名称为      

  A.渭河谷地      B.汉中谷地      C.四川盆地     D.黄土高原

23.1月,④地气温高于①地的原因除纬度因素外,主要是因为④地

  A.海拔较高  B.受夏季风影响较大  C.森林覆盖率高  D.受冬季风影响较小

试题详情

21.影响下图中A处等值线向北凸出的主要因素是

A.纬度  B.地形 C.大气环流 D.洋流

试题详情

读下图中①、②、③、④四图“两组同纬度地区等降水量线图”,回答17-20题。

17.①图和②图所示地区降水差异大的原因是

A.②图地区受台风影响      B.①图地区深处内陆

C.②图多对流雨         D.①图地区接受太阳辐射量大

18.③图所示地区

A.降水沿河谷方向递减,说明湿润气流从上游吹来

B.该区的河流夏季多东南风活动

C.降水分布受地形影响小

D.该区局部地点比同纬度地区降水量丰富

19.④图所示地区的主要农业地域类型为

A.外向型特色农业和水稻种植业   B.彩色农业   C.混合农业   D.乳畜业

20.②图所示地区和④图所示地区农业生产的区位因素主要差异是

A.水热条件   B.土壤条件   C.海陆位置   D.国家政策

试题详情

根据下表的气候资料,回答15-16题。

序号
最热月均温(0C)
最冷月均温(0C)
季节降水量(毫米)
3-5月
6-8月
9-11月
12-2月

15.5
-2.2
43
326
73
1

24.5
-10.7
68
380
110
45

20.9
9.5
134
614
255
34

26.2
-4.6
57.1
479
84
10.7

15.①-④地所在地形区对应正确的是

A.①华北平原 ②云贵高原 ③东北平原 ④雅鲁藏布江谷地

B.①雅鲁藏布江谷地 ②云贵高原 ③长江中下游平原 ④华北平原

C.①雅鲁藏布江谷地 ②东北平原 ③云贵高原 ④华北平原

D.①云贵高原 ②东北平原 ③华北平原 ④雅鲁藏布江谷地

16.四个地区适宜种植的农作物排序正确的是

A.①小麦 ②水稻 ③棉花 ④青稞  B.①青稞 ②甜菜 ③水稻 ④小麦

C.①青稞 ②小麦 ③水稻 ④油菜  D.①水稻 ②甜菜 ③小麦 ④油菜

试题详情

据右图回答13-14题。 

13.图示地区自然灾害频繁,发生在春季的主要有

①干旱    ②台风    ③凌汛    ④泥石流    ⑤寒潮

A.①②     B.①③⑤    

C.③④⑤    D.②③④

14.关于图中的叙述正确的是

A.该河段河流水与地下水是互相补给的关系

B.图中古冲积扇分布区土壤比较贫瘠

C.塑造该地貌形态主要外力作用是流水作用

D.夏半年该区有梅雨与伏旱现象

试题详情

根据表1资料,回答10-12题。

表1   我国四省(区)人口及部分自然资源统计数据(2006年)

省(区)
城镇人口占总人口的比重(%)
耕地面积(万公顷)
水资源总量(亿立方米)
木林总蓄积量(亿立方米)

34.3
532.5
1865.8
15.8

53.5
1539.1
727.9
15.0

51.9
542.4
404.4
0.4

31.1
361.0
184.6
2.0

10.表1中①、②、③、④所示省(区)的简称依次是

A.川、黑、苏、陇        B. 苏、川、陇、黑

C.黑、川、陇、苏        D. 陇、黑、川、苏

11.下列推理,其过程和结论正确的是

A.耕地面积①比②小,因此.山区面积①比②大

B.水资源总量②比③多,因此,年降水量②比③大

C.城镇人口占总人口比重①比③小,因此,乡村人口比重①比③大

D.木材总蓄积量③比④少,因此,森林覆盖率③比④低

12.有关四省(区)农业生产地叙述.正确的是

A.①省(区)农业气候资源优势是光热充足

B.②省(区)东部是我国著名的棉花产区

C.③省(区)南部农业耕作制度一年三熟

D.④省(区)北部灌溉用水主要是地下水和高山冰雪融水

试题详情

9.西安市城区规模进一步扩大的有利与不利自然条件有

①地表起伏较大,土地利用难度大  ②邻近的河流水量大,水源充足。

③地形平坦开阔,空间拓展余地较大 ④邻近的河流水量有限,水源不足。

A.①②    B.①④     C.③④    D.②③

试题详情

 读右图,完成6-8题。

6. 关于图中北部地区河网密布的成因,叙述正确的是

A. 该地区降水丰沛,属于湿润气候区

B. 该地区夏季降水集中,土质疏松,流水侵蚀严重

C. 该地区地形平坦,水流缓慢

D. 该地区气候寒冷,冰川作用强烈

7. 从图中水库分布看,修建水库的主要意义是

A. 防洪    B. 发电    C. 养殖  D. 防治水土流失

8. 三门峡水电站的修建对渭河的影响有

①流速降低 ②加快泥沙淤积 ③水位升高,河流水面变宽 ④水量减少

A.①②③      B.①③④     C.②③④     D.①②④

试题详情


同步练习册答案