0  265495  265503  265509  265513  265519  265521  265525  265531  265533  265539  265545  265549  265551  265555  265561  265563  265569  265573  265575  265579  265581  265585  265587  265589  265590  265591  265593  265594  265595  265597  265599  265603  265605  265609  265611  265615  265621  265623  265629  265633  265635  265639  265645  265651  265653  265659  265663  265665  265671  265675  265681  265689  447090 

1.测定金属的电阻率

⑴实验原理:

由电阻定律的表达式,可得金属丝的电阻率表达式为

      

由上式可以看出,要得出电阻率的数值,必须解决以下三个方面的问题:

①伏安法测电阻:由伏安法测出金属丝的电阻,即

    

②螺旋测微器的使用:要用螺旋测微器测出金属丝的截面直径,然后利用

     [来源:]

计算出金属丝的截面积。

③毫米刻度尺的使用:用毫米刻度尺测出金属丝的长度。

⑵注意事项:

①由于金属丝本身电阻很小,所以在用伏安法测量金属丝电阻时,电流表采用外接法。

②用螺旋测微器测量金属丝的直径时,要在金属丝的三个不同位置各测一次,然后求出平均值作为金属丝的直径。另外,螺旋测微器是一个很重要的测量工具,要掌握其读数法则,注意它的估读。

③电阻率的表达式中的是指接入电路的金属丝的有效长度,所以在用毫米刻度尺测量金属丝的长度时,一定要待电路连接好了以后,测量金属丝接入电路的两个端点之间的长度,测量时注意要将金属丝拉直。

例题1.如图1所示,是一根表面均匀的镀有很薄的的发热电阻膜的长陶瓷管(其长度左右,直径左右),镀膜材料的电阻率已知,管的两端有导电箍,现给你米尺、电压表、电流表、电源、滑动变阻器、开关和导线若干,请你设计一个测量膜层厚度的实验方案。

⑴实验中应该测定的物理量有:__________________________。

⑵在虚线框内用符号画出测量的电路图。

⑶计算镀膜厚度的表达式是:__________________。

解析:怎样用实验测出电阻膜层的厚度呢?我们想到了电阻定律,对于本题所述的电阻膜来说,即为电阻膜的长度,为电阻膜的横截面积,其值等于陶瓷管的周长与电阻膜厚度的乘积,即,于是电阻膜的厚度,式中的电阻可根据欧姆定律用伏安法测得,所以这一实验的原理可用公式表示。从这一实验原理可知,该实验需直接测定的物理量有长度、直径、电压和电流。根据题中所给的条件,可设计如图2所示的电路。

命题解读:伏安法测电阻是设计性实验中的一个重要内容,其考查重点有:电路的设计、器材的选择、实物图的连接等内容,必须根据实际情况进行相关的分析;本题中,电阻膜的横截面积并非陶瓷管的横截面积,切忌此点。

试题详情

5.逻辑电路

例题20.如图19是一个应用某种逻辑电路制作的简单车门报警电路图。图中的两个按钮开关分别装在汽车两侧的门上,只要其中的任何一个开关处于开路状态(即输入为逻辑1),那么输出也是逻辑1,发光二极管(报警灯)就发光。请你根据装置的要求,在电路图的虚线框内画出门电路符号,并完成门电路的真值表。

答案:虚线框内的电路应为“或”逻辑门电路,门电路符号和真值表见图20。

命题解读:弄清楚条件和事件之间的逻辑关系是解决这类问题的关键。条件必须同时满足才能有事件的发生,这种关系叫做“与”逻辑关系;而只要满足其中的部分条件就可以有事件的发生,这种关系叫做“或”逻辑关系。

试题详情

0.4=                      

                                

分别解得    Ω,0.1

将上述求得的结果填入表格即可。

⑶闭合电路中故障分析

例题9.如图17所示,电灯标有“”字样,滑动变阻器的总阻值为,当滑片滑至某位置时,电灯恰好正常发光,此时电流表的示数为。由于外电路发生故障,电灯突然熄灭,此时电流表示数变为,电压表示数为。若导线完好,电路中各处接触良好。试问:

⑴发生的故障是断路还是短路?发生在何处?

⑵发生故障前,滑动变阻器接入电路的阻值为多大?

⑶电源的电动势和内阻为多大?

解析:⑴电路发生故障后,电流表读数增大,路端电压也增大,因此外电路的总电阻增大,一定是外电路的某处发生断路。由于电流表有读数,电阻不可能断路,电压表也有读数,滑动变阻器也不可能断路,故只可能是电灯发生了断路。

⑵电灯断路后,外电阻只有,因无电流通过滑动变阻器,故电压表的读数即为路端电压。

    

    

电灯未断路时恰正常发光,则

    

    

    

⑶由闭合电路的欧姆定律,得

故障前  

故障后  

解得   

命题解读:分析电路故障常用排除法,在明确电路结构的基础上,从分析比较故障前后电路中电流和电压的变化入手,确立故障原因并对电路中的元件逐一分析,排除不可能情况,寻找故障所在。故障前后是电路的两个状态,可根据不同状态下物理量间的关系求解有关量。

⑷电源的伏安特性曲线及用电器的伏安特性曲线的巧用

例题19.电池甲和电池乙的电动势分别为,内电阻分别为,若用甲、乙两个电池分别向某个电阻供电,则在这个电阻上所消耗电功率相同。若用甲乙两个电池分别向另外一个电阻供电,则在电阻上消耗的电功率分别为,已知,则 

                

             

解析:在-直角坐标系中分别作出甲乙两个电池的伏安特性曲线,同时也作出电阻的伏安特性曲线,的伏安特性曲线与电池的伏安特性曲线的交点的纵、横坐标的乘积,即为电阻消耗的电功率。依题意,甲、乙两个电池分别向电阻供电时,电阻上所消耗电功率相同,则这三条线一定交于一点,如图18所示。从图中可以看出

       

所以     

同理,在上面的-直角坐标系中再作出电阻的伏安特性曲线如图所示,由图可知当甲电池接时,有

       

当乙电池接电阻时,有

       

由于      [来源:**Z*X*X*K]

所以     

故本题的正确答案为

命题解读:此题比较巧妙的利用了电源的伏安特性曲线和用电器的伏安特性曲线的交点的纵横坐标的乘积即为用电器所消耗的电功率,比较直观地解决了物理量大小的比较问题,但若是利用物理公式直接讨论将是比较麻烦的。

试题详情

0.6=                      

解以上两式,得

        Ω

所以当电流是0.4和电阻是118Ω时分别有

试题详情

4.闭合电路  欧姆定律

⑴闭合电路中动态分析

例题7.如图12所示的电路,闭合电键并调节滑动变阻器滑片的位置,使三个灯泡的亮度相同,若继续将滑片向下移动,则三个灯泡的亮度变化情况为

.灯变亮           .灯变亮

.灯最亮           .灯最亮

解析:当滑片向下滑动时,有

 

由于,三个灯泡的功率相同时,,所以,当滑片向下滑动时有

    

因此, 

故,答案选

命题解读:由滑动变阻器阻值的变化而引起电灯亮度、电表读数的变化是典型的“局部电路变化”引起“整个电路中各部分的电流、电压、功率等的变化”问题。此类问题应在明确各用电器或电表所对应的电流、电压的变化的基础上,按“局部()变化全局()变化局部( )”的逻辑思维进行分析判断。

⑵闭合电路中的输出功率问题

例题8.如图13所示,已知电源的内电阻为,固定电阻,可变电阻的总阻值为,若滑动变阻器的滑片端向端滑动,则下列说法中正确的是

.电源的输出功率由小变大

.固定电阻上消耗的电功率由小变大

.电源内部的电压即内电压由小变大

.可变电阻上消耗的电功率变小

解析:⑴.先讨论电源输出功率的变化情况:

由闭合电路的欧姆定律推得出电源的输出功率随外电阻变化的规律表达式为

        =

根据上式作出-图象如图14所示。当滑片端向端滑动时,外电路电阻的变化范围是0-,由图可知,当外电路电阻由0增加到时,电源的输出功率一直变大,所以选项正确。

⑵.再讨论消耗的电功率的变化情况:

是纯电阻,所以其消耗的电功率为

         

因全电路的总电压即电源电动势一定,当滑动变阻器的滑片端向端滑动时,外电阻由0增加到,而且是一直变大,所以外电压一直升高,由上面的公式可知,上消耗的电功率也一直增大,所以选项正确。

⑶.由⑵的讨论可以知道,在滑动变阻器的滑片端向端滑动时,外电压一直升高,故内电压就一直变小,答案错误。

⑷讨论可变电阻上消耗的电功率的变化情况时,可以把定值电阻当作电源内电阻的一部分,即电源的等效内电阻为

        =

这时可变电阻上消耗的电功率相当于外电路消耗的功率,即等效电源的输出功率。根据图15可以看出,随着可变电阻端向端的滑动,在的阻值增大到之前,电源的输出功率,即可变电阻上消耗的电功率是一直增大的;一旦增大到=,可变电阻上消耗的电功率达到最大值;滑片再继续向端滑动,则可变电阻上消耗的电功率就会逐渐减小。故答案错误。

故,答案为

命题解读:①在利用结论“当时,有最大值”时,要注意到电源的内电阻是不变的,所以在上面的例题选项讨论可变电阻上消耗的电功率时,就可以把定值电阻“推入电源内部”当作电源内电阻的一部分,利用当时电源的输出功率最大进行讨论;而在选项讨论固定电阻上消耗的电功率时,就不能把可变电阻“推入电源内部”当作电源内电阻的一部分,只能跟据定值电阻消耗的电功率表达式(或等)进行讨论。

②上面的例题中选项只是定性分析了可变电阻上消耗的电功率的变化情况,若是要计算其消耗的最大功率,除了要知道电源的等效内电阻外,还应该明确这时电源的等效电动势为,而不是原来的,因为电源的电动势大小等于外电路开路时的路端电压。故例题8中可变电阻上消耗的最大电功率为,而不是

变式训练:如图15所示,电源的电动势、内电阻未知,定值电阻的阻值也未知,当在之间接入不同的电阻时,电流表会有不同的读数,如下表格所示,请把表格中的未知量完成。

解析:由于电源的电动势、内电阻、以及均是未知的,若用常规做法是难以求解的,这时可以利用等效电源的思想,即将除了以外的电路当作等效电源,则就成了该等效电路的外电阻,其等效电路如图16所示,虚线框内为等效电源。

设该等效电源的电动势为,内电阻为,则由闭合电路的欧姆定律得

       

将表格中的前两组数据代入上面的表达式,分别有

         1=                         

试题详情

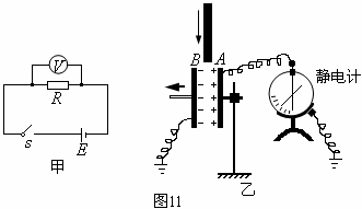
3.电压表和静电计测量电压的比较

例题6.如图11所示,甲是电压表测量电压的电路图,乙则是研究影响平行板电容器的电容大小因素的电路图,其中静电计用来测量电容器两端的电压,试分析它们测量原理的不同。

解析:图甲中电压表测量的是电阻两端的电压,其构造如图12所示,即:将灵敏电流表(表头)串联一个分压电阻就构成了电压表。将电压表并联在被测电阻的两端测量电压时,是有电流通过电压表的,表头指针偏转的角度度大小与通过的电流大小成正比,通过指针偏转的角度大小指示出电压值。

虽然图乙中静电计测量的也是电压,即电容器两端的电压,但其测量电压的原理和电压表的测量原理是不一样的。静电计是由验电器改装而成的,它的两个“极”,即“金属球”和“金属外壳”彼此之间是绝缘的,所以静电计实质上就是一个“电容器”,其指针偏转的角度大小是与本身带电量多少有关系的。

命题解读:本题主要介绍了电压表和静电计对电压的测量,但测量电压的原理是不同的。一个是根据通过电流的大小显示电压大小,而另一个则是根据电量的多少来显示电压大小。

试题详情

2.电功和电功率

⑴相同的电流通过电阻相同的用电器,电功一定相同吗?

例题4.如图8所示,电阻和电动机串连接到电路中,且电阻和电动机线圈的电阻相等,接通电键后,电动机正常工作,设电阻和电动机两端的电压分别为。经过时间,电流通过电阻所做的功为,产生的热量为;而电流通过电动机所做的功为,产生的热量为。则有

.=        .==

.        .=

答案:

命题解读:此题主要比较的是纯电阻用电器和非纯电阻用电器实际消耗的电功率问题。对于纯电阻用电器(如题目中的电阻)而言,电流通过它时做的功全部用来发热,即此时电功等于电热;而对于非纯电阻用电器(如题目中的电动机)时,电流通过它时所做的功只是一小部分产生了电热,其余很大一部分转化成了机械能。上面的题目中,由于电阻和电动机串连接到电路中,且电阻和电动机线圈的电阻相等,所以它们产生的电热是相等的,而电功不等。

⑵实际电路中用电器的配置

例题5.某房间的入户电源线如图9所示,其中是火线,是零线,现有工作电压为的用电器如下:

的灯泡6只;的电视机1台; 的微波炉1台;的电冰箱1台;的暖风机1台;的洗衣机1台;还有3台额定电流为的保险盒。

如何将上述电器全部合理的接入电路,要求画出接线图,且电器用下面指定的符号表示:

功率为的灯泡:

功率为的电视机:

功率为的微波炉:

功率为的电冰箱:

功率为的暖风机:

功率为的洗衣机:

保险盒:

解析:每根保险丝所在支路的允许电功率为

    

因此每个支路配置的用电器功率之和不能超过,而用电器的总功率为

      

     

       

所以,为使各用电器均正常工作,并能保证各支路用电安全,将电路连接如图10所示。

命题解读:本题以家庭生活为背景考查学生电路设计的能力,设计电路的基本思路是既要保证总体用电不超载,又要保证接入电路的用电器能正常工作,因此,要求接入每一支电路的用电器功率之和不超过支路的允许功率,同时电路的供电电压恰好等于用电器的额定电压,所以用电器都应该并联在各支路中。

试题详情

1.电路的等效转换

在具体应用欧姆定律时,必须将一个混联电路画成一个易于看清的简单的串并联电路以后,才能运用恒定电流的有关规律进行计算。为此需要将一个复杂电路用一定的方法进行简化,常用的简化方法有:

⑴等势节点的断接法

例题1.如图1所示的网络电路中,每小段导体的电阻值均为,试求图中两点间的等效电阻。

解析:从图1中可以看出,网络相对于两点上下对称。如图2所示,以及分别为等电势点,故的左侧以及的右侧的导体可以去掉。还是由于上下两部分网络关于两点对称,所以可以先考虑其中的一部分,如图3所示。从图3可以判断得出,两点也是等电势点,可以用导线连接,故两点间上部分的等效电阻为

    

所以,两点间的等效电阻为

    

命题解读:找出等电势点,适时地将电路断开或连接,一步一步地将电路简化是解决这类问题的关键。

⑵支路电流法

例题2.10根电阻均为的电阻丝连接成如图4所示的网络电路,试求两点间的等效电阻。

解析:设电流从端进入,从端流出,由结构对称性可知,电流从端进入后的电流分布应该与电流从端流出前的电流分布相同,中间的正方形具有上、下电流对称和左、右电流对称,如图5所示。则

点电流的流向可得

       

两点间不同线路电势降落相同,得

    

选择线路,得

    

两点间的等效电阻为

    

命题解读:此题在解题过程中运用到了对称电路中电流分布特点,又用到了电流沿不同支路电势降落等知识,是一个稍有难度的题目。

⑶无穷网络等效变换法

,(>0),

在求值时,注意到时由无限多个组成,所以去掉左边第一个值毫无影响,即剩余部分仍为,这样就可以将原式等效变换为

    

从而很顺利的解得的值,这就是物理学解决无线网络问题的基本思路。

例题3.如图6所示,为每段电阻均为的电阻丝构成的网络电路,试求两点间的等效电阻。

解析:由于是一个无穷网络电路,即便去掉左侧的部分(不包括之间的那段电阻丝),剩余的部分还是一个无穷网络电路,即剩余部分的等效电阻仍然等于所求的等效电阻,这时就把原来的无穷网络电路等效成了如图7所示的样子。

由串并联电路的特点可以求得两点间的等效电阻为

    

解得     (负值已设去)

命题解读:把握特点,从无穷网络中再找出一个无穷网络,并将网络简化,是解决这类问题的关键所在。

试题详情

33.材料一  大灾之中有大爱,每当灾难来临之时,总有平凡之人的非凡之举让我们感动。比如雪灾中高速公路处子瘫痪状态时,众多旅客被困途中,沿途涌现出很多无私奉献、热心助人的平凡人。在这些平凡人的身上表现出人间可贵的真情实义。

材料二  在2008年汶川地震的抗震救灾斗争中,蒋敏同志在惊悉母亲、女儿等10名亲人不幸遇难的噩耗后,强忍失去亲人的巨大悲痛,毅然坚守工作岗位,为保卫人民群众生命财产安全,维护灾区社会治安稳定作出了突出贡献。蒋敏同志的先进事迹,充分体现了“人民公安为人民”的政治本色和“忠诚可靠、秉公执法、英勇善战、纪律严明、无私奉献”的新时期人民警察精神。2008年5月22日, 公安部授予蒋敏全国公安系统一级英雄模范荣誉称号。23日,全国妇联授予蒋敏全国三八红旗手荣誉称号,被称为“最美女警”。

结合材料,回答问题:

(1)结合蒋敏的事迹谈谈应如何理解人生价值?

(2)结合材料一、材料二,论述如何实现人生的价值。

试题详情

32.北京奥运会约170万名志愿者在赛场内外参与志愿服务,可以说,是运动员与志愿者一起成就了一届“无与伦比”的奥运会。“我乐于为国家和社会做些事情”,志愿者崇高的集体精神和国家荣誉感铸就了微笑北京、和谐奥运,他们的优质服务得到了奥组委和社会的高度评价。志愿行动必将成为更多青年的生活时尚、生活方式乃至生存状态。    上述材料体现了人生观的哪些道理?(10分)    

试题详情


同步练习册答案