0  314840  314848  314854  314858  314864  314866  314870  314876  314878  314884  314890  314894  314896  314900  314906  314908  314914  314918  314920  314924  314926  314930  314932  314934  314935  314936  314938  314939  314940  314942  314944  314948  314950  314954  314956  314960  314966  314968  314974  314978  314980  314984  314990  314996  314998  315004  315008  315010  315016  315020  315026  315034  447090 

2.下列关于细胞结构和功能的叙述不正确的是                                     (   )

     A.霉菌、水绵的细胞都含有核糖体、DNA和RNA

     B.能进行有氧呼吸的细胞不一定含线粒体,能进行光合作用的细胞不一定含叶绿体

     C.生物膜系统的结构与功能对植物的抗旱、抗寒特性起重要作用

     D.分化后的细胞由于遗传物质发生了变化,使不同细胞的mRNA种类和数量有所不同

试题详情

1.有一种蛋白质是22肽,可被水解成1个4肽,2个3肽,2个6肽,则这些短肽的氨基总数最小值及肽键总数依次是                                               (   )

     A.6、18            B.5、18            C.5、17            D.6、17

试题详情

22.(14分)如图,带电平行板长为L,两板间距离为d,板间电压为U,t=0时电子(质量为m、电荷量为e)沿两板中线以速度%垂直电场方向射人,结果刚好能被正极板俘获.

  (1)简要说明电子运动过程中力对它做功及其能量转化情况(不需计算);

  (2)当电子速度大小为v时距正极板多远?

  (3)写出电子被俘获前动能Ek随时间t变化的函数关系式.

试题详情

21.(10分)如图所示,一条圆弧轨道与大小不同的两个圆环轨道连接在一起,质量为m的小球从高为h处由静止开始滑下,在小环(底部稍错开一些)内侧运动一周后.刚好能通过大环的最高点.若大环的半径是小环半径的2倍,轨道表面光滑,不计空气阻力,重力加速度为g,求

  (1)小环的半径r;

  (2)小球通过小环的最高点时对小环的压力大小

试题详情

20.(10分)如图所示,倾角为30。的粗糙斜面固定在地面上,物块在沿斜面方向的推力F的作用下向上运动已知推力F在开始一段时间内大小为8 5N。后来突然减为8N,整个过程中物块速度”随时间变化的规律如图所示,取重力加速度g=10m/f,求: 

(1)物块的质量m;

   (2)物块与斜面间的动摩擦因数

试题详情

19.(8分)某军营进行体能训练,一战士先沿绳索攀爬到最高点而后由静止沿绳索下滑,若下滑过程中先以加速度a匀加速下滑一段时间,然后再匀速滑到地面,落地时的速度为v,整个下滑过程所用时问为t,求绳索的长度.

试题详情

18.在“研究匀变速直线运动”的实验中,打点计时器使用50Hz交流电源,记录小车做匀变速运动的纸带如图所示,在每相邻的两计数点中间都有四个点未画出,在纸带上按时间顺序取0-6的7个点,用刻度尺量出l、2、3、4、5、6点到0点的距离分别是(单位:cm)8.78、16.08、21.87、26.16、28.94、30.22.则可得出小车加速度大小为       m/s.打计数点3时纸带的瞬时速度为       m/s.(均保留三位有效数字)

试题详情

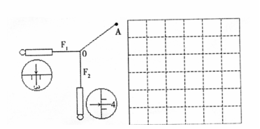
17.将橡皮筋的一端固定在A点,另一端拴上两根细绳,每根细绳分别连着一个量程为5N、最小刻度为0.1N的弹簧秤,沿着两个不同的方向拉弹簧秤,当橡皮筋的活动端拉到0点时,两根细绳相互垂直,如图所示,这时弹簧秤的读数可从图中读出

  (1)由图可读得两个相互垂直的拉力的大小F1、F2分别为      N和       N;

(只需读到0.1N)

  (2)在本题的虚线方格纸上按作图法的要求,画出这两个力及它们的合力.

试题详情

16.某同学在“探究弹力与弹簧伸长的关系”的实验中,得出弹簧弹力与弹簧总长的函数式为F=k(L-L0),式中k为      ,L为      ,L0     

试题详情

15.在用图所示装置做“探究功与速度变化的关系”的实验时.可通过改变      改变拉力做功的数据,利用      可测定小车的速度。

试题详情


同步练习册答案