0  336876  336884  336890  336894  336900  336902  336906  336912  336914  336920  336926  336930  336932  336936  336942  336944  336950  336954  336956  336960  336962  336966  336968  336970  336971  336972  336974  336975  336976  336978  336980  336984  336986  336990  336992  336996  337002  337004  337010  337014  337016  337020  337026  337032  337034  337040  337044  337046  337052  337056  337062  337070  447090 

7.图中曲线甲表示

A.降水量   B.空气相对湿度  C.气温曲线   D.潜水位埋深

试题详情

6.影响阶段Ⅳ转移的主要因素是

A.地价和工资   B.交通和市场   C.矿产和政策   D.环境和技术

读我国某地潜水位埋深与气象要素相关模式图(图3),回答7-9题。

试题详情

5.该产业最有可能是

A.汽车制造业   B.服装设计业   C.高新技术产业  D.电子装配业

试题详情

4.在桥下采样检测水质,发现有一定浓度的农药残留,其有可能来自

A.甲、丙地   B.乙、丁地   C.丙、丁地   D.甲、乙地

图2为某产业转移过程示意图,据此完成5-6题。

试题详情

3.图中P-Q两地间有一座桥梁,该桥与桥下河谷的高差可能是

A. 40米   B.80米   C.150米   D.220米

试题详情

2.关于昆明市不同用地类型及平均地价的叙述,正确的是

A.距市中心l km范围内只能安排商业用地和综合办公用地

B.距离市中心越远,各种用地地价变化的波动越大

C.各种用地类型中,商业用地随距市中心的距离,地价的衰减梯度最大

D.距市中心4km范围内,适宜安排工业用地

读某地等高线地形图(图1),回答3-4题。

试题详情

1.昆明市距市中心不同距离的平均地价数据的获取,需运用

①统计计量方法  ②RS  ③昆明市2001-2005年的实际交易地价数据  ④GIS

A.①②③   B.①③④   C.①②④   D.②③④

试题详情

2010.3.21

第I卷

读表1,回答1-2题。

表l  昆明市2001年至2005年距市中心不同距离的平均地价表(单位:元/m2)

试题详情

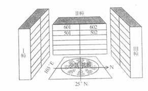
伴随着我国经济的高速发展城市栋栋高楼拔地而起,图1为某城市一住宅房屋建筑示意图,根据图分析回答23-25题:

23.对城市所在省区的叙述,正确的是(    )

A.地势低平,气候温湿,属回归沙漠带上的绿洲

B.喀斯特地貌广布,流水侵蚀强烈

C.既有陆地边界,也有海洋边界

D.少数民族众多,属岭南文化副区

24.当II幢上午阳光被第III幢房屋严重遮挡时,下列判断正确的是(   )

图1
 
A.南极臭氧空洞达一年中的最大值

B.哈尔滨的冰雕艺术节正拉开帷幕

C.我国的低温中心在青藏高原

D.驯鹿向南迁徙到温带草原

25.当该小区房屋阴影为一年中最短时,北京地方时应是(  )

A.3月21日13时08分

B.6月22日12时52分

C.6月22日13时08分

D.6月22日13时24分

试题详情


同步练习册答案