0  410775  410783  410789  410793  410799  410801  410805  410811  410813  410819  410825  410829  410831  410835  410841  410843  410849  410853  410855  410859  410861  410865  410867  410869  410870  410871  410873  410874  410875  410877  410879  410883  410885  410889  410891  410895  410901  410903  410909  410913  410915  410919  410925  410931  410933  410939  410943  410945  410951  410955  410961  410969  447090 

7.在一个竖直的支架上固定着两个水平的弹簧枪AB,弹簧枪AB在同一竖直平面内,如图5所示,ABh,弹簧枪B的出口距水平面高,弹簧枪AB射出的子弹的水平射程之比为xAxB=1∶2.设弹簧枪AB的高度差h不变,且射出子弹的初速度不变,要使两个弹簧枪射出的子弹落到水平面上的同一点,则                ( )    图5

A.竖直支架向上移动,移动的距离为h

B.竖直支架向下移动,移动的距离为h

C.竖直支架向下移动,移动的距离为h

D.竖直支架向上移动,移动的距离为h

解析:xv0tt=,故t∝,

==,v0=,

==×=,v0B=4v0A.

xAxB,那么,v0∝,tA=4tB.又t∝,t2h

则=()2=()2=16.

又因为hA′=h+hB′,所以=,

hB′=,即竖直支架向下移动.

向下移动的距离为-=h.

答案:B

试题详情

6.(2010·淮安模拟)如图4所示,一根跨越光滑定滑轮的轻绳,两端各有一杂技演员(可视为质点),a站于地面,b从图示的位置由静止开始向下摆动,运动过程中绳始终处于伸直状态,当演员b摆至最低点时,a刚好对地面无压力,则演员a质量与演员b质量之比为                      ( )

A.1∶1       B.2∶1

C.3∶1       D.4∶1                        图4

解析:设b摆至最低点时的速度为v,由机械能守恒定律可得:mgl(1-cos60°)=mv2,解得v=.设b摆至最低点时绳子的拉力为FT,由圆周运动知识得:FTmbgmb,解得FT=2mbg,对演员aFTmag,所以,演员a质量与演员b质量之比为2∶1.

答案:B

试题详情

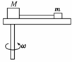
5.一圆盘可以绕其竖直轴在水平面内转动,圆盘半径为R,甲、乙物体质

量分别为Mm(Mm),它们与圆盘之间的最大静摩擦力均为正压力

μ倍,两物体用一根长为L(LR)的轻绳连在一起.如图3所示,若   

将甲物体放在转轴的位置上,甲、乙之间连线刚好沿半径方向被拉直,要使两物体与圆

盘不发生相对滑动,则转盘旋转的角速度最大不得超过(两物体均看做质点)  ( )

A.      B.      C.   D.

解析:经分析可知,绳的最大拉力FμMg

mF+μmg2L

所以μ(M+m)g2L

解得ω= .

答案:D

试题详情

4.(2009·江苏高考)英国《新科学家(New Scientist)》杂志评选出了2008年度世界8项科学之最,在XTEJ1650-500双星系统中发现的最小黑洞位列其中.若某黑洞的半径R约45 km,质量M和半径R的关系满足=(其中c为光速,G为引力常量),则该黑洞表面重力加速度的数量级为                        ( )

A.108 m/s2          B.1010 m/s2

C.1012  m/s2          D.1014  m/s2

解析:设黑洞表面重力加速度为g,由万有引力定律可得g=,又有=,

联立得g==1×1012 m/s2.C正确.

答案:C

试题详情

3.(2009·重庆高考)据报道“嫦娥一号”和“嫦娥二号”绕月飞行器的圆形工作轨道距月球表面分别约为200 km和100 km,运行速率分别为v1v2.那么,v1v2的比值为(月球半径取1700 km)                            ( )

A.        B.          C.           D.

解析:由Gm 知:v= ,

故= = ,C正确.

答案:C

试题详情

2.m为在水平传送带上被传送的小物体(可视为质点),A为终端皮带 

轮,如图2所示,已知皮带轮半径为r,传送带与皮带轮间不会打

滑,当m可被水平抛出时,A轮每秒的转数最少是( )

A.              B.              图2

C.                D.

解析:当m恰好能被水平抛出时只受重力的作用,支持力FN=0.则在最高点,mgm

v=.而v=2πn·r,则n== .

答案:A

试题详情

1.如图1所示,两轮用皮带传动,皮带不打滑,图中有ABC三点,这三点所在处半径

rA>rBrC,则这三点的向心加速度aAaBaC的关系是           ( )

A.aAaBaC

B.aC>aA>aB

C.aC<aA<aB                                     图1

D.aCaB>aA

解析:皮带传动且不打滑,A点与B点线速度相同,由a=有a∝,所以aA<aBA点与C点共轴转动,角速度相同,由aω2rar,所以有aA>aC,所以aCaAaB,可见选项C正确.

答案:C

试题详情

5.光电计时器是物理实验中经常用到的一种精密计时仪器,它由光电门和计时器两部分组成,光电门的一臂的内侧附有发光装置(发射激光的装置是激光二极管,发出的光束很细),如图实-4-12中的AA′,另一臂的内侧附有接收激光的装置,如图实-4-12中的BB′,当物体在它们之间通过时,二极管发出的激光被物体挡住,接收装置不能接

收到激光信号,同时计时器就开始计时,直到挡光结束光电计时器停止计时,故此装置能精确地记录物体通过光电门所用的时间.现有一小球从两光电门的正上方开始自由下落,如图实-4-12所示.

图实-4-12

(1)若要用这套装置来验证机械能守恒定律,则要测量的物理量有________________________(每个物理量均用文字和字母表示,如高度H).

(2)验证机械能守恒定律的关系式为________.

解析:本实验是围绕机械能守恒定律的验证设计的,关键是速度的测定,本题改打点计时器测量速度为光电门测量.由于本装置可记录小球通过光电门的时间Δt,则将小球的直径D除以Δt,即可求出小球经过光电门的速度,若再测出两光电门间相距的高度H,即可验证机械能守恒定律.

(1)需要测量的物理量有:小球直径D,两光电门间的竖直高度H,小球通过上、下两光电门的时间Δt1、Δt2.则小球通过上、下两光电门处的速度分别为、.

(2)验证守恒关系式为:

m()2m()2mgH

化简得:-=2gH.

答案:(1)小球直径D、两光电门间的竖直高度H、小球通过上、下两光电门的时间Δt1、Δt2

(2)-=2gH

试题详情

4.用落体法“验证机械能守恒定律”的实验中:(g取9.8 m/s2)

(1)运用公式mv2mgh时对实验条件的要求是________________.为此目的,所选择的纸带第1、2两点间的距离应接近__________.

(2)若实验中所用重物质量m=1 kg,打点纸带如图实-4-10所示,打点时间间隔为0.02 s,则记录B点时,重物速度vB=________,重物动能Ek=________;从开始下落起至B点,重物的重力势能减小量是__________,由此可得出的结论是____________________________________.

图实-4-10

(3)根据纸带算出各点的速度v,量出下落距离h,则以为纵轴,以h为横轴画出的图象应是图实-4-11中的                       ( )

图实-4-11

解析:(1)自由下落的物体在第一个0.02 s内,下落距离

hgt2=2 mm

(2)vB== m/s=0.59 m/s

EkmvB2=×1×0.592 J≈0.174 J

ΔEpmgh=1×9.8×17.9×103 J≈0.175 J.

答案:(1)自由下落的物体 2 mm

(2)0.59 m/s 0.174 J 0.175 J 在实验误差允许的范围内,动能的增加量等于重力势能的减少量 (3)C

试题详情

3.关于验证机械能守恒定律实验,下面列出一些实验步骤:

A.用天平称出重物和夹子质量

B.将重物系在夹子上

C.将纸带穿过打点计时器的限位孔,上端用手提着,下端夹上系住重物的夹子,再把纸带向上拉,让夹子靠近打点计时器,处于静止状态

D.把打点计时器接在学生电源的交流输出端,把输出电压调到6 V(电源不接通)

E.把打点计时器用铁夹固定放到桌边的铁架台上,使两个限位孔在同一竖直面内

F.在纸带上选取两个点,进行测量并记录数据

G.用秒表测出重物下落的时间

H.接通电源,待计时器打点稳定后释放纸带

I.切断电源

J.更换纸带,重新进行两次实验

K.在三条纸带中选出较好的一条

L.进行计算,得出结论,完成实验报告

M.拆下导线,整理器材

对于本实验以上步骤中,不必要的有__________________;正确步骤的合理顺序是______________________(填写代表字母).

解析:根据实验原理和操作步骤可知不必要的有A、G;正确步骤的合理顺序是E、D、B、C、H、I、J、K、F、L、M.

答案:A、G EDBCHIJKFLM

试题详情


同步练习册答案