0  423998  424006  424012  424016  424022  424024  424028  424034  424036  424042  424048  424052  424054  424058  424064  424066  424072  424076  424078  424082  424084  424088  424090  424092  424093  424094  424096  424097  424098  424100  424102  424106  424108  424112  424114  424118  424124  424126  424132  424136  424138  424142  424148  424154  424156  424162  424166  424168  424174  424178  424184  424192  447090 

22.(8分)高度相同的实心圆柱体A、正方体B和长方体C铁块如图放在水平桌面上,已知正方体铁块最重,长方体铁块底面积最小。针对“三铁块对桌面的压强哪一块最大”的问题,同学们根据自己所学过的知识提出了以下三种猜想:

猜想一:由于正方体铁块最重,所以它对桌面的压强最大.

猜想二:由于长方体铁块的面积最小,所以它对桌面的压强最大.

猜想三:由于三铁块高度相同,所以三铁块对桌面的压强一样大.

    图24

(1)以图中的长方体C为研究对象,推导它对桌面的压强大小的表达式(设铁的密度为ρ,长方体铁块的高度为h,底面积为S)。根据表达式判断上述哪一个猜想是正确的。

(2)利用细砂等简易器材,设计一个实验粗略验证这种猜想的正确性(简要写出实验步骤及判断方法)。

试题详情

21.(11分)如图23所示是小林同学家所用电能表的表盘,

下表是他家主要电器的额定功率:

用电器
白炽灯四盏
电热水壶
电视机
空调机
额定功率
每盏60W
1000W
120W
1200W

请根据所给信息,解答下列问题:

 (1)这些用电器在家庭电路中的连接方式是     联。              图23

 (2)为保证电能表稳定安全工作,通过计算回答小林家的这些用电器是否可以同时使用。

 (3)电热水壶正常工作时,发热板的电阻是        Ω。

 (4)电能表上标“2500r/kW·h表示                     

 (5)经过查阅资料,小林了解到60W白炽灯和11W节能灯照明亮度相同,他建议爸爸将白炽灯换成节能灯,请你再提出一条家庭中节约用电的建议。

试题详情

20.(8分)某宾馆对物品进行消毒时使用高温高压蒸汽消毒锅 (如图22甲). 图乙为自动测定锅内温度的电路原理图。其中 R0为定值电阻,阻值为5Ω。A为温度指示表(实质是一只量程为0~0.6A的电流表) ,RX(测温探头)为热敏电阻(其电阻值随锅内温度的变化而变化)。关于热敏电阻的阻值与温度的对应关系如下表所示:

锅内的温度值/oC
25
37.5
50
62.5
75
87.5
100
112.5
125
Rx对应的电阻值/Ω
150
80
50
30
20
15
10
7
 

(1)若锅内温度为75 oC 时电流表的示数为0.24A.求电源的电压U。

(2)若锅内温度为125 oC 时电流表的示数为0.6A.求此时热敏电阻RX的阻值及其功率。

    甲

          图22

试题详情

19.(7分)如图20所示,质量为40kg的小明同学骑着一辆自行车在平直公路上匀速运动100m,所用时间为20s。求:

(1)自行车行驶的速度?

(2)若自行车质量为10kg,车胎与地面总的接触

面积为40cm2,则该同学骑车时,自行车对地

面的压强为多少?

(取g=10N/kg)

(3)如果自行车在匀速行驶过程中受到的阻力

如图21所示。那么行驶100m,小明同学

所做的功是多少?

试题详情

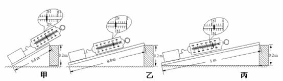
0.8m、1m的木板进行了三次实验,每次斜面的高度

均为 0.2m.测得沿斜面方向向上的拉力大小分别如

下图甲、乙、丙所示。(假设斜面很光滑,不计摩擦)          图17

         图18

(1)请你为小明设计一个记录实验数据的表格(要求有利于实验数据的分析),并将上面实验数据记录在表格中。

(2)认真分析数据, 写出F与L的关系是:                 

(3)下列四个图线中,你认为哪个图能正确反映F与L的关系.答:     

 

试题详情

18.(8分)小明看到在没有起重机的情况下,工人要将

油桶搬运上汽车,常常用如右图17的方法。小明想:

为什么不直接将油桶抬上车呢?难道这样做可以

省力吗?如果能省力那么推力的大小与斜面长度

有关吗?为了探究推力大小与斜面长度的关系,小

明选用弹簧测力计、4N的重物和长分别为0.4m、

试题详情

17.(10分)小明和小芳分别设计了探究“并联电路电流规律”的实验,他们各自设计的实验电路图及实验数据记录如图16所示。 (小芳和小明电路连接及记录的数据都没有错误。)

(1)从他们的实验数据可以看出并联电路干路电流与支路电流之间的关系是:_____________                             

(2)小明根据他的实验数据断定“并联电路各支路的电流一定相等”,这是因为他选用的两个电阻大小关系是:R1_______R2(选择“大于”、“小于”、“等于”)。

(3)请你指出小芳、小明的实验设计各有哪些可改进之处。

        图16

试题详情

16.(6分)(1)如图11所示的物体的长度是    cm。  

(2)如图12所示,电压表的示数为    V。

(3)图13容器中的晶体正在熔化。该晶体的熔点是________℃。

 

(4)用调好的天平测量蜡块的质量,天平平衡时,右盘中的砝码及游码在标尺上的位置如图14所示,蜡块的质量是________g;测量蜡块体积的过程如图15所示,蜡块的体积是______cm3;计算得到蜡的密度是________________kg/m3

 

试题详情

15.(1)如图8所示是用杠杆提升重物的装置,分别画出重物A的重力示意图和F的力臂l

 (2)根据图9中的入射光线作出相应的折射光线。

图8        图9

(3)如图10是用滑动变阻器改变电流大小的电路图及有关元件示意图,请用笔画线代替导线 ,按电路图完成对应实物图的边接。已知灯泡电阻约为8Ω.要求:1当滑动变阻器的滑片P向右移动时,小灯泡逐渐变暗;2电流表读数尽可量精确。

        图10

试题详情


同步练习册答案