题目列表(包括答案和解析)

 0  167674  167682  167688  167692  167698  167700  167704  167710  167712  167718  167724  167728  167730  167734  167740  167742  167748  167752  167754  167758  167760  167764  167766  167768  167769  167770  167772  167773  167774  167776  167778  167782  167784  167788  167790  167794  167800  167802  167808  167812  167814  167818  167824  167830  167832  167838  167842  167844  167850  167854  167860  167868  447348 

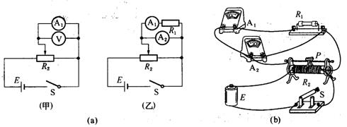
13.从下图中选择适当的器材设计一个电路来测量电流表A,的内阻r1,要求尽可能高的测量精度,并能测得多组数据.

   (1) 某同学设计了如图(a)电路(甲)、(乙),那么为了满足题目要求,应选择______电.(填(甲)或(乙))

   (2) 某同学A由电路图(乙)将实物连接成如图(b)电路,某同学B在闭合电键S前检查发现有两处错误或不恰当的地方,请你指出_______.

   (3) 根据正确的电路选择,由测量数据中的一组来计算r1,则表达式r1=________,式中各符号的意义是________.

试题详情

12.下图中电源的电动势为ER1为滑动变阻器,R2为电阻箱,A为电流表,用此电路经以下步骤可近似测量A的内阻RA:①闭合S1,断开S2,调节R1,使电流表读数等于其量程I0;②保持R1不变,闭合S,调节R2,使电流表读数等于I0/2,然后读出R2的值,取RlR2

    (1) 按图所示电路将图中所给出的实物图画出连接电线:

   (2) 真实值与测量值之差除以真实值作为测量结果的相对误差,即,试导出它与电源电动势E、电流表量程I0及电流表内阻RA的关系式.

    (3) 若I0=10mA,真实值RA约为30W,要想使测量结果的相对误差不大于5%,电源电动势最小值应为多少?

试题详情

11.有一只灵敏电流计G,刻度盘上共有N格刻度而无具体示数,已知该电流表的满偏电流Ig约为几百mA,内阻Rg约为几百W.现在要求尽可能精确而简捷地测出此表的IgRg值.除G表外可提供的器材有

   ① 电流表A1(量程30mA,内阻约为几十W)

   ② 电压表V1(量程15V,内阻15kW)

   ③ 滑动变阻器(0-200W,0.5A)

   ④ 滑动变阻器(0-20W,2A)

   ⑤ 电阻箱(0-9 999.9W)

   ⑥ 定值电阻R0(50W,0.1 A)

   ⑦ 电池组(E=12V,r=0.5W)

   ⑧ 开关、导线

   (1) 设计出测量方案,在上面的虚线框内画出电路图,

   (2) 除G表外所需器材是:__________.(填数字代号)

   (3) 说明需要测量的物理量,列出计算方程并导出计算IgRg的数值表达式.

试题详情

10.有一根很细的均匀空心金属管线重约为1N、长约50cm、电阻约为30-40W,现需测定它的内径d,已知这种金属的电阻率为r,实验室中可以提供下列器材:

   A.厘米刻度尺;B.毫米刻度尺;C.螺旋测微器;D.电流表(300mA,10W);E.电流表(3A,0.1W);F.电压表(3V,6kW);G.滑动变阻器(200W,0.5A);H.滑动变阻器(5W,2A);I.蓄电池(6V,0.05W);J.开关一个及带夹的导线若干.

   请设计一个实验方案,回答以下问题:

   (1) 实验中应测物理量的名称及符号是_____________;

   (2) 应选用的实验器材有(只填字母代号)____________;

   (3) 画出实验电路图并将下图中所示仪器连成实际测量电路;

   (4) 用测得的物理量和已知的物理常数推导出计算金属管线内径d的表达式.

试题详情

9.在用伏安法测电阻的实验中,所用电压表的内阻约为20kW,电流表的内阻约为10W,选择能够尽量减小误差的电路图接线进行实验,读得的各组数据用实心圆点标于坐标图上,如图所示.

  (1) 根据各点表示的数据描出I-U图线,由此求得该电阻的阻值Rx=______W (保留两位有效数字).

   (2) 画出此实验的电路原理图.

试题详情

8.从下表中选出适当的实验器材,设计一电路来测量电流表A1的内阻r1,要求方法简捷,有尽可能高的测量精度,并能测得多组数据.

   (1) 画出电路图,标明所用器材的代号.

   (2) 若选测量数据中的一组来计算门,则所用的表达式为r1=________,式中各符号的意义是:________________.

试题详情

7. 图(a)为某一热敏电阻(电阻值随温度的改变而改变,且对温度很敏感)的I-U关系曲线图.

   (1) 为了通过测量得到图(a)所示I-U关系的完整曲线,在图(b)和图(c)两个电路中应选择的是图_______;简要说明理由:__________________________________________.(电源电动势为9V,内阻不计,滑线变阻器的阻值为0-100W).

   (2) 在图(d)电路中,电源电压恒为9V,电流表读数为70mA,定值电阻R1=250W.由热敏电阻的I-U关系曲线可知,热敏电阻两端的电压为______V;电阻R2的阻值为_______W.

  (3) 举出一个可以应用热敏电阻的例子:

试题详情

6.量程为3V的电压表V的内阻约为3kW,要求测出该电压表内阻的精确值,实验中可提供的器材有:阻值范围为0.1W到9 999.9W的电阻箱Ra,在本实验中,通过电阻箱的电流不会超过所允许的最大电流;最大电阻为1000W,最大电流为0.2A的变阻器Rb;开路电压约为5V,内阻可忽略不计的电源E;开关S;供连接用的导线若干.

   (1) 选用这些器材设计一个易于操作的测量电路,要求画出实验电路图并标出所用器材符号.

   (2) 列出测量步骤,并写出计算电压表内阻的最后公式.

试题详情

5. 某学生为了测量一物体的质量,找到一个力电转换器,该转换器的输出电压正比于受压面的压力(比例系数为是k),如图(a)所示,测量时先调节输入端的电压,使转换器空载时的输出电压为0;而后在其受压面上放一物体,即可测得与物体的质量成正比的输出电压U

   现有下列器材:力电转换器、质量为m的砝码、电压表、滑动变阻器、干电池各一个,电键及导线若干,待测物体(可置于力电转换器的受压面上).请完成对该物体质量的测量.

   (1) 设计一个电路,要求力电转换器的输出电压可调,并且使电压的调节范围尽可能大,在图(b)方框中画出完整的测量电路图.

  (2) 简要说明测量步骤,求出比例系数是,并测出待测物体的质量m

   (3) 请设想实验中可能会出现的一个问题.

试题详情

4.某同学设计了一个用打点计时器验证动量守恒定律的实验:在小车A的前端粘有橡皮泥,推动小车A使之做匀速运动,然后与原来静止在前方的小车B相碰并粘合成一体,继续做匀速运动,他设计的具体装置如图(a)所示,在小车A后连着纸带,电磁打点计时器电源频率为50Hz,长木板下垫着小木片用以平衡摩擦力.

   (1) 若已得到打点纸带如图(b),并测得各计数点间距标在图上.A为运动起始的第一点.则应选______段来计算A的碰前速度.应选______段来计算AB碰后的共同速度.(以上两格填“AB”、“BC”、“CD”或“DE”)

   (2) 已测得小车A的质量m1=0.40kg,小车B的质量m2=0.20kg.由以上测量结果可得:

    碰前总动量=________kg·m/s;

    碰后总动量=________kg·m/s.

试题详情


同步练习册答案