题目列表(包括答案和解析)

 0  29574  29582  29588  29592  29598  29600  29604  29610  29612  29618  29624  29628  29630  29634  29640  29642  29648  29652  29654  29658  29660  29664  29666  29668  29669  29670  29672  29673  29674  29676  29678  29682  29684  29688  29690  29694  29700  29702  29708  29712  29714  29718  29724  29730  29732  29738  29742  29744  29750  29754  29760  29768  447348 

19.(12分)(1)试写出CH3OH(l )在氧气中完全燃烧生成CO2和H2O(g)的热化学方程式:

 

(2)甲醇在        极反应;电极反应式为

(3)下列说法中正确的是      (填序号)。

试题详情

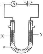
22.(8分)电解原理在化学工业中有广泛应用。下图表示一个电解池,装有电解液a;X、Y是两块电极板,通过导线与直流电源相连。请回答以下问题:

(1)若X、Y都是惰性电极,电解液a是饱和NaCl溶液,实验开始时,同时在两边各滴入几滴酚酞试液,则:

①电解池中X极上的电极反应式为           

在X极附近观察到的现象是                          

②Y电极上的电极反应式为                  ,检验该电极反应产物的方法是                  

(2)如要用电解方法精炼粗铜,电解液a选用CuSO4溶液,则:

①X电极的材料是         ,电极反应式是               。②Y电极的材料是         ,电极反应式是               

(说明:杂质发生的电极反应不必写出)。

第II卷(共46分)

试题详情

21.(14分)已知25℃时,NaOH溶液和NaCN溶液的pH均为11。则:

(1)两溶液中c(H+)·c(OH)=        (填数值)。

(2)两溶液中由水电离出的c(OH)分别是:a. NaOH      b.NaCN       .

(3)各取5mL上述两种溶液,分别加热到99℃时,pH较大的是        溶液。

(4)各取5mL上述两种溶液,分别加入水稀释至50 mL,pH较大的是      溶液。

(5)取5mL NaCN溶液,加水稀释至50mL,c(OH)       104mol·L1(填“<”、“=”或“>”),c(CN)/c(OH)        (填“增大”、“减小”或“不变”).

试题详情

20.(12分)实验室里配制了0.1mol·L1的盐酸和0.1 mol·L1的氨水两种溶液。试回答下列问题:

(1)在25℃时,0.1 mol·L1的盐酸中的C(OH)=               

(2)在25℃时,已知氨水的电离平衡常数为Kb=1.7×105mol·L1,1.3×1.3=1.7, 则当0.1mol·L1的氨水在该温度下达到电离平衡时,溶液中的C (OH) =     ;写出一水合氨的电离方程式:                   

(3)在25℃时,将0.1 mol·L1的盐酸和0.1 mol·L1的氨水两种溶液等体积混合,所得溶液的pH    7(填“大于”、“小于”或“等于”),原因是(用离子方程式表示)            ;所得溶液中各离子的浓度由大到小的顺序是     

试题详情

19.(12分)甲醇(CH3OH)是一种重要的化工原料,广泛应用于化工生产,也可以直接用做燃料。已知CH3OH(l )+O2(g)===CO(g)+2H2O(g)  △Ha=-443.64kJ·mol1

2CO(g)+O2(g)===2CO2(g)  △Hb=566.0 kJ·mol1

(1)试写出CH3OH(l )在氧气中完全燃烧生成CO2和H2O(g)的热化学方程式:

 

(2)科研人员新近开发出一种由强碱做电解质溶液的新型甲醇手机电池,可使手机连续使用一个月才充一次电,据此回答下列问题:

甲醇在        极反应;电极反应式为

(3)利用电池可实现电能向化学能转化。某同学设计了一种电解法制取Fe(OH)2的实验装置,通电后,溶液中产生大量的白色沉淀,且较长时间不变色。下列说法中正确的是     (填序号)。

A.电源中的a一定为正极,b一定为负极[

B.可以用NaCl作为电解液

C.A、B两端都必须用铁做电极

D.阴极发生的反应是2H++2e=H2↑[

试题详情

18.由NaCl和CuSO4组成的混合溶液中C(Na+)=3(Cu2+)=0.3 mol·L1,取该混合液100 mL用石墨做电极进行电解,通电一段时间后,在阴极收集到0.112L(标准状况)气体。若溶液体积仍为100 mL,此时溶液的pH为(   )

A.14       B.2       C.12       D.13

第II卷(共46分)

试题详情

17.一定条件下,电解较稀浓度的硫酸,其还原物为双氧水,该原理可用于制取双氧水,其电解的化学方程式为:3H2O+3O2===O3+3H2O2.下列有关说法正确的是(   )

A.电解池的阳极生成双氧水,阴极生成臭氧

B.电解池中硫酸溶液的pH保持不变

C.产生臭氧的电极反应式为3H2O-6e===O3+6H+

D.产生双氧水的电极反应式为2H2O-2e===H2O2+2H+

试题详情

16.用惰性电极进行电解,下列说法正确的是(   )

A.电解稀硫酸溶液,实质上是电解水,故溶液pH不变

B.电解稀NaOH溶液,要消耗OH,故溶液pH减小

C.电解Na2SO4溶液,在阴极上和阳极上析出产物的物质的量之比为1∶2

D.电解CuCl2溶液,在阴极上和阳极上析出产物的物质的量之比为1∶1

试题详情

15.根据金属活动性顺序表,Cu不能发生Cu+2H2O===Cu(OH)2+H2↑的反应。但选择恰当电极材料和电解液进行电解,这个反应就能实现。下列四组电极和电解液中,能实现该反应最为恰当的是(   )

阳极   阴极    电解液      阳极    阴极   电解液

A.石墨棒  石墨棒   CuSO4溶液   B.Cu    石墨棒   Na2SO4溶液

C.Cu    Fe     H2SO4溶液   D.Cu    Pt     H2O

试题详情

14.在15mL 0.1 mol·L1KOH溶液中逐滴加入0.2 mol·L1甲酸溶液,溶液pH和加入的甲酸的体积关系曲线如图所示,有关粒子浓度大小关系正确的是(   )

A.在A、B间任意一点,c(K+)>c(HCOO)>c(OH)>c(H+)

B.在B点:c(K+)>c(HCOO)>c(OH)>c(H+),且a=7.5

C.在C点:c(HCOO)>c(K+)>c(OH)>c(H+)

D.在D点:c(HCOO)+ c(HCOOH)>2c(K+)

试题详情


同步练习册答案