0  250773  250781  250787  250791  250797  250799  250803  250809  250811  250817  250823  250827  250829  250833  250839  250841  250847  250851  250853  250857  250859  250863  250865  250867  250868  250869  250871  250872  250873  250875  250877  250881  250883  250887  250889  250893  250899  250901  250907  250911  250913  250917  250923  250929  250931  250937  250941  250943  250949  250953  250959  250967  447090 

25.(1)请在图14中画出一本书对水平桌面的压力F的示意图;

(2)如图15所示是自行车的刹车手柄的示意图,请画出动力臂L1

(3)根据图16中小磁针的方向标出通电线圈的N极和电源的负极。

 

图14
 
图16
 
 

试题详情

24.用一弹簧测力计挂着一实心圆柱体,圆柱体的底面刚好

与水面接触(未浸入水),如图13(甲),然后将其逐渐浸

入水中,图13(乙)所示是弹簧测力计示数随圆柱体逐渐

浸人水中深度的变化情况,则圆柱体受到的最大浮力

        ;圆柱体刚浸没时下表面受到的液体

压强是      

试题详情

23.如图12所示,是北京奥运会射箭项目的图标。运动员射箭时,要用力

将弓拉开,然后弓将箭射出,在此过程中是弓的         能转化

为箭的      能。

试题详情

22.一小灯泡标有“6V 1.8W”字样,它正常工作时的电阻是   Ω。

但是在它不工作时,用测电阻的仪表测得它的电阻却是8Ω。关于这种

差异的合理解释是:金属的电阻随     的改变而改变。

试题详情

21.许多交通事故的发生都是与物体具有惯性有关的,为了减少此类事故的发生,在公路交通管理中有许多要求和措施,你知道哪些呢?请写出其中的一条:             

试题详情

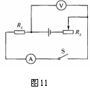
20.如图11所示电路中,电源电压不变,开关S闭合,滑动变阻器

滑片向右移动时,电流表和电压表的示数将是(   )

   A.电流表的示数变大,电压表的示数变大;

   B.电流表的示数变小,电压表的示数不变;

   C.电流表的示数变大,电压表的示数不变;

   D.电流表的示数变小,电压表的示数变小。

试题详情

19.将一满罐“纯净水”(高约40 cm)开口朝下放在水中,

如图10所示,结果是(    )

   A.仍是满罐水;    B.水将流出一部分;

   C.水将全部流出 ;  D.以上答案都不对。

试题详情

18.纸盒包装的饮料,一般都配有一端尖另一端平的吸管。正确的使用方法是用尖的一端插入,这样做可以 (    )

A.增大受力面积;   B.增大压强;  

C.增大压力;     D.增大摩擦。

试题详情

17.下列说法中,正确的是(    )

A.电动机将机械能转化为电能;     B.发电机将电能转化为机械能;

C.内燃机将机械能转化为内能;      D.干电池将化学能转化为电能。

试题详情

16.如图9所示,一块0℃的冰放在盛有0℃的水的容器中。已知冰块与容器底部相接触并相互间有压力,则当冰完全融化为0℃的水后.容器中水面的位置将(   )

A.上升;

B.下降;

C.保持不变;              

D.水面的升或降决定于冰和容器内水的体积。

试题详情


同步练习册答案