题目列表(包括答案和解析)

 0  168708  168716  168722  168726  168732  168734  168738  168744  168746  168752  168758  168762  168764  168768  168774  168776  168782  168786  168788  168792  168794  168798  168800  168802  168803  168804  168806  168807  168808  168810  168812  168816  168818  168822  168824  168828  168834  168836  168842  168846  168848  168852  168858  168864  168866  168872  168876  168878  168884  168888  168894  168902  447348 

12.(苏北三市14分) 如图甲所示,一边长L=2.5m、质量m=0.5kg的正方形金属线框,放在光滑绝缘的水平面上,整个装置放在方向竖直向上、磁感应强度B=0.8T的匀强磁场中,它的一边与磁场的边界MN重合。在水平力F作用下由静止开始向左运动,经过5s线框被拉出磁场。测得金属线框中的电流随时间变化的图像如乙图所示,在金属线框被拉出的过程中。

⑴求通过线框导线截面的电量及线框的电阻;

⑵写出水平力F随时间变化的表达式;

⑶已知在这5s内力F做功1.92J,那么在此过程中,线框产生的焦耳热是多少?

 

解:⑴根据q =t,由It图象得:q =1.25C    (2分)

    又根据         (2分)

   得R = 4Ω                  (1分)

⑵ 由电流图像可知,感应电流随时间变化的规律:I=0.1t       (1分)

由感应电流,可得金属框的速度随时间也是线性变化的,(1分)

线框做匀加速直线运动,加速度a = 0.2m/s2            (1分)

线框在外力F和安培力FA作用下做匀加速直线运动,(1分)

得力F=(0.2 t+0.1)N                  (1分)

t=5s时,线框从磁场中拉出时的速度v5 = at =1m/s      (1分)

线框中产生的焦耳热J        (3分)

感悟与反思:

   这道题精彩之处在于通过给出感应电流随时间做正比例变化,倒推出运动性质为匀变速运动,结合牛顿第二定律解出相关物理量。难度适中,所考查的知识点也不少。另外,学生计算焦耳热时可能会错误地应用平均值概念,这是具有迷惑性的地方。

试题详情

11.(南通市一调15分) 如图甲,相距为L的光滑平行金属导轨水平放置,导轨一部分处在垂直导轨平面的匀强磁场中,oo/为磁场边界,磁感应强度为B,导轨右侧接有定值电阻R,导轨电阻忽略不计。在距oo/L处垂直导轨放置一质量为m、电阻不计的金属杆ab

(1)若ab杆在恒力作用下由静止开始向右运动,其速度-位移的关系图象如图乙所示,则在此过程中电阻R上产生的电热Q1是多少?ab杆在离开磁场前瞬间的加速度为多少?

(2)若a b杆固定在导轨上的初始位置,磁场按Bt=Bcosωt规律由B减小到零,在此过程中电阻R上产生的电热为Q2,求ω的大小。

解:(1)ab杆在位移L到3L的过程中,由动能定理

     F(3LL)=   (1分)

     ab杆在磁场中发生L过程中,恒力F做的功等于ab杆增加的动能和回路产生的电能

     FL    (2分)

解得       (2分)

ab杆在离开磁场前瞬间,水平方向上受安培力F和外力F作用,加速度a

              (1分)

              (1分)

 解得       (2分)

(2)当磁场按BtBcos t规律变化时,闭合回路的磁通量Φ的变化规律为

Φ==BcosωtBL2cosωt

  该过程中穿过线圈的磁通量,与线圈在磁场中以角速度ω匀速转动规律相同,因此回路中产生交流电。

  电动势最大值

    EmBωL2      (2分)

   磁场减小到零,相当于线圈转过90°,经历四分之一周期,过程中产生的电热

    Q2    (2分)

    T

  解得        (2分)

感悟与反思:

     本题学生入手不易,主要是对所给图象不理解,但细一分析,后一段匀变速运动的分析是突破口,再往前推,题目就容易多了。第二问巧妙设计了交流电,学生不易辨别。解法又两种,一是如题所述(类比迁移法),二是对磁通量求导的方法得出电动势为交变电动势,显然第一种方法较好,这种解法并不超纲。

试题详情

10.(南通四县市17分)如图甲所示,在边界MN左侧存在斜方向的匀强电场E1,在MN的右侧有竖直向上、场强大小为E2=0.4N/C的匀强电场,还有垂直纸面向内的匀强磁场B(图甲中未画出)和水平向右的匀强电场E3(图甲中未画出),BE3随时间变化的情况如图乙所示,P1P2为距MN边界2.28m的竖直墙壁,现有一带正电微粒质量为4×10-7kg,电量为1×10-5C,从左侧电场中距MN边界m的A处无初速释放后,沿直线以1m/s速度垂直MN边界进入右侧场区,设此时刻t=0, g =10m/s2.求:

(1)MN左侧匀强电场的电场强度E1(sin37º=0.6);

(2)带电微粒在MN右侧场区中运动了1.5s时的速度;

(3)带电微粒在MN右侧场区中运动多长时间与墙壁碰撞?(≈0.19)

  

解:(1)设MN左侧匀强电场场强为E1,方向与水平方向夹角为θ

带电小球受力如右图.

沿水平方向有   qE1cosθ=ma           (1分)

沿竖直方向有   qE1sinθ=mg           (1分)

    对水平方向的匀加速运动有    v2=2as     (1分)

  代入数据可解得 E1=0.5N/C           (1分)

θ=53º             (1分)

E1大小为0.5N/C,方向与水平向右方向夹53º角斜向上.

(2)    带电微粒在MN右侧场区始终满足 qE2=mg                (1分)

在0~1s时间内,带电微粒在E3电场中  m/s2 (1分)

   带电微粒在1s时的速度大小为 v1=v+at=1+0.1×1=1.1m/s       (1分)

   在1~1.5s时间内,带电微粒在磁场B中运动,周期为 s(1分)

   在1~1.5s时间内,带电微粒在磁场B中正好作半个圆周运动.所以带电微粒在MN右侧场区中运动了1.5s时的速度大小为1.1m/s, 方向水平向左.           (1分)

(3)在0s~1s时间内带电微粒前进距离 s1= vt+at2=1×1+×0.1×12=1.05m

带电微粒在磁场B中作圆周运动的半径 m   (1分)

因为r+s1<2.28m,所以在1s~2s时间内带电微粒未碰及墙壁.

在2s~3s时间内带电微粒作匀加速运动,加速度仍为 a=0.1m/s2 ,

在3s内带电微粒共前进距离

   s3=m           (1分)

在3s时带电微粒的速度大小为 m/s

在3s~4s时间内带电微粒在磁场B中作圆周运动的半径

     m=0.19m         (1分)

因为r3+s3>2.28m,所以在4s时间内带电微粒碰及墙壁.

   带电微粒在3s以后运动情况如右图,其中 d=2.28-2.2=0.08m      (1分)

   sinθ=  ,   θ=30º        (1分)

所以,带电微粒作圆周运动的时间为

  s    (1分)

带电微粒与墙壁碰撞的时间为 t=3+=s   (1分)

感悟与反思:

     这道题较好地考察了带电粒子在电场和磁场中的直线和偏转运动,所考查的知识点容量很大,对数值计算的要求高,且要求逐步计算出正确结果,才能得出下一步结果。但对运动过程的设置为正向设计,学生只要依次分析、计算,在细心分析基础上应该有一定比例的考生能够走到最后,所以有较好的区分度。运动的过程设计还有几个亮点,即运动中有重复性但又蕴含数值(半径)的变化,磁场运动和电场运动的交替连接也很得体,分析与计算长度的要求较高,符合高考能力立意、运用数学工具的要求。

试题详情

9.(如东启东期中联考14分)如图所示,可视为质点的三物块ABC放在倾角为300、长L=2m的固定斜面上,物块与斜面间的动摩擦因数μAB紧靠在一起,C紧靠在固定挡板上,三物块的质量分别为mA=0.80kg、mB=0.64kg、mC=0.50kg,其中A不带电,BC的带电量分别为qB=+4.0×10-5C、qC=+2.0×10-5C且保持不变,开始时三个物块均能保持静止且与斜面间均无摩擦力作用.如果选定两点电荷在相距无穷远处的电势能为0,则相距为r时,两点电荷具有的电势能可表示为.现给A施加一平行于斜面向上的力F,使A在斜面上作加速度a=1.5m/s2的匀加速直线运动,经过时间t0,力F变为恒力,当A运动到斜面顶端时撤去力F.已知静电力常量k=9.0×109N·m2/C2g=10m/s2.求:

(1)未施加力F时物块BC间的距离;

(2)t0时间内A上滑的距离;

(3)t0时间内库仑力做的功;

(4)力FA物块做的总功.

解:(1)ABC处于静止状态时,设BC间距离为L1, 则 CB的库仑斥力

                         (1分)

AB为研究对象,根据力的平衡  (1分)

联立解得   L1=1.0m                        (1分)

(2)给A施加力F后, AB沿斜面向上做匀加速直线运动,CB的库仑斥力逐渐减小,AB之间的弹力也逐渐减小.经过时间t0BC间距离设为L2AB两者间弹力减小到零,此后两者分离,力F变为恒力.则t0时刻CB的库仑斥力为

                 ①      (1分)

B为研究对象,由牛顿第二定律有

       ②       (1分)

联立①②解得   L2=1.2m

t0时间内A上滑的距离                 (1分)

(3)设t0时间内库仑力做的功为W0,由功能关系有

                                 (1分)

代入数据解得                      ③          (1分)

(4)设在t0时间内,末速度为v1,力FA物块做的功为W1,由动能定理有

                ④        (1分)

            ⑤

              ⑥

                             ⑦      (1分)

由③~⑦式解得  J                         (1分)

经过时间t0后,AB分离,力F变为恒力,对A由牛顿第二定律有

             ⑧      (1分)

FA物块做的功             ⑨

由⑧⑨式代入数据得                   (1分)

则力FA物块做的功               (1分)

感悟与反思:

    本题的设计属于陈题翻新。这类的老陈题多为重力势能与弹性势能结合,加考匀变速运动中的变量(受力)分析,本题用电势能代替弹性势能,保留重力的分立代替原重力。考查功能很直接:一是考查学生能否用熟悉的方法解决相似问题的能力,二是能否综合应用几乎全部力学规律(匀变速运动、牛顿第二定律、能量守恒定律)解决问题,不失为一道立意鲜明难度适当的好的综合题。

试题详情

8.(徐州质检13分)如图所示,粒子源S可以不断地产生质量为m、电荷量为+q的粒子(重力不计).粒子从O1孔漂进(初速不计)一个水平方向的加速电场,再经小孔O2进入相互正交的匀强电场和匀强磁场区域,电场强度大小为E,磁感应强度大小为B1,方向如图.虚线PQMN之间存在着水平向右的匀强磁场,磁感应强度大小为B2(图中未画出).有一块折成直角的硬质塑料板abc(不带电,宽度很窄,厚度不计)放置在PQMN之间(截面图如图),ac两点恰在分别位于PQMN上,ab=bc=Lα= 45°.现使粒子能沿图中虚线O2O3进入PQMN之间的区域.

(1) 求加速电压U1

(2)假设粒子与硬质塑料板相碰后,速度大小不变,方向变化遵守光的反射定律.粒子在PQMN之间的区域中运动的时间和路程分别是多少?

解:(1)粒子源发出的粒子,进入加速电场被加速,速度为v0,根据能的转化和守恒定律得:

                       (2分)

要使粒子能沿图中虚线O2O3进入PQMN之间的区域,则粒子所受到向上的洛伦兹力与向下的电场力大小相等,得到                  (2分)

将②式代入①式,得             (1分)

(2)粒子从O3以速度v0进入PQMN之间的区域,先做匀速直线运动,打到ab板上,以大小为v0的速度垂直于磁场方向运动.粒子将以半径R在垂直于磁场的平面内作匀速圆周运动,转动一周后打到ab板的下部.由于不计板的厚度,所以质子从第一次打到ab板到第二次打到ab板后运动的时间为粒子在磁场运动一周的时间,即一个周期T

和运动学公式,得           (2分)

粒子在磁场中共碰到2块板,做圆周运动所需的时间为       (2分)

粒子进入磁场中,在v0方向的总位移s=2Lsin45°,时间为     (2分)

t=t1+t2=                       (2分)

感悟与反思:

     本题最大的亮点在于巧妙地设计和考查了学生的空间想象和表达能力,同时要求学生对匀速直线运动与匀速圆周运动的连接及整个运动的周期性要能做连贯的分析和计算,真正从能力立意。全题考点丰富,有加速、速度选择器、匀速圆周运动、匀速直线运动等,计算设计为字母运算而非数字计算,集中精力考查学生分析运动的能力,很好。平时教学中应该加强对三维空间受力和运动的分析,教会学生正确应用立体图、各种平面视图来帮助分析运动。

试题详情

7.(盐城一调12分)如图所示,在直角坐标系的原点O处有一放射源,向四周均匀发射速度大小相等、方向都平行于纸面的带电粒子。在放射源右边有一很薄的挡板,挡板与xoy平面交线的两端M、N与原点O正好构成等腰直角三角形。已知带电粒子的质量为m,带电量为q,速度为υMN的长度为L

(1)若在y轴右侧加一平行于x轴的匀强电场,要使y轴右侧所有运动的粒子都能打到挡板MN上,则电场强度E0的最小值为多大?在电场强度为E0时,打到板上的粒子动能为多大?

(2)若在整个空间加一方向垂直纸面向里的匀强磁场,要使板右侧的MN连线上都有粒子打到,磁场的磁感应强度不能超过多少(用m、υ、q、L表示)?若满足此条件,放射源O向外发射出的所有带电粒子中有几分之几能打在板的左边?

解:⑴由题意知,要使y轴右侧所有运动粒子都能打在 MN板上,其临界条件为:沿y轴方向运动的粒子作类平抛运动,且落在MN点。

M O′=Lt            

a=                  

OO′=L =at2            ③

解①②③式得

E0=                 ④

由动能定理知

qE0×L =Ek        ⑤

解④⑤式得

Ek=                  ⑥

⑵由题意知,要使板右侧的MN连线上都有粒子打到,粒子轨迹直径的最小值为MN板的长度L

R0=L=             ⑦

B0=                   ⑧

放射源O发射出的粒子中,打在MN板上的粒子的临界径迹如图所示。

OM=ON,且OMON

OO1OO2

∴υ1⊥υ2

∴放射源O放射出的所有粒子中只有打在MN板的左侧。

评分标准:①②③④⑤⑥各1分,⑦⑧各2分,第2问的第二部分的文字叙述正确得2分。

感悟与反思:

本题总体较难。第一问考查带电粒子在电场中的偏转,为基本要求;第二问的第一种情形学生很多看不清题目,错误理解为从左侧打板,第二种情形中学生受熟题影响,只知道相切这种临界情况,而不知道应该按照旋转半径大于L/2考虑。另外,学生不能熟练进行圆的旋转、缩放,束手无策,也是高三复习中的难点问题,需要切实突破。全题大多学生只能做出第一问。

试题详情

6.(盐城一调10分)中国“嫦娥一号”绕月探测卫星完成三次近月制动后,成功进入周期T=127min、高度h=200km的近月圆轨道。

(1)已知月球半径为R=1.72×106 m,求卫星在高度200km的圆轨道上运行的速度υ和轨道处的重力加速度g

(2)“嫦娥一号”轨道的近月点到月球球心的距离r=193km,远月点到月球球心的距离r=194km。张明、王玉两同学利用不同方法分别计算出卫星经过近月点时速度v、近月点到月球球心的距离r和经过远月点时速度υ、远月点到月球球心的距离r的关系。

张明的方法:

   由(1)、(2)得υυ( rr)=g(rr)

王玉的方法:

mυ=mg(rr) 得υυ=2g(rr)

  请分别对这两个同学的计算方法作一评价,并估算从远月点到近月点卫星动能的增量。(卫星质量为1650kg,结果保留两位有效数字)

解:⑴υ=               ①

υ==1.6×103(m/s) ②

由υ=得:              ③

g===1.3 (m/s)            ④

⑵张明的思路方法错误,王玉的方法正确,但所列方程式是错误的。   ⑤

由动能定理得:

ΔEk=mg(rr) =1650×1.3×(1.94-1.93)×105=2.1×106(J)        ⑥

评分标准:②③④各1分,①⑤2分,⑥3分。

感悟与反思:

第一问考查基本知识;第二问立意很好,将实际的椭圆运动和两个独立的圆周运动放在一起让学生辨析,抓住了教师教学和学生学习过程中的常见缺漏。学生大多只是抓住“1千米差别”大做文章,而不能发现本质问题。对第二问,好的学生也可能用引力势能公式计算,这也较好,但题目要求估算,还是题给解法好些。

试题详情

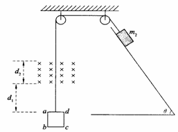
5.(如东启东期中联考13分)如图所示,一轻绳绕过无摩擦的两个轻质小定滑轮O1O2和质量mB=m的小球连接,另一端与套在光滑直杆上质量mA=m的小物块连接,已知直杆两端固定,与两定滑轮在同一竖直平面内,与水平面的夹角θ=60°,直杆上C点与两定滑轮均在同一高度,C点到定滑轮O1的距离为L,重力加速度为g,设直杆足够长,小球运动过程中不会与其他物体相碰.现将小物块从C点由静止释放,试求:

(1)小球下降到最低点时,小物块的机械能(取C点所在的水平面为参考平面);

(2)小物块能下滑的最大距离;

(3)小物块在下滑距离为L时的速度大小.

解:(1)设此时小物块的机械能为E1.由机械能守恒定律得

   (3分)

(2)设小物块能下滑的最大距离为sm,由机械能守恒定律有

          (2分)

    (1分)

代入解得      ;      (2分)

(3)设小物块下滑距离为L时的速度大小为v,此时小球的速度大小为vB,则

                                            (1分)

                                 (2分)

 解得                                     (2分)

感悟与反思:

本题要求正确判断CO1长度是现变短后变长,从而知道小球是先上升后下降,CO垂于杆时小球速度为零;物块速度为零时小球速度也为零。最后一问要求学生正确处理A、B两物体之间的速度关系,即两者沿绳速度相等。综合考查了运动分析、能量守恒定律、运动的合成与分解等知识。学生对第一问难以上手,所以本题三问的区分度并不好。

试题详情

4.(扬州期末15分)如图所示,一边长L = 0.2m,质量m1 = 0.5kg,电阻R = 0.1Ω的正方形导体线框abcd,与一质量为m2 = 2kg的物块通过轻质细线跨过两定滑轮相连。起初ad边距磁场下边界为d1 = 0.8m,磁感应强度B=2.5T,磁场宽度d2 =0.3m,物块放在倾角θ=53°的斜面上,物块与斜面间的动摩擦因数μ=0.5。现将物块由静止释放,经一段时间后发现当ad边从磁场上边缘穿出时,线框恰好做匀速运动。(g取10m/s2,sin53°=0.8,cos53°= 0.6)求:

  (1)线框ad边从磁场上边缘穿出时绳中拉力的功率;

  (2)线框刚刚全部进入磁场时速度的大小;

  (3)整个运动过程中线框产生的焦耳热。

1,3,5
 
解:
1,3,5
 
(1)由于线框匀速出磁场,则

m2有:

T=10N  ……2分

m1有:

又因为

联立可得:……2分

所以绳中拉力的功率P=Tv=20W  ……2分

    (2)从线框刚刚全部进入磁场到线框ad边刚要离开磁场,由动能定理得

 ……3分

解得v0==1.9m/s……2分

  (3)从初状态到线框刚刚完全出磁场,由能的转化与守恒定律可得

……3分

将数值代入,整理可得线框在整个运动过程中产生的焦耳热为:

Q = 1.5 J  ……1分

感悟与反思:

第一问学生往往错误地应用整体法而得出错误答案;第二问有两种解法,一是利用能量转化与守恒,二是纯粹用运动学方法解,但必须正确隔离两个物体;第三问似与第二问考点重复,删去也可。

试题详情

3.(扬州期末15分)倾斜雪道的长为50 m,顶端高为30 m,下端经过一小段圆弧过渡后与很长的水平雪道相接,如图所示。一滑雪运动员在倾斜雪道的顶端以水平速度v0=10 m/s飞出,在落到倾斜雪道上时,运动员靠改变姿势进行缓冲使自己只保留沿斜面的分速度而不弹起。除缓冲外运动员可视为质点,过渡轨道光滑,其长度可忽略。设滑雪板与雪道的动摩擦因数μ=0.2,求:

(1)运动员落在倾斜雪道上时与飞出点之间的距离;

(2)运动员落到倾斜雪道瞬间沿斜面的速度大小;

(3)运动员在水平雪道上滑行的距离(取g=10 m/s2)。

解:(1)如图,运动员飞出后做平抛运动

              

由y=x tanθ得飞行时间t=1.5 s    ……1分

落点的x坐标:xv0t=15 m    ……2分

落点离斜面顶端的距离:=18.75m  ……2分

(2)落点距地面的高度:h=(L-s1)sinθ=18.75m

接触斜面前的x分速度:vx=10m/s    ……1分

     y分速度:vy=gt=15m/s  ……1分

沿斜面的速度大小为:= 17m/s  ……3分

(3)设运动员在水平雪道上运动的距离为s2,由功能关系得:

        ……3分

     解得:s2=141m ……2分

  感悟与反思:

第一问用常规解法;第二问求运动员落到倾斜雪道瞬间沿斜面的速度大小,分解时正交系先选择水平和竖直方向,看似老套其实很好,只不过要二次分解,对分解的要求很高,符合2008江苏考试说明的变化及要求;第三问要求正确列出动能定理的方程。

试题详情


同步练习册答案