题目列表(包括答案和解析)

 0  168725  168733  168739  168743  168749  168751  168755  168761  168763  168769  168775  168779  168781  168785  168791  168793  168799  168803  168805  168809  168811  168815  168817  168819  168820  168821  168823  168824  168825  168827  168829  168833  168835  168839  168841  168845  168851  168853  168859  168863  168865  168869  168875  168881  168883  168889  168893  168895  168901  168905  168911  168919  447348 

18.一矩形线圈,绕垂直于匀强磁场并位于线圈平面内

-1
 
1
 
3
 
2
 
1
 
O
 
i/A
 
的固定轴以恒定的角速度转动,线圈中感应电流i随时间

t变化情况如图所示,则

A.该交流电的频率为4 Hz

t/s
 
B.该交流电的有效值为/2A

C.1 s时刻穿过线圈磁通量变化率的绝对值最大

D.2 s时刻穿过线圈磁通量变化率的绝对值最大

试题详情

17.已知在弹性绳上传播的一列简谐横波在某一时刻的波形,则 

   A.知道波的传播方向,就可确定此时绳上任一质点(速度不为零的质点)振动的速度方向

   B.知道绳上一质点(速度不为零的质点)的振动速度方向,就可确定波的传播方向

   C.波的传播周期等于绳上每一质点的振动周期

   D.波在传播过程中,绳上的各质点将以波的传播速度沿着波形运动

试题详情

16.现在太阳向外辐射的能量是由于太阳内部氢聚变产生的。科学家预测:大约在40亿年以

后,太阳内部还将会启动另一种核反应,其核反应方程为:42He+42He+42He→126C, 已知42He

的质量为m1,126C的质量为m2,则

   A.m1=3m2                B.3m1=m2         C.3m1<m2      D.3m1>m2

试题详情

15.关于热现象,下列说法正确的是

   A.外界对物体做功,物体的内能一定增加   B.将热量传给物体,物体的内能一定改变

   C.热量可以从低温物体传到高温物体     D.机械能可以全部变成内能

试题详情

14.用一束黄光照射某种金属时恰有光电子逸出. 为使逸出的光电子的最大初动能增大,可

采用的方法是

   A.改用红外线照射                B.改用紫外线照射

   C.增加黄光照射的时间             D.增大黄光的照射强度

试题详情

24.(18分)解:(1)带电物块由A到B的过程中,W=qE·SAB  (1) (4分)

     由几何关系:SAB=h/sin37°         (2)     (2分)

     由(1)(2)得:E=100(V/m)              (2分)

  (2)物块由A到B中所受的滑动摩擦力大小f=μmgcos37°=0.32N (3分)

在A到B的过程中,由动能定理,物块在B点的动能为EKB

    W-mgh-f·SAB=EkB                   (4分)

    EkB=0.48J                         (3分)

试题详情

23.(16分)

 (1)设木板A的初速度为v0,由动量定理得

      I=mAv0

所以,木板A获得的初速度为   v0=3 m/s      (6分)

(2)设小物块B与木板A相对静止时的共同速度为v,根据动量守恒定律得

               mAv0=(mA+mB)v         (3分)

共同速度     =2.4 m/s       (2分)

对小物块B,由动能定理得    mBgs=mBv2        (3分)

       s==1.2 m       (2分)

试题详情

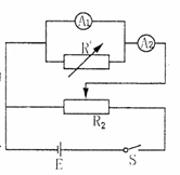
22.(18分)

(1)微波

(2)  A1表的示数I1,A2表的示数I2,R′的读数R1

    (要与上述物理量对应)

试题详情

25.(20分)如图所示,在x轴上方为一垂直纸面向里的匀强磁场,磁感应强度为B。在x

轴下方有一个沿y轴负方向的匀强电场,电场强度为E(电、磁场的范围都足够大),已知沿

x轴方向与原点相距为L的地方,垂直于x轴放置一块荧光屏MN。现有一质量为m、带电

量为e的电子,从坐标原点沿y轴正方向射入磁场。

   (1)如果要使电子垂直打在屏MN上,求电子射入的最大速度为多少?

M
 
   (2)若电子从坐标原点,沿y轴正方向以某一速度入射后垂直打在荧光屏上的P点,

P点距x轴距离OP=L/3,则电子从入射到打在P点所需的时间是多少?

 y
 
L
 
B
 
O
 
E
 
 

高考物理套题训练冲刺卷十一

14
15
16
17
18
19
20
21
A
B
A
ACD
BD
AD
D
C

试题详情

24.(18分)如图所示,在动摩擦因数μ=0.2,倾角为37°的绝缘斜面上,有一静止在A点,

质量为m=0.2 kg,电荷量q=2.0×10-2 C带负电的物块,现加一沿斜面方向的匀强电场,使物

块由A点运动到B点,电场力做功为W=2 J,已知AB两点间的竖直高度为h=0.6 m。

(sin37°=0.6,cos37°=0.8,取g=10 m/s2)求:1)电场强度E;2)物块到达B点时的动能。

 

试题详情


同步练习册答案