0  125054  125062  125068  125072  125078  125080  125084  125090  125092  125098  125104  125108  125110  125114  125120  125122  125128  125132  125134  125138  125140  125144  125146  125148  125149  125150  125152  125153  125154  125156  125158  125162  125164  125168  125170  125174  125180  125182  125188  125192  125194  125198  125204  125210  125212  125218  125222  125224  125230  125234  125240  125248  447090 

2.一位同学在测某物体质量时,在天平右盘里无论怎样加减砝码,都不能使横梁平衡,可采用的方法是

A.交换左右两个托盘                   B.旋动平衡螺母

C.移动游码                          D.同时移动游码和旋动螺母

试题详情

1.中国首位航天员杨利伟乘坐“神舟”五号飞船将联合国旗帜与中国国旗带到太空。下图为航天员杨利伟从太空向世界各国人民问好,并在舱内并列展示了中国国旗和联合国旗。被带到太空中的中国国旗和联合国旗的质量

A.不变           B.变大            C.变小            D.不能确定

试题详情

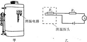
18.(8分)阳谷宾馆对物品进行消毒时使用高温高压蒸汽消毒锅(如图甲所示)。图乙为自动测定锅内温度的电路原理图,其中R0为定值电阻(阻值为5),A为温度指示表(实质是一只量程为0-0.6A的电流表),Rx (测温探头)为热敏电阻(其电阻值随锅内温度的变化而化)。关于热敏电阻的阻值与温度的对应关系如下表所示:

 锅内温度值/℃
25
37.5
 50
62.5
 75
87.5
 100
112.5
  125
kx对应的电阻值/℃
 150
 80
 50
 30
 20
 15
 10
   7
 

  (1)若锅内温度为75℃时电流表的示数为0.24A.求电源电压U。

  (2)若锅内温度为l25℃时电流表的示数为0.6A.求此时热敏电阻Rx的阻值及其功率。

试题详情

17.(7分)在抗震救灾中,某部队利用冲锋舟为灾区开辟了水上生命线(如图所示),人们乘坐的冲锋舟满载时排开水的体积是1.5m3,冲锋舟自重为0.6×104N,假设每人的平均质量为60kg,求:

(1)冲锋舟满载时所受的浮力是多少?

(2)为保证安全,这条冲锋舟最多能承载多少人?

    (3)冲锋舟底部0.5m深处所受水的压强多大?(水的密度为1×103kg/m3,g=10N/kg)

试题详情

16.(4分)下面图甲所示,是小光实验小组选用的测定小灯泡电阻所需要的电路元件。小灯泡的额定电压为3.8V,估计小灯泡的阻值小于15

  (1)请根据图乙所示的实验电路;用笔画线代替导线,将图甲中各电路元件连接起来(电流表和电压表应选择合适的量程)。

(2)若小光同学连接电路后,实验时发现:小灯泡逐渐变亮时,电压表的示数逐渐变小。造成这一现象的原因是_______________________________________________________。

(3)按照图乙正确连接电路后,继续进行实验,当小灯泡正常发光时,电流表的示数如图丙所示,其示数为_____________A,则被测小灯泡正常发光时的电阻为___________

试题详情

15.(4分)在探究“杠杆的平衡条件”实验中,某同学记录了三次实验数据如下表:

  实验次数
  动力Fl/N
 动力臂L1/m
  阻力F2/N
阻力臂L2/m
   1
   2.0
   0.04
   4.0
   0.02
   2
   1.0
   0.02
   0.5
   0.01
   3
   2.5
   0.03
   1.5
   0.05

(1)这三次实验数据中有一次是错误的,记录错误数据的实验次数是________________,

由正确实验结果可得杠杆的平衡条件是______________。

(2)如左图所示,当在A处挂了三个钩码时,要使杠杆平衡,应在C处挂__________个钩码(每个钩码的质量相等)。

  (3)若某次实验中用弹簧测力计竖直向上拉杠杆一端的A点,如右图所示,杠杆平衡时弹簧测力计的示数为Fa;若在A点斜向上拉,要求杠杆在水平位置再次平衡时,弹簧测力计的示数为Fb,则Fa ________________(填“大于”、“小于”或“等于”)Fb

试题详情

14.(2分)如图所示,入射光线从半圆形玻璃射向空气,在玻璃和空气的界面同时发生了反射和折射,请分别画出图中反射光线和折射光线(大概位置)。

试题详情

13.目前,一污泥发电厂在南昌投入运行,它是将收集到的污水处理厂的污泥,在热电厂与煤掺烧发电,经测算,在完全燃烧的情况下,10吨污泥相当于l.4吨烟煤产生的热量,那么,完全燃烧500吨污泥可以产生____________J的热量。(烟煤的热值为2.9×l07J·k)

试题详情

12.带有金属外壳的家用电器,都要使用三孔插座和三孔插头,这样做的目的是为了让金属外壳与___________________________相连.

试题详情

11.一个重6N的实心物体,用手拿着使它刚好浸没在水中,此时物体排开的水重是10N,则该物体受到的浮力大小为_______________________。

试题详情


同步练习册答案