0  246573  246581  246587  246591  246597  246599  246603  246609  246611  246617  246623  246627  246629  246633  246639  246641  246647  246651  246653  246657  246659  246663  246665  246667  246668  246669  246671  246672  246673  246675  246677  246681  246683  246687  246689  246693  246699  246701  246707  246711  246713  246717  246723  246729  246731  246737  246741  246743  246749  246753  246759  246767  447090 

14.在探究生长素类似物促进插条生根的最适浓度时,一名技术员用几种不同浓度的α-萘乙酸(一种人工合成的生长素类似物)溶液处理插条基部,然后在沙床中培养,观察生根情况。图1为不同浓度的生长素溶液对根的促进作用的示意图,图2为α-萘乙酸促进枝条生根的情况。请据图1和图2判断,在下列各项浓度值中,最好选用   (   )

图一                    图二

A.3 mg·mL-1                       B.6 mg·mL-1       

C.9 mg·mL-1               D.4.5 mg·mL-1? 

答案  D

试题详情

13.如图所示,如果根a侧的生长素浓度在曲线A点(为10-10mol·L-1),下列描述正确的是       (   ) 

A. 在FC的范围内均能促进生长 

B.AD属于生长抑制范围 

C.a侧的生长素浓度为最适宜浓度,细胞伸长生长快,b侧的生长素浓度低于a侧,相当于曲线FE段浓度,因而细胞伸长生长慢 

D.在太空中(重力为0),根的生长状况将不同于上图的生长状况,坐标图中生长素的曲线也不适用于根的生长

  答案  A 

试题详情

12.用燕麦胚芽鞘及幼苗⑦、⑧进行如下图所示实验,一段时间后,会引起弯曲现象的是(   )

A.②⑤⑦                 B.①②③⑤⑧      

 C.①③④⑥⑦               D.②⑤⑧

 答案  D

试题详情

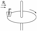
11.将栽有刚发芽玉米幼苗的小盆固定于如图所示的以一定速度匀速旋转的转盘上(小盆不透光),并给予左侧光照。一段时间后,玉米的顶芽和根的生长方向分别为(假定观察时小盆也处于如图位置)                         (   )

A.顶芽,根                 B.顶芽,根?      

C.顶芽,根                 D.顶芽,根?

答案  D 

试题详情

10.下列实例中能体现植物生长素作用两重性的是             (   ) 

A.胚芽鞘的向光性             B.茎的负向重力性 

C.无子番茄的培育             D.顶端优势

 答案  D

试题详情

9. 下图是关于燕麦胚芽鞘向光生长的一组实验,根据结果分析最可能的结论是   (    )

①胚芽鞘尖端向光侧抑制生长的物质可能增多  ②胚芽鞘尖端可能产生了某种促进生长的物质  ③胚芽鞘尖端是接受光刺激的敏感部位  ④胚芽鞘尖端向光侧生长素分布较少

A.①②        B.②③       C.②③④        D.①②③④

 答案  D 

试题详情

8.科学家做过如下的试验:(1)把不含生长素的两琼脂小块放在燕麦胚芽鞘下端;(2)把含有生长素的琼脂小块放在一段去掉尖端的燕麦胚芽鞘形态学上端,把另两小块不含生长素的琼脂小块作为接受块放在形态学下端;(3)把一段去掉尖端的燕麦胚芽鞘倒转过来,让形态学上端朝下,做与(2)同样的试验(如下图),三个试验都以单侧光照射。经过一段时间后,对接受块成分变化的叙述,正确的是              (   ) 

A. 在③④⑤⑥中,⑤含生长素最多 

B.①含生长素比②少,⑤含生长素比⑥多 

C.③④中生长素含量之和比⑤⑥中生长素含量之和多 

D.①含生长素比②多,③含生长素比④多

答案  C 

试题详情

7.目前植物生长调节剂在蔬菜、水果等的种植中已有较多应用,下列说法肯定错误的是

(   )

A.用高浓度的α-萘乙酸在适当的时期处理桃可提高产量 

B.一定浓度的2,4-D可促进插条生根 

C.在芦苇生长期用一定浓度的赤霉素溶液处理可使其纤维长度明显增加

D.用乙烯利催熟香蕉不会明显影响香蕉品质

 答案  A 

试题详情

6.下列关于植物激素的叙述,正确的是                  (   ) 

①在植物体内含量极少  ②在植物体内含量很多  ③产生部位也是作用部位  ④对植物体的生命活动有显著的调节作用  ⑤化学本质是蛋白质  ⑥化学本质是有机物 

A.①④⑥     B.①③④⑤     C.②④⑤     D.②③④⑥

 答案  A

试题详情

5.如图所示,甲、乙分别用不透光的锡箔纸套在燕麦胚芽鞘的不同部位,丙、丁、戊则分别用不透水的云母片插入燕麦胚芽鞘的不同部位,从不同方向照光,培养一段时间后,胚芽鞘的生长情况是                           (   ) 

A.甲不生长也不弯曲;乙直立生长;丙向左生长;丁直立生长;戊向右生长 

B.甲直立生长;乙向右生长;丙向左生长;丁不生长也不弯曲;戊向左生长 

C.甲向左生长;乙向右生长;丙直立生长;丁向右生长;戊向左生长 

D.甲直立生长;乙向右生长;丙直立生长;丁不生长也不弯曲;戊向右生长

答案  D

试题详情


同步练习册答案