0  255428  255436  255442  255446  255452  255454  255458  255464  255466  255472  255478  255482  255484  255488  255494  255496  255502  255506  255508  255512  255514  255518  255520  255522  255523  255524  255526  255527  255528  255530  255532  255536  255538  255542  255544  255548  255554  255556  255562  255566  255568  255572  255578  255584  255586  255592  255596  255598  255604  255608  255614  255622  447090 

27.(12分)原子序数由小到大排列的四种短周期元素X、Y、Z、W,四种元素的原子序数之和为32,在周期表中X是原子半径最小的元素,Y、Z左右相邻,Z、W位于同主族。

(1)X元素是    (填元素符号)。

(2)X与W组成的化合物中存在    键(填“离子”“共价”)。

(3)由X、Y、Z、W四种元素中的三种组成的一种强酸,该强酸的稀溶液能与铜反应,离子方程式为                 。

(4)由X、Y、Z、W四种元素组成的一种离子化合物A

①已知1mol A能与足量NaOH浓溶液反应生成标准状况下44.8L气体。写出加热条件下A与NaOH溶液反应的离子方程式                

②又知A既能与盐酸反应,又能与氯水反应,写出A与氯水反应的离子方程式

               

(5)由X、Y、Z、W和Fe五种元素组成的式量为392的化合物B,1 mol B中含有6mol结晶水。对化合物B进行如下实验:

a、取B的溶液加入过量浓NaOH溶液并加热,产生白色沉淀和无色刺激性气味气体。过一段时间白色沉淀变为灰绿色,最终变为红褐色;

b、另取B的溶液,加入过量BaCl2溶液产生白色沉淀,加盐酸沉淀不溶解

①B的化学式为     。

②已知1 mol·L-1 100mL B的溶液能与1 mol·L- 1 20mLKMnO4溶液(硫酸酸化)恰好反应。写出反应的离子方程式     。

试题详情

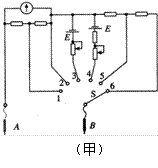
26、(20分)如图(甲)所示为一种研究高能粒子相互作用的装置,两个直线加速器均由k个长度逐个增长的金属圆筒组成(整个装置处于真空中。图中只画出了6个圆筒,作为示意),它们沿中心轴线排列成一串,各个圆筒相间地连接到正弦交流电源的两端,设金属圆筒内部没有电场,且每个圆筒间的缝隙宽度很小,带电粒子穿过缝隙的时间可忽略不计。为达到最佳加速效果,需要调节至粒子穿过每个圆筒的时间恰为交流电的半个周期,粒子每次通过圆筒缝隙时,都恰为交流电压的峰值。

 

质量为m、电荷量为e的正、负电子分别经过直线加速器加速后,从左、右两侧被导入装置送入位于水平面内的圆环型真空管道、且被导入的速度方向与圆环形管道中粗虚线相切。在管道内控制电子转弯的是一系列圆形电磁铁,即图(甲)中的A1、A2、A3……An,共n个,均匀分布在整个圆周上(图中只示意性地用细实线画了几个,其余的用细虚线表示),每个电磁铁内的磁场都是磁感应强度均相同的匀强磁场,磁场区域都是直径为d的圆形。改变电磁铁内电流的大小,就可改变磁场的磁感应强度,从而改变电子偏转的角度。经过精确的调整,可使电子在环形管道中沿图中粗虚线所示的轨迹运动,这时电子经过每个电磁铁时射入点和射出点都在电磁铁内圆形匀强磁场区域的同一条直径的两端,如图(乙)所示。这就为实现正、负电子的对撞作了准备。

  (1)若正、负电子经过直线加速器后的动能均为E0,它们对撞后发生湮灭,电子消失,且仅产生一对频率相同的光子,则此光子的频率为多大?(已知普朗克恒量为h,真空中的光速为c。)

  (2)若电子刚进入直线加速器第一个圆筒时速度大小为V0,为使电子通过直线加速器加速后速度为v,加速器所接正弦交流电电压的最大值应当多大?

  (3)电磁铁内匀强磁场的磁感应强度B为多大?

试题详情

25、(18分)如图所示,质量为M=1kg的平板小车上放置着ml=3kg,m2=2kg的物块,两物块与小车间的动摩擦因数为μ=0.5。两物块间夹有一压缩轻质弹簧,物块间有张紧的轻绳相连。小车右端有与m2相连的锁定开关,现已锁定。水平地面光滑,物块均可视为质点。现将轻绳烧断,若己知m1相对小车滑过0.6m时从车上脱落,此时小车以速度v0=2m/s向右运动,当小车第一次与墙壁碰撞瞬间锁定开关打开。设小车与墙壁碰撞前后速度大小不变,碰撞时间极短,小车足够长。(g=10 m/s2)求:

   (1)最初弹簧的弹性势能

   (2)m2相对平板小车滑行的总位移

(3)小车第一次碰撞墙壁后非匀速运动所经历的总时间。

试题详情

24、(14分)如图,在竖直平面内有两平行金属导轨AB、CD。导轨间距为L,电阻不计。一根电阻不计的金属棒可在导轨上无摩擦地滑动。棒与导轨垂直,并接触良好。导轨之间有垂直纸面向外的匀强磁场,磁感强度为B。导轨右边与电路连接。电路中的两个定值电阻分别为2R和R。在BD间接有一水平放置的平行板电容器C,板间距离为d。当以速度匀速向左运动时,电容器中质量为m的带电微粒恰好静止。求:微粒的带电性质,及带电量的大小。

试题详情

23、(10分)多用电表是实验室和生产实际中常用的仪器.

   ①如图甲是一个多用电表的内部电路图,在进行电阻测量时,应将S拨到_____或_____两个位置,在进行电压测量时,应将S拨到______或______两个位置.

 

②使用多用电表进行了两次测量,指针所指的位置分别如图中a、b所示。若选择开关处在“×10Ω”的电阻档时指针位于a,则被测电阻的阻值是_________Ω.若选择开关处在“直流电压2.5V”档时指针位于b,则被测电压是_____________V;

③两位同学使用完多用电表后,分别把选择开关置于图丙和图丁位置,你认为图_______的位置比较好.

试题详情

22、(10分)利用图示装置可以测定油漆喷枪喷射油漆雾滴的速度。

(1) 将直径D = 40cm的纸带环,安放在一个可以匀速转动的转台上,纸带上有一狭缝A,A的正对面有一条标志线。油漆喷枪放在开有狭缝B的纸盒里。转台以角速度稳定转动后,开始喷漆。仅当狭缝A和B正对平行时,雾滴才能在纸带内侧留下痕迹。改变喷射速度重复实验,在纸带上留下了一系列的痕迹 a、b、c、d。将纸带取下放在刻度尺下(如下图)。

 

已知,则:速度最大的雾滴所留的痕迹应为   点,该点离标志线的距离为     cm,该喷枪喷出的雾滴的最大速度为      m/s,若考虑空气阻力的影响,该测量值     真实值(选填“大于”“小于”或“等于”)。

(2) 若将喷枪和开有狭缝的纸盒置于转台上(如右图)。喷枪固定于转轴上不随台转动,而纸盒随转台转动,且使狭缝A和狭缝B始终正对。开动转台,转台以角速度稳定转动。改变喷射速度,重复实验四次。(已知 )则:

A.喷枪喷出液滴一定不会从狭缝A射出

B.喷枪喷出液滴可能会从狭缝A射出

C.只要时间足够长,纸带上将到处留下液滴的痕迹

D.速度越快的液滴在纸带上留下的痕迹离狭缝A越远

试题详情

21、如图所示为静止在光滑水平面上的质量为M的小车,小车上AB部分是半径为R的四分之一光滑圆弧,BC部分是粗糙的平面. 今把质量为m的小物块从A点静止释放,mBC分部间的动摩擦因数为μ,最终小物块与小车相对静止于BC之间的D点,则下列说法错误的是 

    A.m运动到车上B点时,车向左运动距离为       

    B.整个过程车与物块组成的系统动量守恒

    C.其他量不变,R越大,BD距离越大

    D.其他量不变,M越大,BD距离越大

第Ⅱ卷

第Ⅱ卷共13题,共174分。

试题详情

20、真空中相距为3a的两个点电荷MN,分别固定于x轴上x1=0 和x2=3a的两点上,在它们连线上各点场强随x变化关系如图所示,以下判断中正确的是 

A.点电荷MN一定为同种电荷

B.点电荷MN一定为异种电荷

C.点电荷MN所带电荷量的绝对值之比为4:1

D.x=2a处的电势一定为零

试题详情

19、双缝干涉实验装置如图所示,绿光通过单缝S后,投射到具有双缝的挡板上,双缝S1S2与单缝的距离相等,光通过双缝后在与双缝平行的屏上形成干涉条纹。屏上O点距双缝S1S2的距离相等,P点是距O点最近的第一条亮条纹。如果将入射的单色光换成红光或蓝光,讨论屏上O点及其上方的干涉条纹的情况是

   A.O点处是红光的亮条纹

   B.O点处不是蓝光的亮条纹

   C.红光距O点最近的第一条亮条纹在P点的上方

   D.蓝光距O点最近的第一条亮条纹在P点的上方

试题详情

18、如图所示为一弹簧振子作简谐运动的振动图象,根据图象可以判断

   A.t1时刻和t2时刻振子位移大小相等,方向相同,且(t1-t2)一定等于T/2;

   B.t2时刻和t3时刻速度大小相等、方向相反;

C.t1时刻和t3时刻弹簧的长度相等;

D.t2时刻和t4时刻加速度大小相等、方向相反。

试题详情


同步练习册答案