0  266477  266485  266491  266495  266501  266503  266507  266513  266515  266521  266527  266531  266533  266537  266543  266545  266551  266555  266557  266561  266563  266567  266569  266571  266572  266573  266575  266576  266577  266579  266581  266585  266587  266591  266593  266597  266603  266605  266611  266615  266617  266621  266627  266633  266635  266641  266645  266647  266653  266657  266663  266671  447090 

5.下列有关细胞工程的叙述中正确的一项是                              (   )

    A.克隆不是无性繁殖

    B.用体细胞克隆动物是通过核移植实现的

    C.灭活病毒通过溶解磷脂双分子层诱导动物细胞融合

    D.动物细胞培养与植物组织培养所用的培养基成分一样

试题详情

4.下列有关实验材料、实验方法的叙述中不正确的是                       (   )

    A.脂肪鉴定实验中要用蒸馏水洗去浮色后在显微镜下观察花生种子切片

    B.植物向光性实验中,常用玉米、小麦等单子叶植物幼苗做实验材料

    C.样方法和标志重捕法都是常用的取样调查方法

    D.观察试管中产生气泡的量,可以用来比较过氧化氢酶与Fe3+的催化效率

试题详情

3.运动员在参加激烈比赛的过程中,需要通过一定机制来维持内环境的稳态。下列有关叙述错误的是                           (   )

    A.大量流汗导致失水过多,通过减少抗利尿激素分泌进行调节

    B.产热增多使体温升高,通过神经一体液调节以维持体温稳定

    C.肌细胞无氧呼吸产生并释放到血液中的乳酸,由缓冲物质中和以维持酸碱平衡

    D.葡萄糖的大量消耗使血糖浓度偏低,可以通过增加胰高血糖素分泌进行调节

试题详情

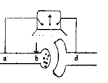
2.取出枪乌贼的粗大神经纤维,进行如图所示的实验:

将电流表的两个微型电极a、d分别置于神经纤维

膜外(ab=cd),在b点给一个强刺激,电流表的

指针发生偏转的次数和方向分别为      (   )

    A.一次,向左

    B.两次,两次均向右

    C.两次,第一次向左,第二次向右

    D.两次,第一次向右,第二次向左

试题详情

1.下列是四幅关于光合作用和细胞呼吸的图,有关叙述中正确的是            (   )

 

A.甲图中氧气浓度为a时,无氧呼吸与有氧呼吸的强度相同

B.乙图中如果再提高CO2浓度,则b点一定上移

C.丙图中,温度为t4℃时,植物净光合作用最大

    D.丁图代表两类色素的吸收光谱,则e代表类胡萝素

试题详情

2010.5

    本试卷分为第Ⅰ卷(选择题)和第Ⅱ卷(非选择题)两部分,满分300分。考试时间150分钟。

可能用到的相对原子质量:

    H-1  N-14  O-16  C-12  Cl-35.5  Na-23  Fe-56  Cu-64

第Ⅰ卷(选择题 共120分)

本卷共20小题,每题6分,共120分。在下列各题的四个选项中,只有一个选项是符合题目要求的。

试题详情

下面的题目任选其一,按照要求作文。

23.请以“位置”为题目,写一篇文章。要求:立意自定,文体自选,不少于800字。(60分)

试题详情


同步练习册答案