0  266972  266980  266986  266990  266996  266998  267002  267008  267010  267016  267022  267026  267028  267032  267038  267040  267046  267050  267052  267056  267058  267062  267064  267066  267067  267068  267070  267071  267072  267074  267076  267080  267082  267086  267088  267092  267098  267100  267106  267110  267112  267116  267122  267128  267130  267136  267140  267142  267148  267152  267158  267166  447090 

25.(19分)如图所示,质量为M =2 kg的小车A静止在光滑水平面上,A的右端停放有一个质量为m =0.4 kg带正电荷q =0.8 C的小物体B.整个空间存在着垂直纸面向里磁感应强度B =0.5T的匀强磁场,现从小车的左端,给小车A一个水平向右的瞬时冲量I =26 N·s,使小车获得一个水平向右的初速度,物体与小车之间有摩擦力作用,设小车足够长,求:

(1)瞬时冲量使小车获得的动能。

(2)物体B的最大速度。

(3)在A与B相互作用过程中系统增加的内能。(g =10m/s2)

试题详情

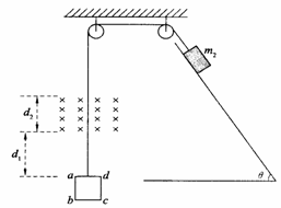
24.(18分)如图所示,一边长L = 0.2m,质量m1 = 0.5kg,电阻R = 0.1Ω的正方形导体线框abcd,与一质量为m2 = 2kg的物块通过轻质细线跨过两定滑轮相连。起初ad边距磁场下边界为d1 = 0.8m,磁感应强度B=2.5T,磁场宽度d2 =0.3m,物块放在倾角θ=53°的斜面上,物块与斜面间的动摩擦因数μ=0.5。现将物块由静止释放,经一段时间后发现当ad边从磁场上边缘穿出时,线框恰好做匀速运动。(g取10m/s2,sin53°=0.8,cos53°= 0.6)求:

 (1)线框ad边从磁场上边缘穿出时绳中拉力的功率;

 (2)线框刚刚全部进入磁场时速度的大小;

 (3)整个运动过程中线框产生的焦耳热。

试题详情

23.(l6分)在与x轴平行的匀强电场中,一带电量为2×10-6C、质量为4×10-2kg的带电物体在绝缘光滑水平面上沿着x轴做直线运动,其位移随时间的变化规律是x=0.3t-0.05t2,式中x、t均用国际单位制的基本单位。求:

(1)该匀强电场的场强;

(2)从开始运动到第5s末带电物体所运动的路程;

(3)若第6s末突然将匀强电场的方向变为+y轴方向,场强大小保持不变,在0-8s内带电物体电势能的增量。

试题详情

22.(19分)

(1)(9分)满偏电流Ig=300μA、内阻未知的电流表G改装成电压表。

①利用如图所示的电路测量电流表G的内阻(图中电源的电动势E=4V ):先闭合S1,调节R,使电流表指针偏转到满刻度;再闭合S2,保持R不变,调节R′,使电流表指针偏转到满刻度的,读出此时R′的阻值为200Ω,则电流表内阻的测量值Rg=      Ω。

②将该表改装成量程为3V的电压表,需      (填“串联”或“并联”)阻值为

R0=      Ω的电阻。

(2)(10分)人造卫星绕地球做匀速圆周运动时处于完全失重状态,物体对

支持面没有压力,所以在这种环境中已无法用天平称量物体的质量。针对这种

环境,某兴趣小组通过查阅资料获知,弹簧振子做简谐运动的周期

(其中是振子的质量,是弹簧的劲度系数)。他们设计了一种装置来间接测量物体的质量,如图所示,A是带夹子的金属块,金属块和夹子的总质量为,B是待测质量的物体(可以被A上的夹子固定)弹簧的劲度系数未知,但他们有一块秒表。

(i)(6分)请你简要写出测量待测物体质量的方法,测量的物理量用字母表示。

   ①                                     

                                       

(ii)(4分)用所测的物理量和已知物理量求待测物体质量的计算式为       

试题详情

21.某同学采用如图所示的装置来研究光电效应现象.当用某单色光照射光电管的阴极K时,会发生光电效应现象.闭合开关S,在阳极A和阴极K之间加上反向电压,通过调节滑动变阻器的滑片逐渐增大电压,直至电流计中电流恰好为零,此时电压表电压值U称为反向截止电压.现分别用频率为的单色光照射阴极,测量到反向截止电压分别为U1和U2,设电子质量为m,电荷量为e,普朗克常数为h,则下列关系式中正确的是[   ]

A.频率为v1的光照射时,光电子的最大初速度 

   B.阴极K金属的逸出功W=h v2-e U2                         

C.阴极K金属的极限频率  

D.普朗克常数   

第Ⅱ卷(非选择题 共10题  共174分)

试题详情

20.如图所示,L为竖直、固定的光滑绝缘杆,杆上O点套有一质量为m、带电量为-q的

小环,在杆的左侧固定一电荷量为+Q的点电荷,杆上a、b两点到+Q的距离相等,

Oa之间距离为h1,ab之间距离为h2,使小环从图示位置的O点由静止释放后,通过

a的速率为。则下列说法正确的是[   ]

A.小环通过b点的速率为

B.小环从O到b,电场力做的功可能为零

C.小环在Oa之间的速度是先增大后减小

D.小环在ab之间的速度是先增大后减小

试题详情

19.光滑水平面上有一个内外壁都光滑的气缸质量为M,气缸内有一质量为m的活塞,已知M>m。活塞密封一部分理想气体.现对气缸施加一个水平向左的拉力F(如图甲)时,气缸的加速度为a1,封闭气体的压强为p1,体积为V1;若用同样大小的力F水平向左推活塞(如图乙),此时气缸的加速度为a2,封闭气体的压强为p2,体积为V2。设密封气体的质量和温度均不变,则[   ]

A.a1 = a2,p1<p2,V1>V2                  B.a1<a2,p1>p2,V1<V2 

C.a1 = a2,p1<p2,V1<V2                                    D.a1>a2,p1>p2,V1>V2

试题详情

18.如图所示,(a)图中两根导轨不平行,而(b)图中两根导轨平行,金属棒MN在导轨上均向右匀速平动,在金属棒在运动过程中,将观察到[   ]

A.L1L2都发光。   

B.只有L1发光。

C.只有L2发光。   

D.L1L2都不发光。

试题详情

17.如图所示,在粗糙水平面上固定一点电荷Q,在M点无初速释放一带有恒定电荷量的

小物块,小物块在Q的电场中运动到N点静止,则从M点运动到N点的过程中[  ]

A.小物块所受电场力逐渐减小   

B.小物块具有的电势能逐渐减小

C.M点的电势一定高于N点的电势

D.小物块电势能变化量的大小一定等于克服摩擦力做的功

试题详情

16.振源S上下振动,频率为10Hz,产生了一列水平向右传播的横波,波速为20m/s。沿波传播方向上依次有a、b两个质点,它们之间的水平距离为5.5m,当a、b两质点都振动起来后质点a具有向上的最大速度时,质点b应具有[   ] 

A.向上的最大速度            B.向上的最大加速度

    C.向下的最大速度            D.向下的最大加速度

试题详情


同步练习册答案