0  341554  341562  341568  341572  341578  341580  341584  341590  341592  341598  341604  341608  341610  341614  341620  341622  341628  341632  341634  341638  341640  341644  341646  341648  341649  341650  341652  341653  341654  341656  341658  341662  341664  341668  341670  341674  341680  341682  341688  341692  341694  341698  341704  341710  341712  341718  341722  341724  341730  341734  341740  341748  447090 

24.(22分)一个质量m=0.1 kg的正方形金属框总电阻R=0.5 Ω,金属框放在表面绝缘  且光滑的斜面顶端(金属框上边与AA′重合),自静止开始沿斜面下滑,下滑过程中穿  过一段边界与斜面底边BB′平行、宽度为d的匀强磁场后滑至斜面底端(金属框下边与BB′重合),设金属框在下滑过程中的速度为v,与此对应的位移为s,那么v2-s图象如图所示,已知匀强磁场方向垂直斜面向上。试问:

  (1)根据v2一s图象所提供的信息,计算出金属框从斜面顶端滑至底端所需的时问为

多少?

  (2)匀强磁场的磁感强度多大?

  (3)现用平行斜面沿斜面向上的恒力F作用在金属框上,使金属框从斜面底端BB′(金  属框下边与BB′重合)由静止开始沿斜面向上运动,匀速通过磁场区域后到达斜面

    顶端(金属框上边与AA′重合)。试计算恒力F做功的最小值。

   

试题详情

23.(20分)电子扩束装置由电子加速器、偏转电场和偏转磁场组成。偏转电场由加了电压的相距为d的两块水平平行放置的导体板形成,匀强磁场的左边界与偏转电场的右边  界相距为s,如图甲所示。大量电子(其重力不计)由静止开始,经加速电场加速后,连  续不断地沿平行板的方向从两板正中间射人偏转电场。当两板不带电时,这些电子通过两板之间的时间为2t0,当在两板间加如图乙所示的周期为2t0、幅值恒为U0的电压时,所有电子均从两板间通过,进入水平宽度为l,竖直宽度足够大的匀强磁场中,最后通过匀强磁场打在竖直放置的荧光屏上。问:  

  (1)电子在刚穿出两板之间时的最大侧向位移与最小侧向位移之比为多少?

  (2)要使侧向位移最大的电子能垂直打在荧光屏上,匀强磁场的磁感应强度为多少?

  (3)保持第(2)问中的匀强磁场的磁感应强度不变,请说明是否所有的电子都能垂直打荧光屏上。

   

试题详情

22.(16分)如图为某工厂生产流水线上水平传输装置的俯视图,它由传送带和转盘组成。物品从A处无初速放到传送带上,运动到B处后进入匀速转动的转盘,设物品进入转盘时速度大小不发生变化,此后随转盘一起运动(无相对滑动)到C处被取走装箱。已知A、B两处的距离L=10m,传送带的传输速度V=2m/s,物品在转盘上与轴O的距离R=4m,物品与传送带间的动摩擦因数=0.25。取g-l0m/s2。求:  

  (1)物品从A处运动到B处的时间t;

    (2)质量为2Kg的物品随转盘一起运动的静摩擦力为多大?

试题详情

21.(20分)[

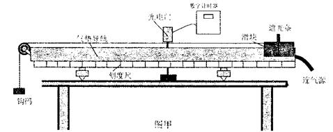
I.(9分)某实验小组利用如图甲所示的实验装置来验证钩码和滑块所组成的系统机械能守恒。

   

  (1)实验前需要调整气垫导轨底座使之水平,利用现有器材如何判断导轨是否水平? 

                   

  (2)如图乙所示,用游标卡尺测得遮光条的宽度d=    cm;实验时将滑块从图示位置由静止释放,由数字计时器读出遮光条通过光电门的时间△t,可得滑块经过光电门时的瞬时速度。本次实验中还需要测量的物理量有:钩码的质量m、     和 

        (文字说明并用相应的字母表示)。

   

  (3)本实验通过比较      在实验误差允许的范围内相等(用测量的物理量符号表示),从而验证了系统的机械能守恒。

  Ⅱ.(11分)硅光电池是利用光电效应原理制成的,

可以利用太阳光产生电的器件。

  (1)下列表述正确的是          

        A.硅光电池是把光能转变为电能的一种装置

        B.逸出的光电子的最大初动能与入射光的强度无关

        C.硅光电池中吸收了光子能量的电子都能逸出

        D.任意频率的光照射到硅光电池上都能产生光电效应

   

  (2)某同学用图示电路探究硅光电池路端电压U与总电流J的关系。图中R。为已知定值电阻,电压表视为理想电压表。请你根据图(a)用笔画线代替导线将图(b)中的实验器材连接成实验电路。

  (3)该同学进行了如下实验:实验一,用一定强度的光照射硅光电池,调节滑动变阻器,    通过测量得到该电池的U一I曲线a,如图所示;实验二,减小“实验一”中光的强度,重复实验,测得U-I曲线b,如图所示。当滑动变阻器的电阻为某值时,若“实验一”中的路端电压为1.5V,保持外电路中电阻不变,则“实验二”中外电路消耗的电功率为    mW(1mw-l0-3W,计算结果保留两位有效数字)。请你对两次实验图线进行分析能得出哪些实验结论?(至少写出两点)。

试题详情

20.水平地面上有两个固定的、高度相同的粗糙斜面甲和

乙,乙的斜面倾角大,甲、乙斜面长分别为S、L1

如图所示。两个完全相同的小滑块A、B可视为质点)

同时由静止开始从甲、乙两个斜面的顶端释放,小滑

块A一直沿斜面甲滑到底端C,而小滑块B滑到底端

P后沿水平面滑行到D处(小滑块B在P点从斜面滑

到水平面的速度大小不变),在水平面上滑行的距离

PD=L2,且S=L1+L2。小滑块A、B与两个斜面和水

平面间的动摩擦因数相同,则           (   )

    A.滑块A到达底端C点时的动能一定比滑块B到达D点时的动能小

    B.两个滑块在斜面上加速下滑的过程中,到达同一高度时,动能可能相同[  

C.A、B两个滑块从斜面顶端分别运动到C、D的过程中,滑块A重力做功的平均功率

    小于滑块B重力做功的平均功率

    D.A、B滑块从斜面顶端分别运动到G、D的过程中,由于克服摩擦而产生的热量一定相同

第Ⅱ卷(非选择题  共180分)

试题详情

19.在光滑的绝缘水平面上,有一个正方形abcd,顶点a、c处分疆

别固定一个正点电荷,电荷量相等,如图所示。若将一个带负电

的粒子置于b点,自由释放,经过6d中点0,粒子将沿着对角线

bd往复运动。则                              (   )

    A.粒子从b点运动到d点的过程中,先作加速运动,后作减速运动

    B.粒子从b点运动到d点的过程中。电势能与机械能之和先增大,后减小

    C.若粒子在运动过程中带电量缓慢减小,则它往复运动过程中振幅不断减小

      D.若粒子在运动过程中带电量缓慢减小,则它往复运动过程中每次经过O点时的速率

    不断减小

试题详情

18.如图所示,两列筒谐横波a和b均沿x轴正方向传播,波速为40m,/s,下列淡法正确的是            (   )

   

    A.a波的周期为0;2s、b渡的周期为0.1s

      B.对于b波,x轴上lm处的质点经过0.1s就运动到x=5m处

    C.ab两列波相遇时发生干涉现象

     D.a、b两列横波在x=2.5m处的质点此时运动方向相反

试题详情

17.2009年2月11日,美国铱卫星公司的“铱33”通讯卫星与俄罗斯的“宇宙2251”军用通讯卫星在西伯利亚上空约790km处发生相撞,这是有史以来首次卫星相撞事件。已知

   碰撞点比相对地球静止的国际空间站高约434km,在轨道运行的卫星绕地球作匀速圆

   周运动,则                                                    (   )

   A.在碰撞点高度运行的卫星的向心加速度比国际空间站的向心加速度小

   B.在碰撞点高度运行的卫星的角速度大于国际空间站的角速度

   C.在与国际空间站同一轨道运行的卫星一旦加速,有可能与国际空间站相撞

   D.若发射一颗在碰撞点高度处运行的卫星,发射速度至少为11.2km/s

试题详情

15.如图所示在倾角为53~的斜面上,用沿斜面向上5N的力拉着重4N

的木块向上做匀速运动,则斜面对木块的总作用力的方向是(   )

     A.垂直斜面向上                  B.水平向左

     C.沿斜面向下                    D.竖直向上

  16.现在高速公路上的标志牌都用“回归反光膜”制成。夜间行车时,

它能把车灯射出的光逆向返回,标志牌上的字特别醒目。这种

“回归反光膜”是用球体反射元件制成的,反光膜内均匀分布着

一层直径为10m的细玻璃珠,所用玻璃的折射率为,为使入

射的车灯光线经玻璃珠折射一反射一再折射后恰好和入射光线平

行,如图所示,那么第一次入射的入射角应是          (   )

    A.15°                         B.30°

    C.45°                          D.60°

试题详情

14.下列现象中,发现原子核的是                                     (   )

       A.α粒子散射现象                 B.天然放射现象  

    C.光电效应现象                  D.原子发光现象

试题详情


同步练习册答案