0  422903  422911  422917  422921  422927  422929  422933  422939  422941  422947  422953  422957  422959  422963  422969  422971  422977  422981  422983  422987  422989  422993  422995  422997  422998  422999  423001  423002  423003  423005  423007  423011  423013  423017  423019  423023  423029  423031  423037  423041  423043  423047  423053  423059  423061  423067  423071  423073  423079  423083  423089  423097  447090 

1.第一章  生命的物质基础

试题详情

 通过以上各表格对全卷的分析及对五道难题的分析,相信大家对2009年中考会有一个更为深刻地认识。近年来北京中考试题稳中有变,每年都会一些较为新颖的题目出现,在2009年实验题的第36题就出现了一道有关力能产生形变的较为新颖实验探究题,试题将会更加注重联系生活、联系实际。

 但是无论试题风格如何改变,相信2010年中考仍然会延续2007、2008、2009的整体命题风格,在题型、各大专题比重及难度设置上保持稳定。力学和电学两大专题无论是在最终的分值分布上还是难度上依然是重中之重。因此对于有志于在来年中考中取得优异的成绩的考生无疑应该将更多精力放在相关难点的突破上。相对而言,声学、光学和热学所涉知识相对简单,除了比热容和热值有少量计算出现外,其余知识基本以记忆为主,因此在这些章节的复习过程中把握好难度,不必在偏题和怪题上耗费过多的精力。当然,由于中考在简单题和中等题上分别占据了60分和20分的较大权重,因此对于所有同学来说,在突破难点之前更应该注重对基础知识的积累,切勿盲目攻克难题,却在简单题上无谓失分。针对以上特点特为备战2010年中考的考生提出几点建议:

 首先,在第一轮复习时夯实基础,对物理概念、规律,解决问题的基本方法不只是简单地看懂,而是通过认真地思考,达到清晰明了。

 其次,尝试建立起自己的知识网络,在构建网络框架时必须理清来龙去脉,突出各章节的重难点,要弄清知识重点的物理事实依据是经过什么样的分析和思考得来的,然后将每章的重点汇成主干的知识体系。

 再次,在进入第二轮复习时,必须归纳总结出自己容易判断错的问题,自己容易做错的题型、题目,归纳出方法技巧。充分发挥在解决物理问题时常采用的分析法和综合法的使用。

 解答时运用物理学科的语言,抓住问题的本质,清楚扼要地表述是考试夺得高分的手段。

 此外,在以专题复习的基础上,选择最具针对性的试题加强训练。那么什么样的试题最具代表性呢?通过历年的中考分析,我们发现只要能充分利用好最近几年的北京中考真题及最近两年的北京各区一、二模试题,对其深入剖析,充分体会出题者的思路,则必将在中考中占据最大的先机!

 虽说2009年中考所涉难点并不算复杂,但总的来说考得还是比较常规的,尤其是在电学的考察上一如既往地将比例问题进行到底,在力学的考察上依然是浮力与机械相关的力学综合问题。当然,难点依旧,但深度不一,在未来的复习过程中,还是建议想在来年中考中取得优异成绩的考生,在把握好难点方向的同时,尽量去分析和解决各种不同深度的试题,以防在来年的中考难度增大后一下难以适应。  

试题详情

(二)电学难点分析

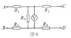
   (第16题)图 6中,电阻R1与R3相等,电阻R2与R4相等。现有一个两端电压为10V的电源,当把该电源接在A、B两个接线端时,电压表的示数为7.5V,电阻R1 两端的电压为U1。当把该电源接在C、D两个接线端时,电压表的示数为5V,电阻R2两端的电压为U2。则下列选项正确的是

   A.U1:U2=1:2 B.R1:R5=1:3

   C.R2:R5=1:2 D.R1:R2=1:3

   (点评)本题是典型的欧姆定律比例问题,只要能够正确画出两个状态的等效电路,用好电学比例问题的常规计算方法,解决这类问题同样不难。确切地说本题难以称之为难题,而之所以把它单独放在难点中分析,只能说明本次中考难度实在不高。

   (第39题)图 22所示的电路中,电源两端电压U保持不变。当只闭合开关S1时,电压表的示数为U1,电流表的示数I1为1A,电阻R1消耗的电功率P1为4W,电阻 R2消耗的电功率为P2。当开关S1、S2都闭合时,电压表的示数为U2,电流表的示数为I2,电阻R2消耗的电功率为P2′。已知P2:P2′ =1:4,U1:U2=2:1。求:

   (1) 电流表的示数I2为多少安?  

   (2) 电源两端的电压U为多少伏?

   (3) 当开关S1、S2都闭合时,通电5min,电阻R2产生的热量为多少焦?  

   (点评)又是一道经典得不能再经典的涉及电功率之比、电压之比的电学计算题!相信在平时练习过程中能够顺利做出大部分电学计算题的考生,应该能在较短地时间内顺利地解出此题。对于此类比值计算,只要能够画出相应地等效电路图、在利用电功率和电压之比两个已知条件时敢于将公式展开,并且时刻提醒自己并应用好电源电压保持不变这些条件,那么所谓的电学压轴题也必将被轻松攻克!

试题详情

(一)力学难点分析

   (第12题)甲溢水杯盛满密度为r1的液体,乙溢水杯盛满密度为r2的液体。将密度为r的小球A轻轻放入甲溢水杯,小球A浸没在液体中,甲溢水杯溢出液体的质量是32g。将小球B轻轻放入乙溢水杯,小球B漂浮,且有1/6的体积露出液面,乙溢水杯溢出液体的质量是40g。已知小球A与小球B完全相同,r大于r1,则下列选项正确的是

   A.小球A的质量为32g          B.小球B的质量为8g 

   C.r1与r2之比为2:3          D.r1与r2之比为24:25

   (点评)该题重点考察了浮力的相关问题,相比于机械与浮力的综合问题,此题并不算很难。只要能够较好地理解浮力与排出液体重力的关系及对漂浮问题的分析,解决好此类单纯考察浮力的问题就游刃有余了。

(第23题)图 8是小明用滑轮组提升水中物体A的示意图。当物体A完全在水面下被匀速提升的过程中,物体A所受浮力为80N,小明对绳子竖直向下的拉力为F1,水平地面对小明的支持力为N1。当物体A有1/2的体积露出水面且静止时,小明对绳子竖直向下的拉力为F2,水平地面对小明的支持力为N2。已知动滑轮所受重力为 120N,小明所受重力为600N,N1:N2=13:12。不计绳重、滑轮与轴的摩擦以及水的阻力,则物体A所受重力为 N。

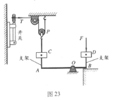
   (点评)填空题的最后一题往往是全卷最具压轴性的试题,很多同学在考试中往往是直接选择放弃。然而当考生看到这样一个熟悉的图形之后,相信心中会增添几分自信。这是一道极为经典的通过对人的受力分析,并进而考察滑轮与浮力的力学综合问题,在一、二模的试卷中以计算题的形式曾广泛地出现。所以只要在平时的练习中多加训练,养成做好受力分析的良好习惯,解决此类问题应该不在话下。    (第40题)图 23是小刚设计的一个通过简单机械自动拉开开关的装置示意图。该装置主要由滑轮组、配重C、D以及杠杆AB组成,配重C通过细绳与动滑轮相连,配重C、D 分别通过支架固连在杠杆AB两端,支架与杠杆垂直。杠杆的B端放在水平台面上,杠杆可以绕支点O在竖直平面内逆时针转动,开关被拉开前,杠杆在水平位置平衡。已知动滑轮P的质量mP为0.2kg,OA:OB=3:1,配重D的质量mD为1.5kg,作用在D上的竖直向下的压力F为75N,刚好拉开开关所需的拉力T为6N。杠杆、支架和细绳的质量均忽略不计,滑轮与轴的摩擦、杠杆与轴的摩擦均忽略不计,g取10N/kg。

 求:配重C的质量mC等于多少千克,开关刚好能被拉开?  

   (点评)之所以说今年中考试题多少有些出人意料,最后一道试题或多或少能说明一些问题。纵观2007、2008两年中考真题及2009各区一、二模试题,大多数试卷往往会在最后一题上设置较复杂的受力分析及数学计算。本题虽然依旧考察杠杆与滑轮问题的综合,但无论是在对杠杆两端的受力分析还是在数学计算上都有较大的简化。只要能够分析清A、B两点的受力情况,要正确解出本题其实并不难。

试题详情

 通过上述各表分析,不难发现力学和电学两大专题无论是在分值的分布上还是在难点的设置上,无疑都占据着最大的权重;而热学和光学两大专题一共也仅仅占有25%的比重,声学甚至继2008年中考一分未考之后再次没有出现。

 分值的分布仅仅是代表的内容的多少,但是能否在中考物理考试中取得优异的成绩,更为重要的是在难点的把握上,下面我们着重分析一下其间的难点分布:

 中考的难题大致占全卷的二十分左右,通过表三的分析,我们能够清晰地发现,这二十分的难题全部来自力学和电学两大专题,并且各占十分左右。其中力学的难题出现在单选、填空和计算题的最后一道。分别考察了有关浮力、滑轮和杠杆等力学综合问题。电学的难题则是出现在多选最后一道及计算的倒数第二道。考察了电学中最为常见且重要的比例问题。

 下面我们结合具体的试题进一步展开分析:

试题详情

知识内容分布
单选
多选
填空题
作图、实验、探究题
计算题
分值
分布
力学、声学
4,7,9,10,12
15
17,23
24,27,28,33,36,37
40分
40分
电学
 1,3,8,11
13,16
18,21,22
26,29,32,34,35
39分
35分
热学
5,6
14
 20
 31
38分
15分
光学
2


19,25,30
0分
10分
分值分布
24分
12分
14分
34分
16 分
100分

试题详情

难易程度
分值
分值合计
较易试题
约60分
 
满分100分
中等试题
约20分
较难试题
约20分

试题详情

题型
分值
分值合计
第Ⅰ卷
单选题
24分
36分
 
总分100分
考试时间120分钟
多选题
12分
 
第Ⅱ卷
填空题
14分
 
64分
作图、实验与探究题
34分
计算题
16分

试题详情

8.(理)过P(1,0)做曲线Cy=xk(xÎ(0,+¥),kÎN+k>1)的切线,切点为Q1,设Q1x轴上的投影为P1,又过P1做曲线C的切线,切点为Q2,设Q2x轴上的投影为P2,…,依次下去得到一系列点Q1、Q2、Q3、…、Qn的横坐标为an,求证:

(Ⅰ)数列{an}是等比数列;

  (Ⅱ)

  (Ⅲ)

解:(Ⅰ)若切点是

则切线方程为

时,切线过点P(1,0)即

时,切线过点

∴数列是首项为,公比为的等比数列. …6分

(Ⅱ)

 

(Ⅲ)记

两式相减

(文)已知曲线Cxy=1,过C上一点作一斜率为的直线交曲线C于另一点,点列的横坐标构成数列{},其中

(1)求的关系式;  (2)求证:{}是一等比数列.

解析:(1)过C:上一点作斜率为的直线交C于另一点

,于是 . 

(2)记,则

因为

因此数列{}是等比数列.

试题详情

7. (理) 已知x轴上有一点列:P1(x1,0), P2(x2,0), …,Pn(xn,0),…点Pn+2 分有向线段

所成的比为λ,其中n∈N*,λ>0为常数,x1=1, x2=2.

(1)设an=xn+1xn,求数列{a n}的通项公式;

(2)设f (λ)=x n,当λ变化时,求f (λ)的取值范围.

解析 (1)由题得

    ∴{an}是首项为1,公比为的等比数列,

∴当λ>0时 

(文) 设曲线与一次函数yf(x)的图象关于直线 y=x对称,若f (-1)=0,且点 在曲线上,又a1= a2

(1)求曲线C所对应的函数解析式;

(2)求数列{a n}d的通项公式.

解析:(1)yx-1       (2) a n=(n-1)!

试题详情


同步练习册答案