0  123888  123896  123902  123906  123912  123914  123918  123924  123926  123932  123938  123942  123944  123948  123954  123956  123962  123966  123968  123972  123974  123978  123980  123982  123983  123984  123986  123987  123988  123990  123992  123996  123998  124002  124004  124008  124014  124016  124022  124026  124028  124032  124038  124044  124046  124052  124056  124058  124064  124068  124074  124082  447090 

1.下列关于声现象的说法中正确的是

A.只要发声体振动,我们就可以听到声音

B.发声的物体停止振动了,就一定没有声音了

C声音在液体中比在固体中传播得慢些

D.声音在空气中的传播速度最快

试题详情

31.(8分)随着人民生活水平的不断提高,汽车已经走进我们的家庭.小林的爸爸最近也购买了一辆轿车.

(1)通过查看说明书得知轿车车身质量为1725kg.当车上载有195kg的人和物品时,车轮与地面的总接触面积为4.0×10-2m2,试求轿车对地面的压强(g取10N/kg).

(2)请在图甲中用笔画线代替导线将汽车的启动原理图连接完整.

说明:当钥匙插入仪表板上的钥匙孔并转动(相当于闭合开关),电动机工作,启动轿车;电磁铁的工作电压小于电动机的工作电压.

(3)若轿车以90kW的恒定功率启动做直线运动,运动过程中受到的阻力不变,运动的速度v与时间t的关系如图乙所示.则在0-5s时间内,轿车发动机做功_______J,轿车运动过程中受到的阻力是________N.

(4)通过测量获得轿车以不同速度行驶时对应的制动距离(即从操纵制动刹车到车停下来的距离),数据如下表所示:

实验次数
1
2
3
4
5
速度/(km·h-1)
40
60
80
100
120
制动距离/m
8
18
 
50
72

根据表中数据所反映的规律可知,当轿车速度为80km/h时对应的制动距离是_____

____m

试题详情

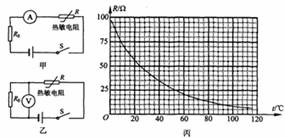
30.(8分)图甲和图乙是利用热敏电阻来测量温度的原理图.电源电压均为20V且保持不变,定值电阻R0的阻值为30Ω.则:

(1)图甲中电流表的示数为0.3A时,热敏电阻两端的电压和消耗的功率分别是多少?

(2)图乙中电压表的量程为0-15V,热敏电阻R的阻值随温度的变化关系如图丙所示,试求此电路能测量的最高温度.

 

试题详情

29.(7分)小丽家新买了一台电热水器,下表是该热水器的一些技术参数。

型号
FED-H50
额定电压
220V
最大水量
50kg
额定功率
2000W

现将水箱中装满水,通电后正常工作40min,水温从25℃上升到45℃.在此过程中,求:

(1)热水器中电热丝的电阻:

(2)水所吸收的热量[c=4.2×103J/(kg·℃)];

(3)热水器的效率.

试题详情

28.(6分)如图所示,工人师傅用一个滑轮组在40s内将重600N的木箱从地面匀速吊上4m高的阳台,所用的拉力为220N,不计绳重和摩擦.求:

(1)木箱匀速上升的速度;

(2)工人师傅做的有用功;

(3)动滑轮的重力.

试题详情

27.(3分)在探究“滑动摩擦力的大小与哪些因素有关”的活动中.

(1)在水平桌面上,用弹簧测力计水平向左拉动木块,使其作匀速直线运动,弹簧测力计示数如图所示.根据____________知识可知,木块所受的滑动摩擦力为_______N.

(2)小华将木块沿竖直方向截去一半后,测得木块所受的滑动摩擦力变为原来一半.他由此得出:滑动摩擦力的大小随接触面积的减小而减小.你认为他的探究过程中存在的问题是__________________________________________.

试题详情

26.(6分)小明骑自行车上学途中,要经过一段上坡路.他思考:物体冲上斜坡的最大距离可能与哪些因素有关呢?

(1)他发现车子的初始速度越大,冲上斜坡的最大距离就越长.这是因为车子的初始速度越大,它的初始动能也越大,上坡过程中增加的___________就越大.

(2)他进而又提出两个猜想:

猜想一:物体冲上斜坡的最大距离可能与物体的质量大小有关;

猜想二:物体冲上斜坡的最大距离可能与斜坡的倾角大小有关.

为了验证猜想一,他将与水平面平滑连接的长木板以一定的倾角θ固定,如图甲所示.实验时为了让不同质量的小木块以相同的初始速度滑上长木板,请你在甲图中的虚线框内为小明设计一实验装置,并说明使用该装置进行实验时的操作要点:____________________

____________________________________________.

 

小明发现当不同质量的木块以相同初始速度滑上长木板时,向上滑行的最大距离均相同.这说明猜想一是___________(选填“正确”或“错误”)的.

在验证猜想二的实验中,小明让一木块以相同的初始速度分别滑上不同倾角的长木板,测得的数据记录如下表:

次数
1
2
3
4
5
木板倾角θ
10°
30°
53°
75°
85°
向上滑行的
最大距离s/m
0.50
0.40
0.36
0.39
0.43

   根据表中数据,请在图乙中描点作出s-θ图象.由图象可知木块向上滑行的最大距离s与倾角θ的定性关系是_________________________________

试题详情

25.(3分)在用焦距为10cm的凸透镜来探究成像规律的实验中.

(1)如图所示,将蜡烛、凸透镜、光屏依次放在光具座上.点燃蜡烛后,调节凸透镜和光屏的高度,使它们的中心与烛焰中心大致在同一高度.其目的是使像成在___________

______.

(2)当烛焰距凸透镜15cm时,移动光屏,可在光屏上得到一个清晰的倒立、_________(选填“放大”或“缩小”)的实像.

(3)把图中的凸透镜看作眼睛的晶状体,光屏看作视网膜.给“眼睛”戴上远视眼镜,使烛焰在“视网膜”上成一清晰的像.若取下远视眼镜,为使光屏上得到清晰的像,应将光屏___________(选填“远离”或“靠近”)透镜。

试题详情

24.(5分)小雨在拆装手电筒时,发现手电筒的小灯泡上标有“3.8V”的字样,但上面的电流值已经模糊不清,他想通过实验测量该灯泡的额定功率,图甲为他所连的实验电路.

(1)电池盒中至少有__________节干电池.

(2)经检查发现电路接线有错误,小雨只做了一处改动就闭合开关进行实验.请在他接错的导线上打上“×”,并改正。

(3)实验时,小雨移动滑动变阻器的滑片,当电压表的示数为3.8V时,电流表的示数如图乙所示.则该小灯泡的额定电流为_________A,额定功率为_________W.

试题详情

23.(3分)在用天平测量矿石的质量时,应将天平放在___________工作台上,游码移至标尺左端的“0”刻度线处,发现指针左右摆动幅度如图甲所示,此时应将平衡螺母向__________(选填“左”或“右”)调节,使天平平衡.把矿石放到天平左盘,当右盘中所加砝码和游码的位置如图乙所示时,天平再次平衡.则矿石的质量是_________g.

试题详情


同步练习册答案