0  245009  245017  245023  245027  245033  245035  245039  245045  245047  245053  245059  245063  245065  245069  245075  245077  245083  245087  245089  245093  245095  245099  245101  245103  245104  245105  245107  245108  245109  245111  245113  245117  245119  245123  245125  245129  245135  245137  245143  245147  245149  245153  245159  245165  245167  245173  245177  245179  245185  245189  245195  245203  447090 

4、一个放在水平桌面上质量为2kg原来静止的物体,受到如图2所示方向不变的合外力作用,则下列说法正确的是(  )

A.在t=2s时,物体的速率最大

B.在2s 内物体的加速度为5m/s2

C.在2s内物体运动的位移为10m

D.0~2s这段时间内作减速运动

试题详情

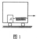
3、如图1所示,质量为10kg的物体A拴在一个被水平拉伸的弹簧一端,弹簧的拉力为5N时,物体A 处于静止状态,若小车以1m/s2的加速度向右运动后(m/s2),则(  )

A.物体A相对小车仍然静止B.物体A受到的摩擦力减小

C.物体A受到的摩擦力大小不变D.物体A受到的弹簧拉力增大

试题详情

2、质量2Kg的质点,在只受两个力F1=2N,F2=8N的作用下,获得的加速度大小可能是

     A .1 m/s2    B. 3 m/s2    C. 6 m/s2    D. 4 m/s2

试题详情

1、有关超重和失重,以下说法中正确的是(  )

A.物体处于超重状态时,所受重力增大,处于失重状态时,所受重力

减小

B.斜上抛的木箱中的物体处于完全失重状态

C.在沿竖直方向运动的升降机中出现失重现象时,升降机必定处于下降过程

D.在月球表面行走的人处于失重状态

试题详情

24.仿照下面画线句子,另写两个句子。(4分)

大自然每天都给人很多有益的启示。

成熟的麦穗低垂着头,那是在教我们谦虚!

含羞草默默地收拢叶片,那是在教我们切莫张扬!

是的,大自然是最好的老师!只要我们肯学,天天都会有收获!

                         

                          

试题详情

23.提取下列材料的要点,整合成一个单句,为“图书书目”下定义。(4分)

①图书目录是一种工具书

②这种工具书供人们查找图书时使用

③图书目录是按照一定的顺序编排的

④它记录书名、著者、出版情况和收藏情况

试题详情

22.用平实、概括的文字改写下的句子。(不超过15个字)(4分)

如天界魔术师诡谲的表演,北极光一会儿射出幽幽的绿光,一会儿闪着森森的蓝光;一会儿如帷幕、如彩虹,一会儿如飘带、如飞箭。

试题详情


同步练习册答案