题目列表(包括答案和解析)

 0  164600  164608  164614  164618  164624  164626  164630  164636  164638  164644  164650  164654  164656  164660  164666  164668  164674  164678  164680  164684  164686  164690  164692  164694  164695  164696  164698  164699  164700  164702  164704  164708  164710  164714  164716  164720  164726  164728  164734  164738  164740  164744  164750  164756  164758  164764  164768  164770  164776  164780  164786  164794  447348 

25、如图17,R1=2,小明在实验中记录三只电表的读数时,不慎漏记了单位,记下了一组数据是1.5、2.5和3,请你帮助它确定电源电压是_____V,R2的电阻是_____

试题详情

24、某电铃正常工作时的电压是6V,电阻是10,现手边有一电压是15V的电源,要使电铃正常工作应将这个电铃与_________欧的电阻______联后接到这个电源上。

试题详情

23、在图16所示电路中,当开关S2闭合时,电压表的读数________。电流表A1的读数________,电流表A2的读数__________。(填“变小”,“变大”或“不变”)

试题详情

22、一段导体的电阻减小6后,接在原电源上发现电流比原来增大1/4,则该导体原来的电阻为__________。

试题详情

21、一根粗细均匀的金属丝电阻为9,把它平分为3段,每段电阻为_______,再把这三段绞合在一起,总电阻为________

试题详情

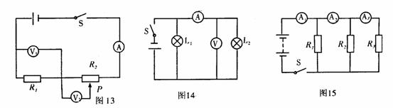
20、如图15所示,R1=R2=R3,当开关S闭合时,三个电流表的示数分别为I1、I2、I3,则它们的关系是(  )

A、I1=I2=I3    B、I1>I2>I3     C、I1<I2<I3     D、I1=I2+I3

试题详情

19、将3个阻值均为6的电阻同时使用,采用不同的方式进行连接,不可能获得的总电阻是(  )

A、2     B、3      C、9      D、18

试题详情

18、如图14,闭合开关后,灯L1、L2正常发光,电表完好。如果将电流表和电压表互换,那么将出现的情况是(  )

A、电压表示数变小,灯L2变亮   B、电流表示数变大灯L2不亮

C、电压表示数不变,灯L2不亮   D、电流表示数变小,灯L1不亮

试题详情

17、如图13,电源电压不变,闭合开关S,当滑动变阻器的滑片P由右向右移动时,三只电表V1、V2,A的示数变化情况是(  )

A、V1不变  V2减小  A不变    B、V1减小  V2增大  A减小

C、V1不变  V2增大  A不变    D、V1增大  V2减小  A增大

试题详情

16、电源电压U保持不变,在甲、乙两处图12分别接入电压表,闭合开关S,测得U:U=1:3,断开开关S,拆去电压表,并在甲、乙两处分别接入电流表,此时I:I是(  )

A、3:1     B、1:3      C、1:1      D、4:3

试题详情


同步练习册答案