题目列表(包括答案和解析)

 0  31836  31844  31850  31854  31860  31862  31866  31872  31874  31880  31886  31890  31892  31896  31902  31904  31910  31914  31916  31920  31922  31926  31928  31930  31931  31932  31934  31935  31936  31938  31940  31944  31946  31950  31952  31956  31962  31964  31970  31974  31976  31980  31986  31992  31994  32000  32004  32006  32012  32016  32022  32030  447348 

2.某地区空气污染物指数为:SO2 78、NO2 43、可吸入颗粒163。下列说法正确的是

A.该地区的空气污染指数为284    B.该地区的空气污染指数为142

C.该地区空气质量等级为轻微污染   D.首要污染物为可吸入颗粒

试题详情

1.我国卫生部门制定的《关于宣传吸烟有毒与控制吸烟》的通知中规定:“中学生不准吸烟”。香烟燃烧产生的烟气中,有多种有害物质,其中尼古丁(C10H14N2)对人体危害最大,下列说法正确的是   

A.尼古丁是由25个原子构成的物质

B.尼古丁中C、H、O 三种元素的质量比为:10:14:2

C.尼古丁的相对分子质量是162g

D.尼古丁中氮元素的质量分数为17.3 %

试题详情

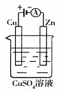
31.(1)肼(N2H4)又称联氨,是一种可燃性的液体,可用作火箭燃料。已知在101kPa、25℃时,16 gN2H4在氧气中完全燃烧生成氮气,放出热量312 kJ。N2H4完全燃烧反应的热化学方程式是     

(2)肼-空气燃料电池是一种碱性燃料电池,电解质溶液是20%~30%的KOH溶液。肼-空气燃料电池放电时:正极的电极反应式是       。负极的电极反应式是         。

(3)下图是一个电化学过程示意图。

① 锌片上发生的电极反应是      。

② 假设使用肼-空气燃料电池作为本过程中的电源,铜片的质量变化128g,则肼一空气燃料电池理论上消耗标准状况下的空气   L(假设空气中氧气体积含量为20%)

(4)传统制备肼的方法,是以NaClO氧化NH3,制得肼的稀溶液。该反应的离子方程式是         。

试题详情

30. 在玻璃圆筒中盛有两种无色的互不相溶的中性液体。上层液体中插入两根石墨电极,圆筒内还放有一根下端弯成环状的玻璃搅棒,可以上下搅动液体,装置如下图。接通电源,阳极周围的液体呈现棕色,且颜色由浅变深,阴极上有气泡生成。停止通电,取出电极,用搅棒上下剧烈搅动。静置后液体又分成两层,下层液体呈紫红色,上层液体几乎无色。根据上述实验回答:

(1)阳极上的电极反应式为____________。

(2)阴极上的电极反应式为____________。

(3)原上层液体是____________________。

(4)原下层液体是____________________。

(5)搅拌后两层液体颜色发生变化的原因是__ 

(6)要检验上层液体中含有的金属离子,其方法是________,现象是____________。

试题详情

29. 水的电离平衡如图所示:

(1)若A点表示25℃时水的电离平衡状态,当温度上升到100℃时,水的电离平衡状态到达B点。则此时水的离子积从_____增加到_____。

(2)将100℃时pH=8的Ba(OH)2溶液与pH=5的盐酸混合,并保持100℃时的恒温,于是混合物溶液的pH=7,则Ba(OH)2与盐酸溶液的体积比______

(3)100℃时,若10体积的某强酸溶液与1体积的某强碱溶液混合后溶液呈中性,则混合之前,该强酸的pH与强碱的pH之间应满足的关系是          

试题详情

28. 今有a(CH3COOH)、b(HCl)、c(H2SO4)三种溶液:

(1)当它们的C(H+)相同时,其物质的量浓度的关系是______。(用a、b、c表示)

(2)当它们的物质的量浓度相同时,其C(H+)的关系是______。(用a、b、c表示)

(3)中和同一烧碱溶液,需物质的量浓度相同的三种溶液的体积关系是______。(用b、c表示)

(4)体积、浓度都相同的b、c两溶液,分别与同浓度的NaOH溶液反应使反应后溶液呈中性,所需NaOH溶液的体积关系是_____。(用b、c表示)

试题详情

27. 在稀氨水中存在下述电离平衡:NH3·H2ONH4++OH

改变条件
平衡移动方向
C(H+)
C(OH)
C(NH4+)
微热(设溶质不挥发)
 
 
 
 
通入氨气至饱和
 
 
 
 
通少量HCl气体
 
 
 
 
加少量NaOH固体
 
 
 
 
加少量NH4Cl固体
 
 
 
 
加水稀释
 
 
 
 

试题详情

26. 锂离子电池已经成为新一代实用化的蓄电池,该电池具有能量密度大、电压高的特性。锂离子电池放电时的电极反应式为:负极反应:C6Li-xe=C6Li1x+xLi+(C6Li表示锂原子嵌入石墨形成的复合材料)

正极反应:Li1xMO2+xLi++xe-=LiMO2(LiMO2表示含锂的过渡金属氧化物)

下列有关说法正确的是(   )  

A. 锂离子电池充电时电池反应为C6Li+Li1xMO2=LiMO2+C6Li1x

B. 电池反应中,锂、锌、银、铅各失去1mol电子,金属锂所消耗的质量小

C. 锂离子电池放电时电池内部Li+向负极移动

D. 锂离子电池充电时阴极反应为C6Li1x+xLi++xe-=C6Li

试题详情

25. 相同温度时100mL0.01mol/L的醋酸溶液与10mL0.1mol/L的醋酸溶液相比较,下列数值前者大于后者的是(   )

A. 中和时所需NaOH的量      B. 电离程度 

C. 溶液中H+的物质的量       D. 醋酸的物质的量

试题详情

24. 有一合金由X、Y、Z、W四种金属组成,若将合金放入盐酸中只有Z、Y能溶解;若将合金置于潮湿空气中,表面只出现Z的化合物;若将该合金做阳极,用X盐溶液作电解液,通电时四种金属都以离子形式进入溶液中,但在阴极上只析出X。这四种金属的活动性顺序是(   )

A. Y>Z>W>X         B. Z>Y>W>X

C. W>Z>Y>X          D. X>Y>Z>W

试题详情


同步练习册答案