题目列表(包括答案和解析)

 0  49167  49175  49181  49185  49191  49193  49197  49203  49205  49211  49217  49221  49223  49227  49233  49235  49241  49245  49247  49251  49253  49257  49259  49261  49262  49263  49265  49266  49267  49269  49271  49275  49277  49281  49283  49287  49293  49295  49301  49305  49307  49311  49317  49323  49325  49331  49335  49337  49343  49347  49353  49361  447348 

1.下列各数中是负数的是(  )

A.-(-3)-1         B.    C.|-2|          D.-(-3)2

试题详情

26. (13分) 如图是二次函数的图象,其顶点坐标为M(1,-4).

(1)求出图象与轴的交点A,B的坐标;

(2)在二次函数的图象上是否存在点P,使,若存在,求出P点的坐标;若不存在,请说明理由;

(3)将二次函数的图象在轴下方的部分沿轴翻折,图象的其余部分保持不变,得到一个新的图象,请你结合这个新的图象求:当直线与此图象有两个公共点时,的取值范围.

2011年福建省泉州市毕业、升学考试数学模拟试题

命题:南安一中 吕超群  2011-6-15

试题详情

25.(13分)如图,点P是双曲线上一动点,过点Px轴、y轴的垂线,分别交x轴、y轴于AB两点,交双曲线y= (0<k2<|k1|)于EF两点.

(1)图1中,四边形PEOF的面积S1=     (用含k1k2的式子表示);

(2)图2中,设P点坐标为(-4,3).

①判断EFAB的位置关系,并证明你的结论;

②记S2是否有最小值?若有,求出其最小值;若没有,请说明理由.

试题详情

24. (9分)如图所示,菱形ABCD的顶点ABx轴上,点A在点B的左侧,点Dy轴的正半轴上,∠BAD=60°,点A的坐标为(-2,0).

⑴求线段AD所在直线的函数表达式.

⑵动点P从点A出发,以每秒1个单位长度的速度,按照ADCBA的顺序在菱形的边上匀速运动一周,设运动时间为t秒.求t为何值时,以点P为圆心、以1为半径的圆与对角线AC相切?

试题详情

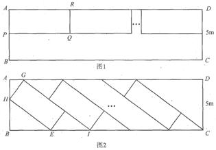
23.(9分)小明家新买了一辆小汽车,可是小区内矩形停车场ABCD只有9个已

停满车的车位(图1中的小矩形APQR等),该矩形停车场的可用宽度(CD)只有5米.由于种种原因,车位不能与停车场的长边BC垂直设计.为了增加车位,小明设计出了图2的停车方案,每个车位(图2中的小矩形EFGH等)与该停车场的长边的夹角为37°,且每个车位的宽与原来车位保持不变,每个车位的长比原来车位少1米.这样,总共比原来多了3个车位.设现在每个车位的长为x米,宽为y米. 

(参考数据:.)

(1)请用含x的代数式表示BE;用含y的代数式表示AH;

(2)求现在每个车位的长和宽各是多少米?

试题详情

22.(9分)端午节前,第一次爸爸去超市购买了大小、质量都相同的火腿粽子和豆

沙粽子若干,放入不透明的盒中,此时随机取出火腿粽子的概率为;妈妈发现小亮

喜欢吃的火腿粽子偏少,第二次妈妈又去买了同样的5只火腿粽子和1只豆沙粽子放

入同一盒中,这时随机取出火腿粽子的概率为.

(1)请计算出第一次爸爸买的火腿粽子和豆沙粽子各有多少只?

(2)若妈妈从盒中取出火腿粽子4只、豆沙粽子6只送爷爷和奶奶后,再让小亮从盒中不放回任取2只,问恰有火腿粽子、豆沙粽子各1只的概率是多少?(用字母和数字表示豆沙粽子和火腿粽子,用列表法计算)

试题详情

21. ( 9分) 如图,在等腰梯形中,已知,延长,使

(1)证明:

(2)如果,求等腰梯形的高的值.

试题详情

20.(9分)我国是世界上严重缺水的国家之一.为了倡导“节约用水从我做起”,小刚在他所在班的50名同学中,随机调查了10名同学家庭中一年的月均用水量(单位:t),并将调查结果绘成了如下的条形统计图.

(1)求这10个样本数据的平均数、众数和中位数;

(2)根据样本数据,估计小刚所在班50名同学家

庭中月均用水量不超过7 t的约有多少户.

试题详情

19.(9分)先化简,再求值:,其中.

试题详情

18.(9分)计算:

试题详情


同步练习册答案