0  293947  293955  293961  293965  293971  293973  293977  293983  293985  293991  293997  294001  294003  294007  294013  294015  294021  294025  294027  294031  294033  294037  294039  294041  294042  294043  294045  294046  294047  294049  294051  294055  294057  294061  294063  294067  294073  294075  294081  294085  294087  294091  294097  294103  294105  294111  294115  294117  294123  294127  294133  294141  447090 

2.2008年9月的“结石宝宝”事件主要是婴儿饮用了添加有三聚氰胺的奶制品导致的肾结石和输尿管结石。三聚氰胺是一种用途广泛的基本有机化工中间产品,长期服用该物质后会引起肾衰竭。其结构式如右图:

下列关于三聚氰胺的说法不正确的是 (    )

A.三聚氰胺是劣质蛋白质 

B.三聚氰胺中氮元素的含量高于蛋白质中氮的含量

C.三聚氰胺在一定条件下可能会与氢气发生加成反应

D.三聚氰胺的化学式为C3H6N6

试题详情

1.2007年10月24日我国“嫦娥一号”探月火箭发射升空,这标志中国实施绕月探测工程迈出重要一步。其任务之一是开展月面的微波辐射探测,估算月壤中3He的分布和资源量。以下关于3He的说法正确的是  (    )

A.是4He 的同素异形体  B.比4He 少一个电子

C.是4He 的同位素    D.比4He少一个质子

试题详情

15.(10分)有CuO和木炭粉的混合物4.24 g,在高温条件下充分反应后,剩余固体混合物呈红色,质量为3.36 g;若反应产生的气体能全部被过量的澄清石灰水吸收,得沉淀2 g,试通过计算指出所得固体产物的组成及质量分数。

试题详情

14.(8分)为测定一种复合氧化物型的磁性粉末材料的组成,称取12.52 g样品,将其全部溶于过量稀硝酸后,配成100 mL溶液。取其一半,加入过量K2SO4溶液,生成白色沉淀,经过滤、洗涤、烘干后得4.66 g固体。在余下的50 mL溶液中加入少许KSCN溶液,显红色;如果加入过量NaOH溶液,则生成红褐色沉淀,将沉淀过滤、洗涤、灼烧后得3.20 g固体。

(1)计算磁性粉末材料中氧元素的质量分数。 

(2)确定该材料的化学式。       

试题详情

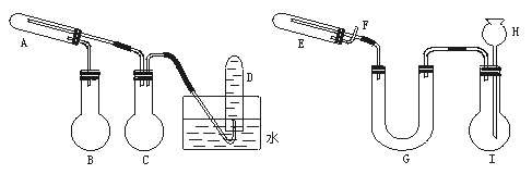
13.(12分)下图是一个实验示意图,方框表示有关的仪器,箭头表示液体或气体的流向

图中A是液体,B、C是固体。A与B反应后产生的气体经过C,得到纯气体X。X通过灼热CuO,CuO转化为Cu。气体再通过浓H2SO4,最后得到纯气体Y,Y是对环境没有污染的气体,大量排放也没有危险。 

为进行以上实验,请从下列试剂范围内选择合适的A、B和C:浓硫酸、稀硫酸、浓硝酸、稀硝酸、浓盐酸、稀盐酸、锌粒、浓NaOH溶液、大理石、碱石灰、NH4Cl固体。 

(1)A是       ,B是       ,C是       ,X是      

(2)写出A和B,X和CuO反应的化学方程式                  

试题详情

12.(12分)(1996年全国高考题)在一定条件下用普通铁粉和水蒸气反应,可以得到铁的氧化物。该氧化物又可以经过此反应的逆反应,生成颗粒很细的铁粉。这种铁粉具有很高的反应活性,在空气中受撞击或受热时会燃烧,所以俗称“引火铁”。请分别用图中示意的两套仪器装置,制取上述铁的氧化物和“引火铁”。实验中必须使用普通铁粉和6 mol·L1盐酸,其他试剂自选(装置中必要的铁架台、铁夹、铁圈、石棉网、加热设备等在图中均已略去)。

填写下列空白: 

(1)实验进行时试管A中应加入的试剂是                 

烧瓶B的作用是                            

烧瓶C的作用是                            

在试管D中收集得到的是                         

(2)实验时,U型管G中应加入的试剂是              ;长颈漏斗H中应加入             

(3)两套装置中,在实验时需要加热的仪器是(填该仪器对应的字母)             

(4)烧瓶Ⅰ中发生的反应有时要加入少量硫酸铜溶液,其目的是               

(5)试管E中发生反应的化学方程式是             

(6)为了安全,在E管中的反应发生前,在F出口处必须              ;E管中的反应开始后,在F出口处应             

试题详情

11.(8分)制FeO常用下法: 

FeC2O4FeO+CO↑+CO2↑ 

试说明不采用FeCO3加热分解制FeO而用此法制FeO的原因。 

试题详情

10.质量相等的CaO2和CaO两份样品,前者与后者所含氯元素的质量比是 

A.2∶1                        B.7∶9 

C.14∶9                       D.9∶7 

试题详情

9.下列叙述正确的是 

A.含金属元素的离子不一定是阳离子 

B.在氧化还原反应中,非金属单质一定是氧化剂 

C.某元素从化合态变为游离态时,该元素一定被还原 

D.金属阳离子被还原不一定得到金属单质 

试题详情

8.我国的稀土矿含量丰富,稀土元素可用RE表示。在提纯过程中可以向稀土元素的硫酸盐溶液中加入粉状Na2SO4,使稀土元素转化为沉淀,反应为: 

RE2(SO4)3+Na2SO4+xH2ORE2(SO4)3·Na2SO4·xH2O(x=1,2)下列有关叙述正确的是

A.该反应一定在强碱溶液中进行 

B.产生沉淀的反应为复分解反应 

C.反应生成的沉淀属于复盐 

D.产生沉淀的变化属于化学变化 

试题详情


同步练习册答案