0  297203  297211  297217  297221  297227  297229  297233  297239  297241  297247  297253  297257  297259  297263  297269  297271  297277  297281  297283  297287  297289  297293  297295  297297  297298  297299  297301  297302  297303  297305  297307  297311  297313  297317  297319  297323  297329  297331  297337  297341  297343  297347  297353  297359  297361  297367  297371  297373  297379  297383  297389  297397  447090 

5.图示月份,下列河流中最有可能处于枯水期的是(   )

A.巴拉那河   B.刚果河   C.湄公河    D.莱茵河

试题详情

4.图中②气压带或风带的气流运动方向和性质分别为(   )

A.下沉  干燥     

B.上升  湿润

C.由高纬流向低纬   干燥 

D.由低纬流向高纬   湿润

试题详情

3. 亚洲分布最广的气候类型是(   )

A.温带大陆性气候         B.温带季风气候

C.亚热带季风气候         D.热带季风气候

读右图,回答第4-5题。

试题详情

2.受“亚洲褐云”遮蔽的地区可能出现的现象是(   )

①日照减少  ②大气削弱作用减弱  ③低层大气温度升高  ④大气逆辐射作用减弱  ⑤受其影响地区一定多雨  ⑥会损害呼吸系统

A.①③⑥   B.②④⑤    C.①④⑤     D.③⑤⑥

试题详情

1.下列哪个大洲既位于北半球又位于西半球(   )

A.亚洲     B.非洲     C.北美洲     D.南美洲

20世纪90年代,人们在南亚上空14千米处发现了一片3千米厚的褐色云层,这一褐色云层被称为“亚洲褐云”,由灰尘、煤烟、酸性及其他有害悬浮粒子组成。完成第2题。

试题详情

5.(18分)现提供以下器材:

    电流表G(满偏电流100μA,内阻100Ω)

    电流表A(量程10mA,内阻40Ω)

   

    滑动变阻器      (最大电阻值100Ω)

   

    待测电阻       (约300Ω)

   

    直流电源       (电动势6V,内阻为几欧姆)

      各种已知阻值的电阻

    开关

    导线若干

  (1)现需要将电流G改装成一个量程为3V的电压表,需要选用的电阻阻值为   

  (2)现要求用改装后的电压表(用符号V表示)和电流表A测量待测电阻Rx

(a)在下面的虚线框中画出电路图。

  (b)按电路图在下面的实物图中画出连接导线。

  (3)(a)若不能提供电流表A,但还可以提供一块与G完全一样的电流表。一位同学将

     其改装成量程为10mA的电流表A′,改装后仍按原电路连接,则使用改装表A′

     与使用电流表A比较滑动变阻器滑片的移动范围将      。(填“变大”,“变

     小”或“不变”)

    (b)若使用改装的电流表A′进行测量,为了减小误差,电流表 A′应   

      (填“内接”或“外接”)

试题详情

4.(18分)

    (1)图1中螺旋测微器的读数为             

   

  (2)原始的电话机将听筒和话筒串联成一个电路,当自己对着话筒讲话时,会从话筒中听到自己的声音,导致听觉疲劳而影响通话。现代的电话将听筒电路与话筒电路分开,改进的电路原理示意图如图2所示,图2中线圈Ⅰ与线圈Ⅱ匝数相等,R0=1.2kΩ,R=3.6kΩ,Rx为可变电阻。当Rx调到某一值时,从听筒中就听不到话筒传出的声音了,这时Rx=    kΩ。

  (3)在测量电阻的实验中,提供的器材有:3V稳压电源E、滑线变阻器R、电压表V、电流表A、待测电阻Rx,以及开关S、导线等。要求:①电流表内接;②调节滑线变阻器可使电压表的示数在0V~3V间变化。

     在实验中,有的同学连成图3、图4所示的电路,其中a, b, c,…,k是表示接线柱的字母。请将图3、图4中接线错误(用导线两端接线柱的字母表示)、引起的后果、改正的方法(改接、撤消或增添),分别填在图下面相应的表格中。

接线错误
引起的后果
改正的方法
 
 
 
 


 

 
 
接线错误
引起的后果
改正的方法
 
 
 
 
 
 
 

试题详情

3.(18分)在验证机械能守恒定律的实验中,质量为m的重锤从高处由静止开始落下,重锤上拖着的纸带通过打点计时器打出一系列的点,对纸带上的点的痕迹进行测量,就可验证机械能守恒定律。

    ①纸还上记录了                     

    ②如图所示,选取纸带上打出的连续五个点A、B、C、D、E,测出A点距起始点O的距离为so,点A、C间的距离为s1,点C、E间的距离为s2,使用的交流电的频率为f,则C点的速度为     ,打点计时器在打C点时重锤的动能为     ,打点计时器在打O点和C点的这段时间内重锤的重力势能减少量为     。利用这个装置也可以测量重锤下落的加速度,则加速度a的表达式为a=            

 

    ③在验证机械能守恒定律的实验中发现,重锤减小的重力势能总是约大于重锤增加的动能,其原因主要是因为在重锤带着纸带下落过程中存在着阻力作用,若已知当地重力加速的值为g,用第②小题给出的已知量表示重锤在下落过程中受到的平均阻力大小为F=   

试题详情

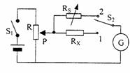
1.(17分)在用替代法测电阻的实验中,测量电路如右图所示,图中R是滑动变阻器,Rs

        是电阻箱,Rx是待测高值电阻,S2是单刀双掷开关,G是电流表。

      ①按电路原理图将如下图(图中已连好4根导线)

    所示的器材连成测量电路。

    ②实验按以下步骤进行,将正确答案填在题中的横线上。

    A.将滑动片P调至电路图中滑动变阻器的最下端,将电

阻箱Rs调至最大,闭合开关S1,将开关S2拨向位置

“1”,调节P的位置,使电流表指示某一合适的刻度IG

    B.再将开关S2拨向位置“2”,保持      位置不变,调节      ,使电流表

指示的刻度仍为IG

        假设步骤B中使电流表指针指示的刻度为IG时电阻箱的阻值为R0,则

Rx=         

   

  2.(16分)一同学利用如图a所示的电路测定定值电阻

R0、电源的电动势E和内电阻r。表格一和表格二是

当滑动变阻器的滑动触头P向某一方向移动时依次

测得的实验数据表。

表格一

电压表读数/V
0.19
0.41
0.62
0.79
1.00
电流表读数/A
0.10
0.20
0.30
0.40
0.50

表格二

电压表读数/V
1.40
1.31
1.22
1.08
1.00
电流表读数/A
0.10
0.20
0.30
0.40
0.50

  (1)用画线代表导线,按图a将图b中的实行元件连接成实验电路(注意电表的量程)

   

  (2)用实验数据分别作出R0的U-I图象以及电源的U-I图象。

   

     R0的U-I图象           电源的U-I图象

  (3)根据U-I图象,可以求出定值电阻R0=    Ω,电源电动势E=    V,

     内电阻r=     Ω。

试题详情


同步练习册答案