题目列表(包括答案和解析)

 0  31333  31341  31347  31351  31357  31359  31363  31369  31371  31377  31383  31387  31389  31393  31399  31401  31407  31411  31413  31417  31419  31423  31425  31427  31428  31429  31431  31432  31433  31435  31437  31441  31443  31447  31449  31453  31459  31461  31467  31471  31473  31477  31483  31489  31491  31497  31501  31503  31509  31513  31519  31527  447348 

3.坏血病患者应该多吃的食物是

A.水果和绿色蔬菜  B.鱼肉和猪肉  C.鸡蛋和鸭蛋  D.糙米和肝脏

试题详情

2.对于药品的使用和作用,下列说法正确的是

A.OTC表示处方药,R表示非处方药

B.使用青霉素时,直接静脉注射可以不用进行皮肤敏感试验

C.虽然药物能治病,但大部份药物有毒副作用

D.麻黄碱是止咳平喘的天然药物,故运动员可放心大量使用

试题详情

1.下列不属于天然高分子化合物的是

A.淀粉    B.油脂     C.纤维素    D.蛋白质

试题详情

25.如图所示,通电5 min后,第③极增重2.16 g,同时在A池中收集到标准状况下的气体

224 mL,设A池中原混合液的体积为200 mL,求通电前A池中原混合溶液Cu2+的浓度。

试题详情

24. (4分)  (1)        mol·L-1.

(2)达到滴定终点的标志是                             

(3)           

试题详情

23、(5分)(1)                   

(2)正极的电极反应式是            。负极的电极反应式是           。

(3)①锌片上发生的电极反应是              。

          L

试题详情

22.(15分)(1)用惰性电极电解下列水溶液,请写出电极反应式及总反应式:

AgNO3: 阴极:                  阳极:                  

总反应:                   

NaCl:  阴极:                   阳极:                  

总反应:                        

 (2) 用Cu电极电解下列水溶液,请写出电极反应式及总反应式:

Na2SO4:阴极:                   阳极:                  

总反应:                         

H2SO4:阴极:                   阳极:                

总反应:                        

   (3) 用Cu电极做阴极,C电极做阳极电解CuSO4水溶液,请写出电极反应式及总反应式:

阴极:                   阳极:                

总反应:                       

试题详情

21.(8分)(1)     性,常温时的pH    7

原因是:                           

(2)氯化铝水溶液呈     性 ,原因是________________________________ 。

把AlCl3溶液蒸干,灼烧,最后得到的主要固体产物是             。

(3)          。

试题详情

24.(4分)用酸式滴定管准确移取25.00mL某未知浓度的盐酸溶于一洁净的锥形瓶中,然后用0.20mol·L -1的氢氧化钠溶液(指示剂为酚酞).滴定结果如下:

 
NaOH起始读数
NaOH终点读数
第一次
    0.30mL
   18.60mL
第二次
    0.10mL
   18.00mL

  (1)根据以上数据可以计算出盐酸的物质的量浓度为       mol·L-1.

(2)达到滴定终点的标志是                             

(3)以下操作造成测定结果偏高的原因可能是          

   A. 配制标准溶液的氢氧化钠中混有Na2CO3杂质

   B. 滴定终点读数时,俯视滴定管的刻度,其它操作均正确

   C. 盛装未知液的锥形瓶用蒸馏水洗过,未用待测液润洗

D. 滴定到终点读数时发现滴定管尖嘴处悬挂一滴溶液

E. 未用标准液润洗碱式滴定管

班级
 
姓名
 
学号
 

开原高中2010年高二上学期第一次考试化学答案卷

试题详情

23、(5分)(1)肼(N2H4)又称联氨,是一种可燃性的液体,可用作火箭燃料。已知在101kPa时,32.0gN2H4在氧气中完全燃烧生成氮气,放出热量624KJ(25℃时),N2H4完全燃烧反应的热化学方程式是                   

(2)肼-空气燃料电池是一种碱性燃料电池,电解质溶液是20%~30%的KOH溶液。

肼-空气燃料电池放电时:

正极的电极反应式是                 

负极的电极反应式是                   。

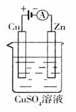
(3)右图是一个电化学过程示意图。

①锌片上发生的电极反应是              。

②假设使用肼-空气燃料电池作为本过程中的电源,铜片的质量变化128g,则肼一空气燃料电池理论上消耗标标准状况下的空气          L(假设空气中氧气体积含量为20%)

试题详情


同步练习册答案