0  160151  160159  160165  160169  160175  160177  160181  160187  160189  160195  160201  160205  160207  160211  160217  160219  160225  160229  160231  160235  160237  160241  160243  160245  160246  160247  160249  160250  160251  160253  160255  160259  160261  160265  160267  160271  160277  160279  160285  160289  160291  160295  160301  160307  160309  160315  160319  160321  160327  160331  160337  160345  447090 

16.如图,在棱长为1的正方体中,AP=BQ=b(0<b<1),截面PQEF,截面PQGH

(Ⅰ)证明:平面PQEF和平面PQGH互相垂直;

(Ⅱ)证明:截面PQEF和截面PQGH面积之和是定值,并求出这个值;

(Ⅲ)若与平面PQEF所成的角为,求与平面PQGH所成角的正弦值.

试题详情

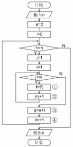
15.如图所示框图所表示的算法,在横线处填入适当答案.

(1)若输入,则输出________;

(2)若在(1)的前提下调换①、②顺序,则输出________;

(3)若在(1)、(2)的前提下调换③、④顺序,则输出_____.

试题详情

14.已知所在的平面互相垂直,且

求:(1)直线与平面所成的角;

  (2)二面角的余弦值.

试题详情

13.已知正四棱柱,点的中点,点的中点,

(1)(理科做)证明:的公垂线;

   (文科做)求证:

(2)求点到平面的距离.

试题详情

12.在棱长为的正方体中,的中点,上的任一点,上任意两点,且的长为定值,则下面四个值为定值的是_____________.

①直线与平面所成的角     

②点到平面的距离

③二面角的大小

④三棱锥的体积

试题详情

10.平行六面体中,,,,, ,(理科)则__________.(文科)则到平面的距离是______________.

试题详情

9.化成十进制数为___________.

试题详情

8.如图,,,,,的距离分别为所成的角分别为内的射影分别为,若,则(   )

A.              B.

C.              D.

试题详情

7.下面给出的程序,若输入,则输出结果为(   )

A.               B.          C.           D.

INPUT  “x=” ; x

IF  x>6  THEN

    y=x+1

ELSE

    IF  x<3  THEN

     y=x^2+1

    ELSE

     y=2*x-1

    END  IF

END  IF

PRINT  y

END

试题详情


同步练习册答案