0  174070  174078  174084  174088  174094  174096  174100  174106  174108  174114  174120  174124  174126  174130  174136  174138  174144  174148  174150  174154  174156  174160  174162  174164  174165  174166  174168  174169  174170  174172  174174  174178  174180  174184  174186  174190  174196  174198  174204  174208  174210  174214  174220  174226  174228  174234  174238  174240  174246  174250  174256  174264  447090 

1.化学与生产、生活、社会密切相关。下列有关说法中不正确的是            (   )

    A.2008年诺贝尔化学奖被授予研究“绿色荧光蛋白质”的美籍华裔科学家钱永健等人。蛋白质都是由氨基酸形成的不可降解的高分子化合物,其水溶液有丁达尔效应。

    B.神七宇航员所穿航天服是由我国自行研制的新型“连续纤维增韧”航空材料做成,其主要成分是由碳化硅、陶瓷和碳纤维复合而成的,它是一种新型无机非金属材料。

   C.三鹿毒奶粉中的三聚氰胺是一种“伪蛋白”,其分子结构如下图所示,其化学式为C3H6N6

    D.2008年北京奥运会开幕式上的“脚印”等焰火让全世界为之欢呼、倾倒,这主要是利用了化学中“焰色反应”的有关知识。

试题详情

22.(共5分)甲醇可以与水蒸气反应生成氢气,反应方程式如下:

   CH3OH(g)+H2O(g)CO2(g)+3H2(g);△H>0

  (1)一定条件下,向体积为2L的恒容器密闭容器中充入1molCH3OH(g)和3molH2O(g),20s后,测得混合气体的压强是反应前的1.2倍,则用甲醇表示该反应的速率为  

  (2)判断(1)中可逆反应达到平衡状态的依据是(填序号)      

     ①v(CH3OH)=v(CO2)   

②混合气体的密度不变

③混合气体的平均相对分子质量不变

④CH3OH、H2O、CO2、H2的浓度都不再发生变化

  (3)下图中P是可自由平行滑动的活塞,关闭K,在相同温度时,向A容器中充入1molCH2OH(g)和2molH2O(g),向B容器中充入1.2molCH3OH(g)和2.4molH2O(g),两容器分别发生上述反应。已知起始时容器A和B的体积均为aL。试回答:

①反应达到平衡时容器B的体积为1.5aL,容器B中CH3OH转化率为    A、B两容器中H2O(g)的体积百分含量的大小关系为:B(填“>”、“<”、“=”)   A。

②若打开K,一段时间后重新达到平衡,容器B的体积为    L(连通管中气体体积忽略不计,且不考虑温度的影响)。

试题详情

21.(共9分)某链烃A的分子式为C6H12,已知其分子中所有的碳原子共平面,该分子的一氯取代物只有一种,回答下列问题:

  (1)A的结构简式为          ;下列物质与A以任意比例混合,若总物质的量一定,充分燃烧消耗氧气的量相等的是(填序号)      

     a. C7H12O2   b. C6H12    c. C6H12O   d. C7H14O3

  (2)A与Br的CCl4溶液反应生成B,B与NaOH的醉溶液共热可得到D,D分子中无溴原子。请写出由B制备D的化学反应方程式:            

  (3)B与足量NaOH水溶液完全反应,生成有机物E。

     ①E可能发生的反应类型有(填序号)     

     a. 取代反应   b. 消去反应   c. 加聚反应   d. 还原反应

②E与乙二醇的关系是(填序号)    

a. 同分异构体   b. 同一物质   c. 同系物    d. 同素异形体

  (4)E与乙二酸在一定条件下生成分子式为C8H12O4的有机物,请写出该反应的化学方程式                          

  (5)已知:(-R为烃基),请写出E在酸性条件下生成G的化学反应方程式:               。与G分子相同,能发生银镜反应,且结构中有两个甲基的异构体共有    种。

试题详情

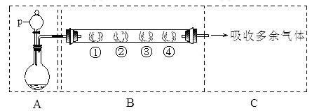
20.(共11分)用如下图所示装置可以完成一系列实验(图中夹持装置已略去)

   请回答下列问题:

   I.(1)仪器p的名称是       ,若用装置A由浓硫酸和亚硫酸钠固体制取SO2气体,并通过装置B完成表中设计实验,请填写表中空白:

B中棉花的位置




所蘸试剂
石蕊试液
品红溶液
淀粉和碘水混合液
氢硫酸
现象
 
 
褪色
浅黄色
体现SO2的性质
水溶液显酸性
漂白性
 
氧化性

  (2)写出③中反应的离子方程式:                     

   II.若用装置A由浓硫酸和浓盐酸混合制取HCl气体,装置B中的四处棉花依次做了如下处理:①包有某固体物质、②蘸有KI溶液、③蘸有石蕊溶液、④蘸有浓NaOH溶液。

  (1)仪器p中盛装试剂的化学式为               

  (2)反应开始后,观察到②处有棕黄色物质产生,写出②处发生反应的离子方程式:

                                       

     ①处包有的某固体物质可能是(填序号)     

     a. MnO2    b. KMnO­4    c. KCl    d. Cu

  (3)在实验过程中,在③处能观察到               

  (4)反应较长时间后,②处有棕黄色褪去,生成无色的IO3-,写出该反应的离子方程式:

                                        

试题详情

19.(共8分)蛇纹石矿可以看作由MgO、Fe2O3、Al2O3和SiO2组成。某实验小组设计如下流程欲分别制得单质Al、Fe、Mg和Si。

   有关氢氧化物沉淀的pH见下表:

金属阳离子
氢氧化物开始沉淀时的pH
氢氧化物完全沉淀的pH
Fe3+
1.9
3.2
Mg2+
9.4
11.6

   请回答下列问题:

  (1)滤液A中含有的阳离子有                    

  (2)操作②中涉及的化学方程式为                   

     操作④中生成沉淀G的离子方程式为                 

  (3)操作⑤中调节pH到5~6时,可以用到的试剂(填序号)      

     a. NaOH溶液   b. 氨水   c. MgO   d. Mg(OH)2

  (4)从滤液H制取金属Mg的流程如下:

   流程中由MgCl2冶炼Mg的方法是     。在干燥的HCl气流中加热MgCl2·6H2O制取无水氯化镁的原因是            

试题详情

18.(共9分)有关元素X、Y、Z、D、E的信息如下

元素
有关信息
X
元素主要化合价为-2,原子半径为0.074nm
Y
所在主族序数与所在周期序数之差为4
Z
原子半径为0.102nm,其单质在X的单质中燃烧,发出明亮的蓝紫色火焰
D
最高价氧化物对应的水化物,能电离出电子数相等的阴、阳离子
E
单质是生活中常见金属,其制品在潮湿空气中易被腐蚀或损坏

   请回答下列问题:

  (1)X的一种氢化物可用于实验室制取X的单质,其反应的化学方程式为     

  (2)E元素与Y元素可形成EY2和EY3两种化合物,下列说法正确的是(填序号)  

①保存EY2溶液时,需向溶液中加入少量E单质

②EY2只能通过置换反应生成,EY3只能通过化合反应生成

③铜片、碳棒和EY3溶液组成原电池,电子由铜片沿导线流向碳棒

④向淀粉碘化钾溶液和苯酚溶液中分别滴加几滴EY3的浓溶液,原无色溶液都变成紫色

  (3)用化学符号表示D2Z的水溶液中各粒子的浓度关系,如c(Z2-)=       

  (4)将一定量的Y单质通入一定浓度的苛性钾溶液,两者恰好完全反应(已知反应过程放热),生成物中有三种含Y元素的离子,其中两种离子的物质的量(n)与反应时间(t)的变化示意图如下图所示。该苛性钾溶液中KOH的质量是      ,该反应中转移电子的物质的量是     

试题详情

17.(共7分)甲、乙、丙、丁、戊均为中学化学常见的单质或化合物,且均含有同一种元素R,在一定条件下其转化关系如下图所示。

  (1)若R为一种非金属元素,且上述五种物质含有不同的官能团,丁为带水果香味的液体,乙和丁均能在碱性条件下生成甲,戊是一种无色气体,相同条件下相对H2的密度为14。写出由甲生成戊的化学方程式             ,欲检验乙中官能团,所选用的试剂为(填序号)     

①NaOH溶液   ②Br2的CCl4溶液  ③银氨溶液   ④AgNO3溶液    ⑤稀HNO3

  (2)若R为另一种非金属元素,甲与丙为常见大气污染物,且甲与丙的相对分子质量相差16。丁为空气的主要成分之一。则丁的电子式为        ,乙的空间构型为       ,戊的稀溶液能跟过量铁粉反应,其离子方程式为    

  (3)若R为一种金属元素,甲溶液的pH小于7,乙由两种元素组成,单质丁在一定条件下可生成戊。甲与戊两种溶液混合能生成沉淀丙,其离子方程式为     ,若镁粉中混有少量的丁,除去丁的离子方程式为            

试题详情

16.(共6分)请根据工业制硫酸的有关知识回答下列问题:

  (1)黄铁矿在沸腾炉中反应的化学方程式为           

  (2)在硫酸工业生产中,为了有利于SO2的转化,且能充分利用热能,采用了中间有热交换器的接触室(见下图)。按此密闭体系中气体的流向,则在R处流出的气体中除N2外的主要组成为(填序号)

        A.SO2              B.SO2、SO4            C.SO2、O2              D.SO3、O2、SO2

  (3)接触法制硫酸过程中:根据下表中的数据判断下列图像正确的是(填序号)


P1
P2
400℃
99.6
99.7
500℃
96.9
97.8

  (4)下图是工业制硫酸的尾气的综合利用,气体M回收后可进入接触室循环生产,请根据图示判断X是(填名称)       ,写出Y与硫酸反应生成M的化学方程式:                        

试题详情

15.有9.7gCu和Zn的合金与足量的稀HNO3反应,还原产物只有NO气体,其体积在标准状况下为22.4L。将溶液稀释为1L,测得溶液的pH=1,此时溶液中NO3-的浓度为(   )

    A.0.3mol/L       B.0.4mol/L       C.0.5mol/L       D.0.6mol/L

第Ⅱ卷(非选择题,共55分)

试题详情

14.某温度时,用惰性电极电解硝酸钠的不饱和溶液。若两极板收集到气体总体积为22.4mL时,剩余溶液恢复至原温度,析出溶质mg;若两极收集到气体总体积为33.6mL时,剩余溶液恢复至原温度,析出溶质ng。则硝酸钠在该温度时的溶解度是(气体体积均已折合为标准状况下的体积)                        (   )

    A.                 B.

    C.                 D.

试题详情


同步练习册答案